样品
成果详情
| 项目简介 | |||||
|---|---|---|---|---|---|
| 技术简介: | |||||
| 专利类型: | 实用新型 | 专利申请号: | CN202321216869.0 | 公开号: | CN220450174U |
| 专利权人: | 南方医科大学南方医院 | 发明设计人: | 龚英;张栩琳;何宗忠 | ||
| 所属领域: | |||||
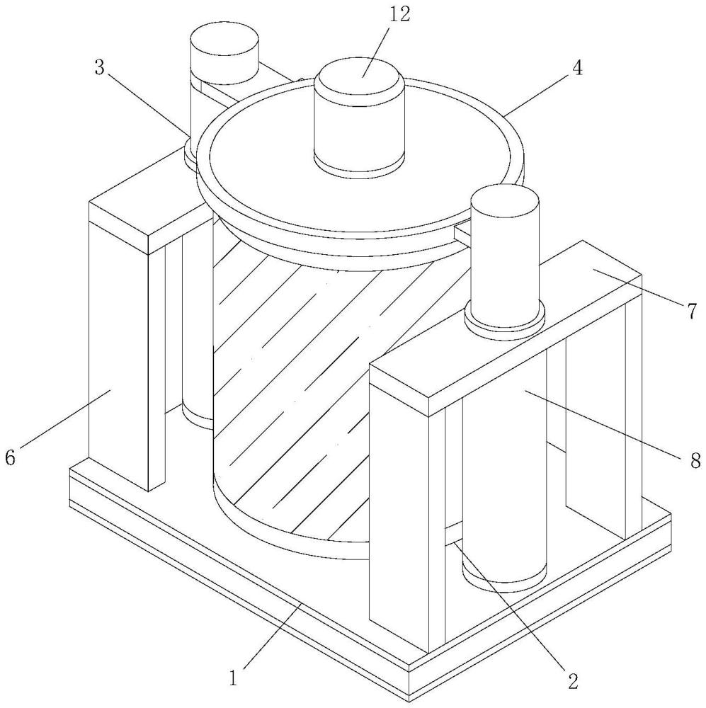
| 摘要: | 本实用新型公开了一种细胞组织搅拌装置,旨在解决现有技术下搅拌装置无法对其内壁和底部起到抗粘连防沉淀搅拌效果的技术问题。该搅拌装置包括装置固定底座、安装在装置固定底座上的透明搅拌罐体、连接于装置固定底座的两侧升降调节组件,两侧升降调节组件外侧设置有上端密封盖板,上端密封盖板外侧设置有双重防护搅拌组件,两侧升降调节组件内部包括有竖向设置的外部支撑架板,外部支撑架板上端固定连接有防护限位上板,两侧升降调节组件内部包括有安装在装置固定底座上端的液压缸。该搅拌装置通过双重防护搅拌组件能够根据搅拌的需要对透明搅拌罐体的内壁和底部起到抗粘连防沉淀搅拌的效果。 | ||||
| 补充信息 | |||||
| 转让方式: | 成熟度: | 预估价值: | |||
| 市场前景: | |||||