样品
成果详情
| 项目简介 | |||||
|---|---|---|---|---|---|
| 技术简介: | |||||
| 专利类型: | 实用新型 | 专利申请号: | CN202220910648.2 | 公开号: | CN218305401U |
| 专利权人: | 南方医科大学珠江医院 | 发明设计人: | 文倩;刘芳;高升 | ||
| 所属领域: | |||||
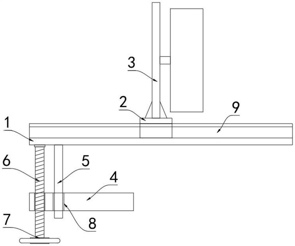
| 摘要: | 本实用新型公开了一种多功能足部枕,包括支撑板,所述支撑板的上端横向贯穿设有T型槽,所述T型槽内滑动连接有工型块,所述工型块的上端固定连接有预防足下垂装置,所述工型块与支撑板之间设有限位机构,所述支撑板的底部设有夹持板,所述夹持板与支撑板之间设有驱动机构,所述限位机构包括贯穿工型块上端并与其滑动连接的固定销,所述支撑板的上端设有多个限位槽。本实用新型不仅可以将预防足下垂装置稳定的固定在床上,操作简单且快捷,且可以适用于不同身高的患者,实用性好。 | ||||
| 补充信息 | |||||
| 转让方式: | 成熟度: | 预估价值: | |||
| 市场前景: | |||||