样品
成果详情
| 项目简介 | |||||
|---|---|---|---|---|---|
| 技术简介: | |||||
| 专利类型: | 实用新型 | 专利申请号: | CN202120753397.7 | 公开号: | CN215081550U | 
| 专利权人: | 南方医科大学南方医院 | 发明设计人: | 苏青 | ||
| 所属领域: | |||||
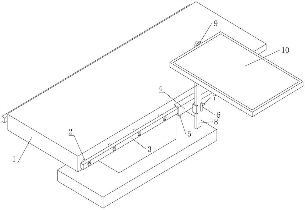
| 摘要: | 本实用新型公开了一种上肢手术操作台,该操作台通过在手术床的边缘安装了边沿导轨,滑块可沿着边沿导轨前后滑动,并通过纵向锁杆将滑块与边沿导轨的位置固定,以及在滑块上固定安装了插槽,竖杆安装在插槽并通过横向锁杆将竖杆的位置固定,以及在竖杆的上端通过连接柱与操作平台固定连接,在做上肢手术时,操作平台可以直接跟着手术床一起升降,不需要两个护士一边升床,一边再升操作平台,防止了患者手部再次受伤的可能,其次,该装置可通过松动插槽,将杆竖抽上去一点或者移下来一点,然后通过横向锁杆固定即可,使得操作平台可以垂直升降,另外,滑块还可在手术床边沿左右滑动,方便医生将操作平台调节到手术需要的位置。 | ||||
| 补充信息 | |||||
| 转让方式: | 成熟度: | 预估价值: | |||
| 市场前景: | |||||