样品
成果详情
| 项目简介 | |||||
|---|---|---|---|---|---|
| 技术简介: | |||||
| 专利类型: | 发明 | 专利申请号: | CN202210424455.0 | 公开号: | CN114984336A |
| 专利权人: | 南方医科大学珠江医院 | 发明设计人: | 刘芳;彭升;刘翠平;李萍;陈艺珠 | ||
| 所属领域: | |||||
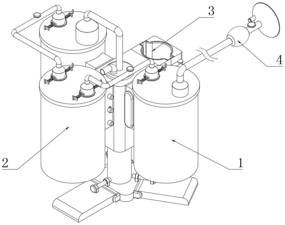
| 摘要: | 本发明公开了一种防交叉感染的引流器,固定放置桶一侧安装有中继放置桶,固定放置桶一侧安装有限制放置桶,固定密封盖顶端贯穿有卡接固定管,推动弹簧远离限位支撑垫的一端焊接有橡胶密封杆,中继导流管一端嵌入安装有止回阀,由推动弹簧带动橡胶密封杆嵌入到卡接固定管和密封套接筒之间,将固定放置桶、中继放置桶和限制放置桶之间通过中继导流管相互串联,使得在应对不同情况时可以快速的更换组合安装,便于医护人员快速的处理,保证了引流的稳定操作,从而适应不同的引流情况,通过中继导流管时由止回阀对中继导流管时进行限制,避免气流逆流导致的引流物同步逆流返回的情况出现。 | ||||
| 补充信息 | |||||
| 转让方式: | 成熟度: | 预估价值: | |||
| 市场前景: | |||||