样品
成果详情
| 项目简介 | |||||
|---|---|---|---|---|---|
| 技术简介: | |||||
| 专利类型: | 实用新型 | 专利申请号: | CN202222893057.1 | 公开号: | CN218941362U |
| 专利权人: | 南方医科大学南方医院 | 发明设计人: | 廖莹莹;林少燕;周建宏;黄新峰;黄少峰;郑枫楠 | ||
| 所属领域: | |||||
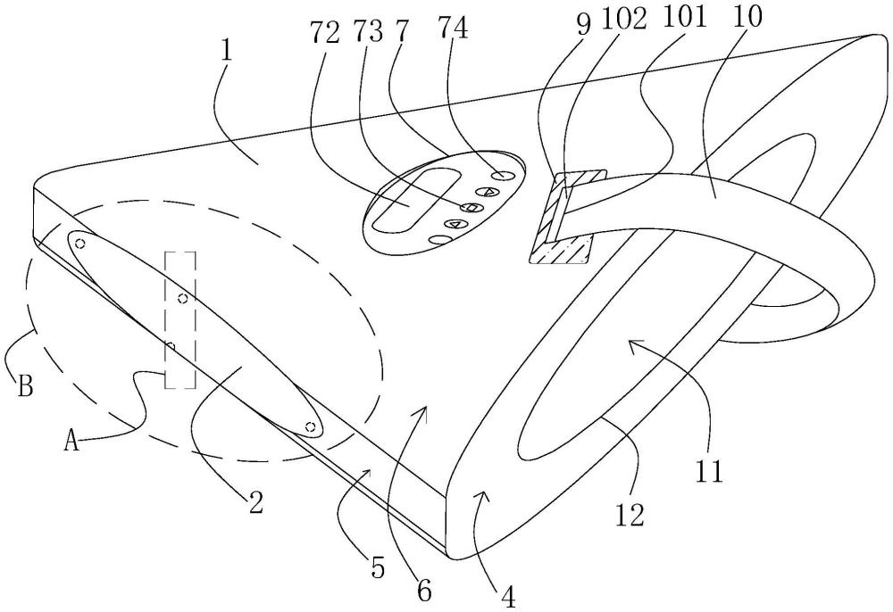
| 摘要: | 本实用新型公开了一种直角型电暖脚垫,其属于暖脚垫技术领域,包括直角型保暖垫、电暖片和温度传感器;直角型保暖垫的内部设有暖脚腔,直角型保暖垫的斜边侧面上设有连通暖脚腔的入口;多个电暖片分别连接固定于直角型保暖垫的两直角边外侧面上;直角型保暖垫的直角面上安装有控制面板,控制面板内置电源,控制面板表面设有温度显示屏和多个控制按钮;多个温度传感器设于电暖片和暖脚腔之间;温度传感器和电暖片均与控制面板电性连接,控制面板用于显示和控制暖脚腔的温度;通过对直角型保暖垫增加电暖片、温度传感器和控制面板,使得直角型保暖垫具备主动取暖功能,布置多个温度传感器使得取暖腔的温控更为精准,带来安全且舒适的取暖效果。 | ||||
| 补充信息 | |||||
| 转让方式: | 成熟度: | 预估价值: | |||
| 市场前景: | |||||