样品
成果详情
| 项目简介 | |||||
|---|---|---|---|---|---|
| 技术简介: | |||||
| 专利类型: | 发明 | 专利申请号: | CN202410730303.2 | 公开号: | CN118286020A |
| 专利权人: | 南方医科大学珠江医院 | 发明设计人: | 汪洋;黄润楸;李辉;袁成;黄楚忠 | ||
| 所属领域: | |||||
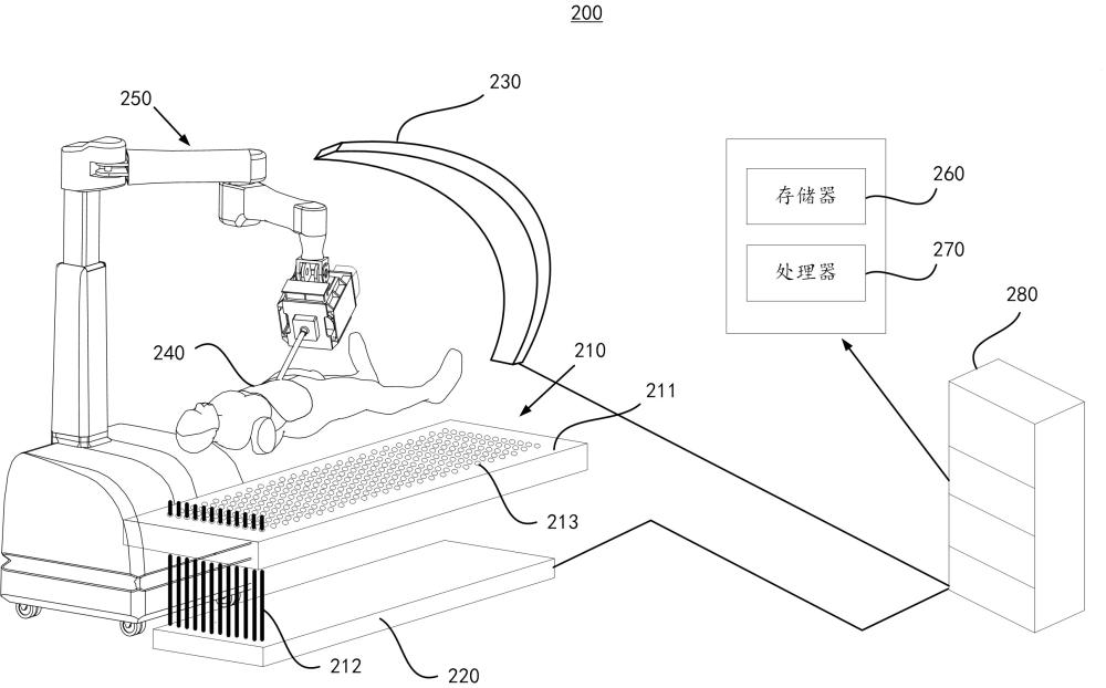
| 摘要: | 本申请公开了一种手术床系统、及对应的控制方法和存储介质,该系统包括:手术床系统的处理器通过图像采集装置获取第一参照对象运动时的第一位姿信息、以及获取第二参照对象运动时的第二位姿信息;根据第一位姿信息和第二位姿信息之间的相对位姿关系,生成框架模型的初始模型参数;根据第一位姿信息,更新初始模型参数,并基于更新的模型参数控制驱动装置,以驱动支撑杆的伸缩运动。本申请提升了手术床控制的智能化程度。 | ||||
| 补充信息 | |||||
| 转让方式: | 成熟度: | 预估价值: | |||
| 市场前景: | |||||