样品
成果详情
| 项目简介 | |||||
|---|---|---|---|---|---|
| 技术简介: | |||||
| 专利类型: | 发明 | 专利申请号: | CN202510016137.4 | 公开号: | CN119424072A |
| 专利权人: | 南方医科大学南方医院 | 发明设计人: | 陈滨;丁子初;肖扬;石昌浩 | ||
| 所属领域: | |||||
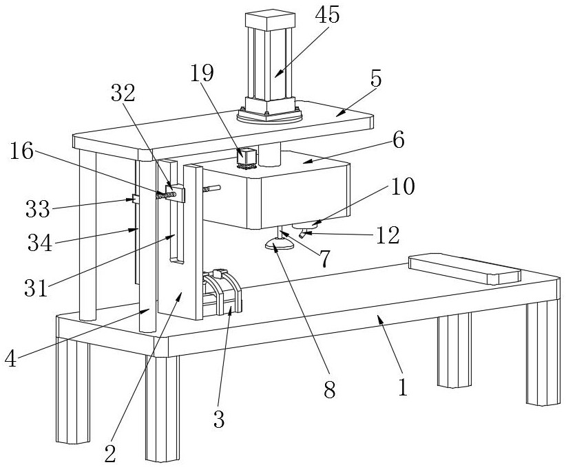
| 摘要: | 本发明涉及医疗器械技术领域,公开了一种便于提高膝关节康复效果的三维牵引装置,包括床板,所述床板的底面四边角设置有支撑腿,所述床板的顶面横向滑动连接有牵引板,且所述牵引板的右侧面下端固定安装有牵引托座,并且所述牵引托座上设置有用于腿部绑定的绑带。该便于提高膝关节康复效果的三维牵引装置能够保障在膝关节康复进行牵引的同时进行按摩,加速膝关节的康复,增加了康复方式的多样性,增加康复效果,同时能够进行加热,确保膝关节及膝关节四周的温度处于合适的康复锻炼温度区间,从而避免了寒冷季节不便于康复的弊端,从而进一步的增加了膝关节的康复效果,实现从而牵引、按摩和加热三个维度方向对膝关节康复。 | ||||
| 补充信息 | |||||
| 转让方式: | 成熟度: | 预估价值: | |||
| 市场前景: | |||||