样品
成果详情
| 项目简介 | |||||
|---|---|---|---|---|---|
| 技术简介: | |||||
| 专利类型: | 实用新型 | 专利申请号: | CN202022544949.1 | 公开号: | CN213609279U | 
| 专利权人: | 南方医科大学南方医院 | 发明设计人: | 罗冬华;张晓梅;朱丽娜;洪婧;邓逃生 | ||
| 所属领域: | |||||
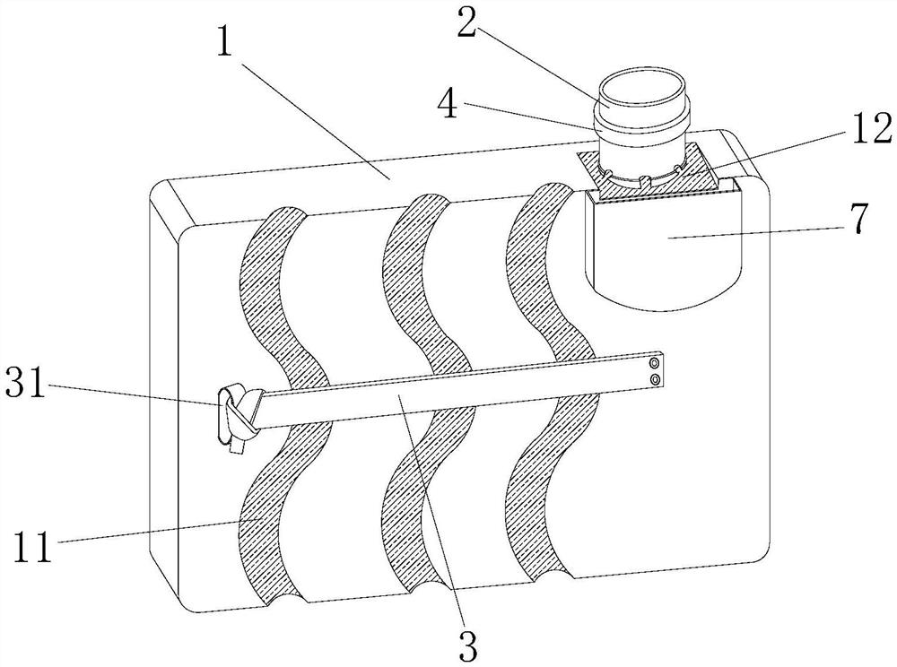
| 摘要: | 本实用新型公开了一种可调节负压连接管长度的固定装置,包括扣线板,所述扣线板背面设有至少一个固定夹,所述扣线板顶端设有用于固定负压连接管末端的套筒,所述扣线板正面纵向设有至少一个用于放置负压连接管的凹槽,所述凹槽、套筒配合形成用于放置及固定负压连接管的结构。本实用新型能够方便的收纳闲置的负压连接管,降低过往人员被拖在地上的负压连接管绊倒的风险。 | ||||
| 补充信息 | |||||
| 转让方式: | 成熟度: | 预估价值: | |||
| 市场前景: | |||||