样品
成果详情
| 项目简介 | |||||
|---|---|---|---|---|---|
| 技术简介: | |||||
| 专利类型: | 实用新型 | 专利申请号: | CN202320955058.6 | 公开号: | CN219940797U |
| 专利权人: | 南方医科大学南方医院 | 发明设计人: | 邹霄朦;蒲晓春;江茵;覃环玉;杨云;蔡丽丹 | ||
| 所属领域: | |||||
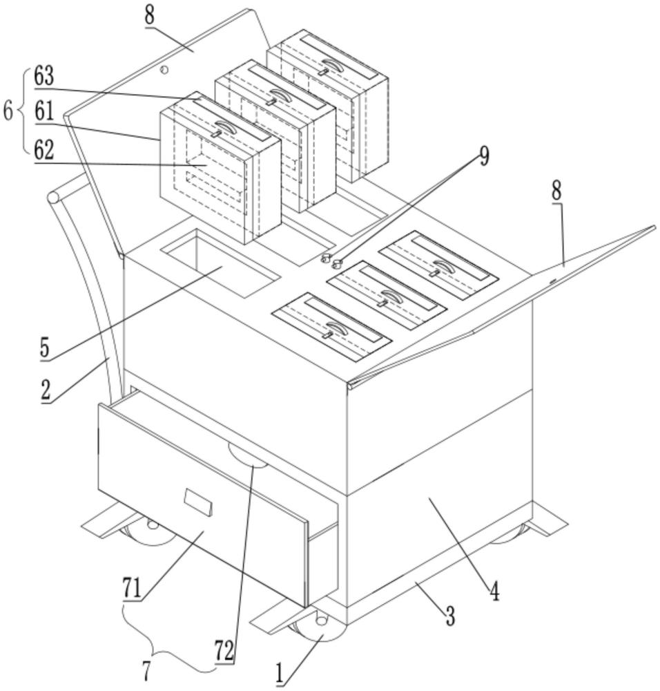
| 摘要: | 本实用新型公开了一种可移动式便携睡眠监测仪收纳车,包括带有行走轮和推拉扶手的车体;在所述车体上设有柜体,在所述柜体的顶部开设有若干个收纳腔,在每一所述收纳腔上均可拆卸设有一用于收纳相应的睡眠监测仪且在移动的过程中不易造成该睡眠监测仪损坏的手提箱结构。本实用新型具有能够分类收纳睡眠监测仪且移动携带方便以便于拿取睡眠监测仪进行睡眠监测工作、在收纳移动睡眠监测仪的过程中不易造成该睡眠监测仪损坏的优点。 | ||||
| 补充信息 | |||||
| 转让方式: | 成熟度: | 预估价值: | |||
| 市场前景: | |||||