样品
成果详情
| 项目简介 | |||||
|---|---|---|---|---|---|
| 技术简介: | |||||
| 专利类型: | 实用新型 | 专利申请号: | CN201720644715.X | 公开号: | CN207025701U |
| 专利权人: | 南方医科大学南方医院 | 发明设计人: | 郑佩庄;陈婷;胡丽萍;罗燕;王璐 | ||
| 所属领域: | |||||
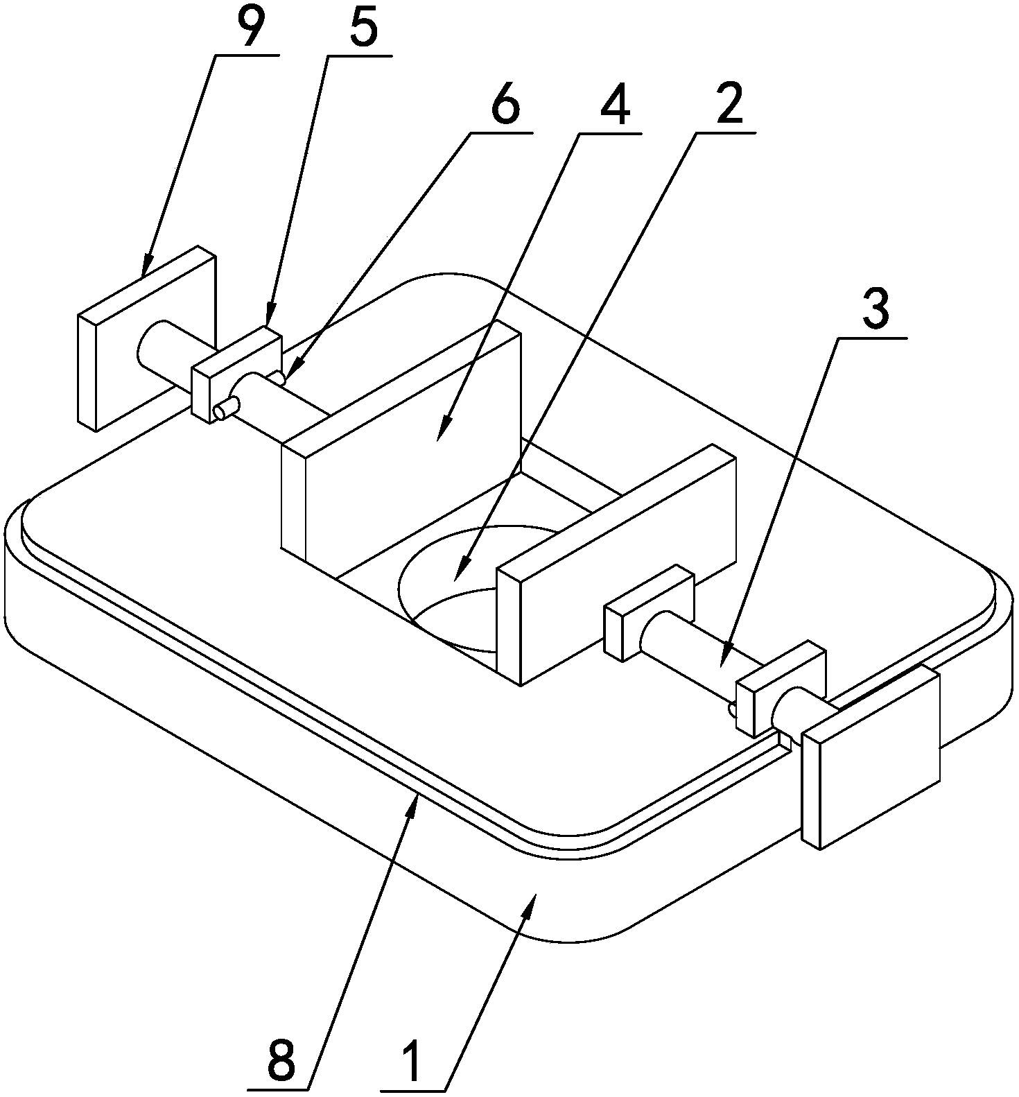
| 摘要: | 本实用新型公开了一种导管润滑器,包括基座,基座具有圆孔,圆孔的左右两侧设有可往复滑动的推杆,两推杆均在靠近圆孔的一端设有可由推杆推动而相互靠拢的挡板,两挡板在相互朝向的一面设有润滑海绵。此导管润滑器允许导管穿过圆孔,此时用手推动推杆使两润滑海绵夹持导管,另只手然后将导管边旋转边抽移,便可间接、快速、充分地润滑导管;由于两挡板的间距可调,该导管润滑器同时能处理各种型号的导管,具有良好的通用性。此实用新型用于医疗器械领域。 | ||||
| 补充信息 | |||||
| 转让方式: | 成熟度: | 预估价值: | |||
| 市场前景: | |||||