样品
成果详情
| 项目简介 | |||||
|---|---|---|---|---|---|
| 技术简介: | |||||
| 专利类型: | 实用新型 | 专利申请号: | CN202220694387.5 | 公开号: | CN217339970U | 
| 专利权人: | 南方医科大学南方医院 | 发明设计人: | 周蓉;陈建辉 | ||
| 所属领域: | |||||
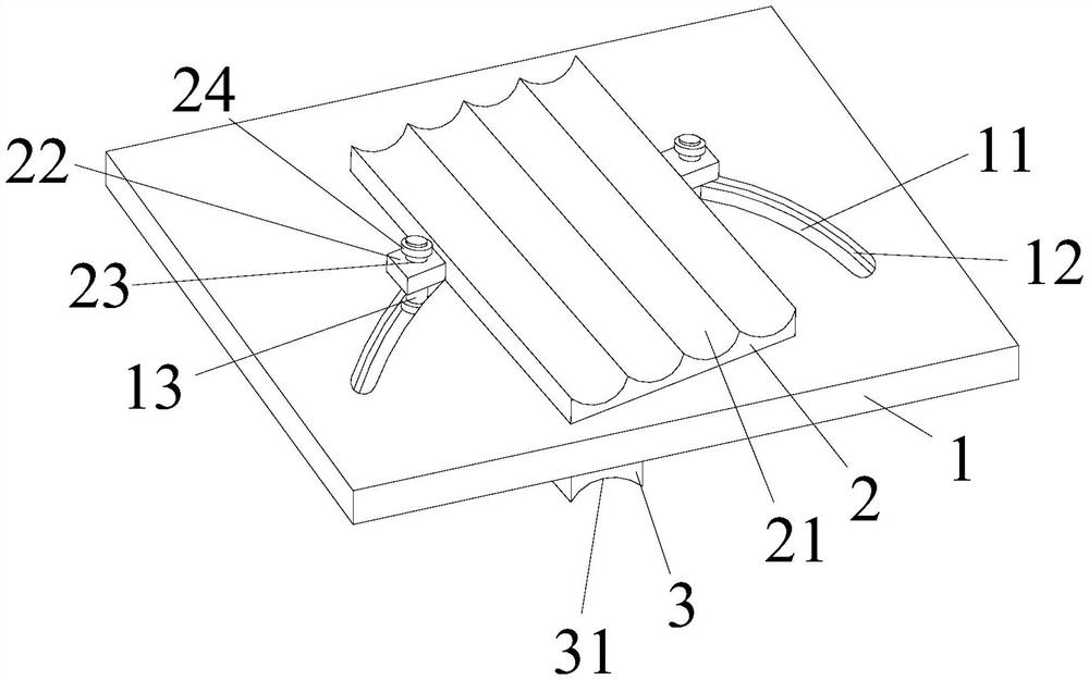
| 摘要: | 本实用新型公开了一种防治类风关手指变形功能锻炼器具,包括中间板,所述中间板的上侧安装有角度可调节朝拇指侧倾斜的上指板,中间板的下侧安装有角度可调节且朝拇指侧倾斜的下指板,上指板上表面凹陷有四个指槽,下指板的下表面凹陷有一个拇指槽。本实用新型的防治类风关手指变形功能锻炼器具,方便角度调整,便于辅助矫形锻炼尺侧偏斜畸形手。 | ||||
| 补充信息 | |||||
| 转让方式: | 成熟度: | 预估价值: | |||
| 市场前景: | |||||