样品
成果详情
| 项目简介 | |||||
|---|---|---|---|---|---|
| 技术简介: | |||||
| 专利类型: | 实用新型 | 专利申请号: | CN202223250832.8 | 公开号: | CN219071468U |
| 专利权人: | 南方医科大学南方医院 | 发明设计人: | 曾方梅;杨林;段彬 | ||
| 所属领域: | |||||
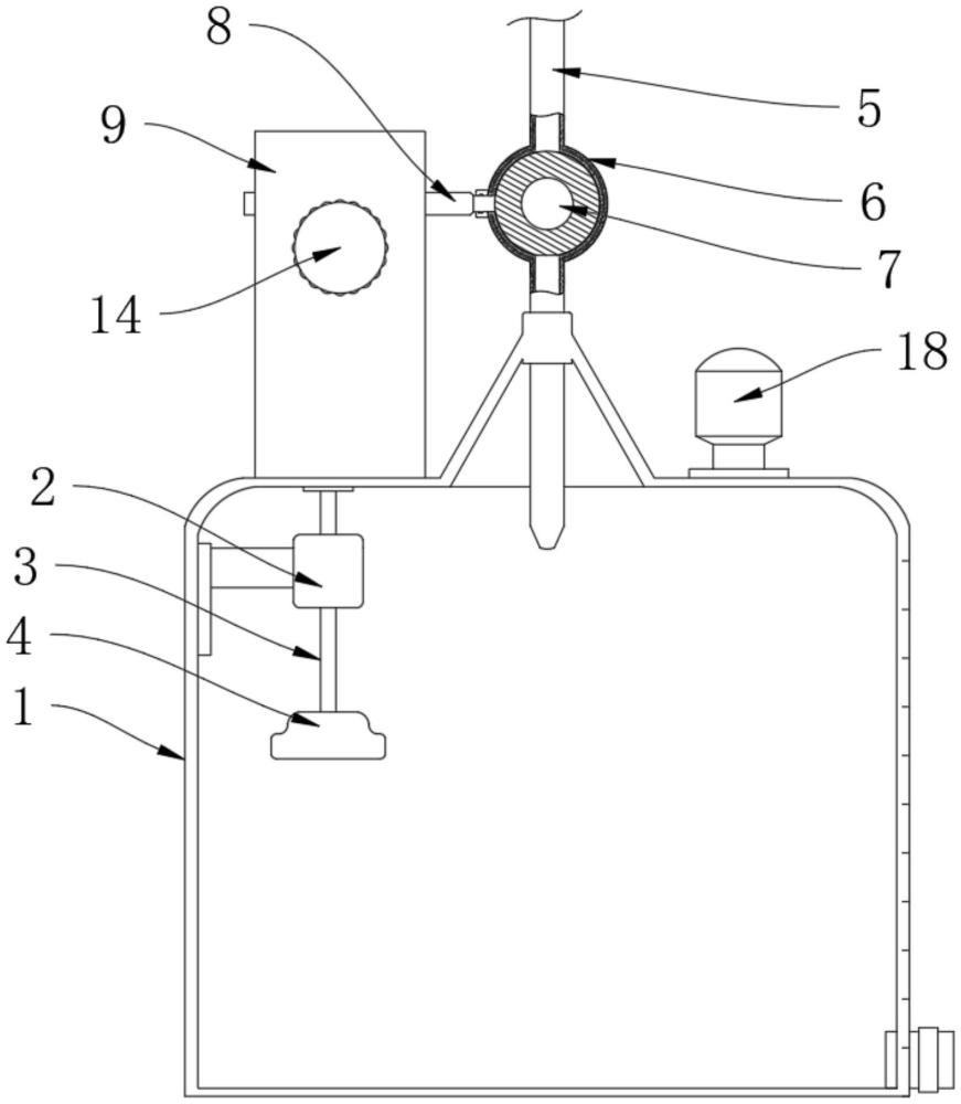
| 摘要: | 本实用新型涉及医疗器械技术领域,具体为一种脑脊液的滴定报警器装置,包括有脑脊液引流瓶,脑脊液引流瓶的顶部设置有引流管,引流管上设置有球壳,球壳内设置有封堵球,封堵球的一侧连接有连接柱,连接柱贯穿球壳的侧壁并转动连接在安装架上,安装架连接有脑脊液封堵机构。脑脊液通过引流管被引流进脑脊液引流瓶中,当脑脊液引流的量到达临界点时,漂浮块受浮力影响向上移动并推动升降滑杆和顶板上移,触头对于插接在两个插座中,可使得蜂鸣器和驱动马达接通电源,蜂鸣器发出报警,同时驱动马达启动带动蜗杆转动,进而带动传动轮转动,进而使得传动轮带动封堵球转动,封堵球可将引流管封堵住,从而阻断了脑脊液的流通,防止脑脊液引流过多。 | ||||
| 补充信息 | |||||
| 转让方式: | 成熟度: | 预估价值: | |||
| 市场前景: | |||||