样品
成果详情
| 项目简介 | |||||
|---|---|---|---|---|---|
| 技术简介: | |||||
| 专利类型: | 实用新型 | 专利申请号: | CN202023163365.6 | 公开号: | CN214343258U | 
| 专利权人: | 南方医科大学南方医院 | 发明设计人: | 刘苑萍 | ||
| 所属领域: | |||||
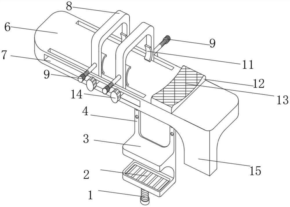
| 摘要: | 本实用新型公开了一种麻醉科专用肢体固定支架,包括紧固螺丝和压力弹簧,所述紧固螺丝的一端固定连接有卡块,所述卡块的底部活动连接有卡口盒,所述卡口盒的一侧固定连接有连接架,所述连接架的外表面开设有螺栓孔,所述螺栓孔的内侧壁通过螺丝螺纹连接有支撑板,所述支撑板的两侧均开设有滑槽,所述滑槽的内侧壁滑动连接有固定架,所述固定架的外表面螺纹连接有调节螺丝。该麻醉科专用肢体固定支架,通过弧形拖和调节螺丝的设置,使该装置可根据患者肢体部位的粗细程度进行调节,通过弧形拖与压力弹簧固定连接的方式,使弧形拖在贴紧皮肤时,提高患者的舒适性,有效的提高了该装置对不同患者的适应性。 | ||||
| 补充信息 | |||||
| 转让方式: | 成熟度: | 预估价值: | |||
| 市场前景: | |||||