企业详情

返回
南方医科大学深圳医院

 

科技成果

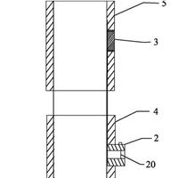
医用鼻胃管

本实用新型适用于医疗耗材技术领域,提供了一种医用鼻胃管,包括:胃管本体,其前端为用于置入人体的置入部分,其后端为裸露于所述人体的外部的外露部分;固定膜,可滑动套设于所述外露部分的外侧;所述固定膜的外表面设置有第一黏合层;注食器连接接口,连接于所述外露部分的末端。借此,本实用新型的医用鼻胃管,提升了固定效果。

乙型肝炎感染患者或携带者外泌体miRNA分子标志物组合及筛查试剂盒

本发明公开了乙型肝炎感染患者或携带者外泌体miRNA分子标志物组合及筛查试剂盒,提取中国汉族乙型肝炎患者的血浆外泌体,筛选出乙型肝炎相关标志物hsa‑miR‑150‑5p、hsa‑miR‑1246、hsa‑miR‑5787以及hsa‑miR‑8069,为乙型肝炎患者、携带者和健康者提供早期筛查诊断和监测预后复发的标志物,从而预测乙型肝炎发生率,为治疗乙型肝炎患者和携带者提供新靶标。

一种胶质瘤来源肿瘤浸润淋巴细胞(TIL)的体外扩增方法及用途

本发明实施例公开了一种胶质瘤来源肿瘤浸润淋巴细胞(TIL)的体外扩增方法及用途,属于细胞培养技术领域。所述方法包括:TIL细胞的预培养;TIL细胞的培养与扩增。本发明在不分离胶质瘤浸润淋巴细胞的情况下直接诱导培养TIL细胞后再进行大量扩增TIL细胞,操作程序较为简单且耗时短,能够明显提高TIL细胞扩增数量和细胞活性,具有良好的杀伤胶质瘤肿瘤细胞的效果。本发明在TIL细胞培养和扩增步骤中,采用低浓度的细胞因子复合营养培养基,既保证TIL细...

改良型动脉导管及动脉抽血装置

本实用新型涉及医疗设备技术领域,公开了改良型动脉抽血导管及动脉抽血装置。本实用新型的改良型动脉抽血导管括导管,所述导管上设有第一接头,所述第一接头通过阀门与所述导管连通,所述导管上还设有第二接头,所述第二接头包括柱体以及橡胶塞,所述柱体的下端与所述导管连通,所述橡胶塞密封设置于所述柱体内。本实用新型的动脉抽血导管可以避免抽血过程中可能产生的血流感染,安全性更高。

一种牙龈翻瓣牵拉保护器

本实用新型公开了一种牙龈翻瓣牵拉保护器,包括手柄、第一工作端以及第二工作端,手柄的两端分别连接第一工作端和第二工作端;第一工作端和第二工作端为铲状,第一工作端的铲状面积大于第二工作端的铲状面积,第一工作端的最小厚度大于第二工作端的最小厚度;第一工作端凸面尖端的内凹抵在患牙翻瓣后的牙槽嵴顶上,充分暴露术野,避开牙龈乳头,保护牙周软组织,能够防止软组织被车针带卷入造成误伤,还能够减少医师在术中换器械的次数和频率,提高手术效率,并减少由于频繁...

一种精准牙体切割车针

本实用新型公开了一种精准牙体切割车针,包括夹持段和切割段,切割段为锥形,夹持段和切割段平滑过渡;切割段在牙体切割过程中所受应力逐渐变化,不易发生突然断裂;夹持段表面沿轴向设置有若干条标线,每条标线绕夹持段圆柱表面一周,且每条标线的颜色不同,不同标线能表达车针切割的不同深度,能有效提醒医护人员,避免因车针切割过深触及软组织而导致二次伤害;且能够最大限度的保留牙槽骨,为患者后期种植特别是即刻种植、义齿修复都创造了良好的条件。

雾化储药杯

本实用新型适用于医疗耗材技术领域,提供了一种雾化储药杯,包括:杯体,其顶部开设有开口;口含嘴接口,设置于所述杯体的侧壁,并且与所述杯体的内部连通;氧气管接口,连接于所述杯体的底侧,并且与所述杯体的内部连通;针头接口,连接于所述杯体的底侧,并且与所述杯体的内部连通;活塞杆,所述活塞杆包括活塞以及推杆,所述活塞与推杆相连接,所述活塞可滑动设置于所述杯体的内部;所述活塞与所述杯体的内壁相适配。借此,本实用新型的雾化储药杯,具有抽吸药物的功能,...

一种牙科手机干燥装置

本实用新型涉及一种牙科手机干燥装置,包括机箱;机箱内设有用于放置牙科手机或者管腔器械的放置组件,以及用于干燥牙科手机或者管腔器械的风干组件;风干组件通过管道穿入放置组件,使得风干组件能对放置在放置组件上的牙科手机或者管腔器械进行烘干;机箱内设有温度感应组件及电控组件;温度感应组件与电控组件电连接;电控组件与风干组件电连接;在机箱中设置放置组件及风干组件,将成批清洗及消毒好的牙科手机或者管腔器械进行干燥,能够输出热风或者冷风,对牙科手机或...

一种新式上颌残根钳

本实用新型公开了一种新式上颌残根钳,包括通过关节铰接的钳柄和钳喙,其中,钳喙包括钳喙夹持段和钳喙力臂段,钳喙力臂段与钳柄之间形成开口朝下的钝角β,钳喙夹持段与钳喙力臂段之间形成开口朝上的钝角α;在两钳喙自由闭合状态下,两钳喙夹持段末端刃口之间设置有间距,在夹紧牙根时,避免夹持力加载过快而导致夹碎牙根,同时又能夹持稳固,防止滑脱,避免损伤邻牙和软组织。

一种新式微创牙挺

本实用新型公开了一种新式微创牙挺,包括挺柄以及设置在挺柄前端的挺杆和设置在挺柄后端的尾端,挺杆前端设置有挺刃,挺刃与挺杆之间的夹角α为5~10°,能够有效的进行微创拔牙,且在拔牙操作的过程中,方便医护人员使用,挺刃能够更方便的切入待拔出牙齿的牙槽中,方便操作的同时,极大程度的减少了给患者造成的伤害。

一种新式微创根挺

本实用新型公开了一种新式微创根挺,包括挺柄以及设置在挺柄前端的挺杆和设置在挺柄后端的尾端,挺杆前端设置有挺刃,挺刃与挺杆之间的夹角α为5~10°,能够有效的进行微创拔牙,且在拔牙操作的过程中,方便医护人员使用,挺刃能够更方便的切入待拔出牙齿的牙槽中,方便操作的同时,极大程度的减少了给患者造成的伤害。

一种下颌磨牙旋转微创拔牙钳

本实用新型公开了一种下颌磨牙旋转微创拔牙钳,包括钳柄和钳喙,钳柄包括第一钳柄和第二钳柄;钳喙包括钳喙夹持段和钳喙力臂段,钳喙夹持段和钳喙力臂段之间形成钝角,钳喙夹持段的末端设置有钳喙尖端,从钳喙夹持段的弧面凹槽起始处至钳喙夹持段末端,弧面凹槽的厚度逐渐减小,并在钳喙夹持段末端形成刃口;在拔除磨牙时,钳喙将整个磨牙牙冠夹持包夹在钳喙内,夹持稳固,防止滑脱,快速拔下磨牙,减少病患痛苦,避免损伤邻牙和软组织。

一种新式下颌残根钳

本实用新型公开了一种新式下颌残根钳,包括钳柄和钳喙,其中,钳喙包括钳喙夹持段和钳喙力臂段,钳喙夹持段与钳喙力臂段之间形成钝角α,且钳喙夹持段与钳喙力臂段组成的平面垂直于钳柄的张开平面;在两钳柄自由闭合状态下,两钳喙夹持段末端刃口之间设置有间距;在夹紧牙根过程中,钳喙、钳柄均具有较好的韧性,既可以有效地夹紧牙根,又能避免夹碎牙根,降低损伤邻牙和软组织的风险;而且钳柄上开设的若干通孔既减轻了钳的重量同时具有防滑作用,也符合人体工学,手感舒适...

具有抑制肝癌转移功能的小肽及其制备方法与应用

本发明公开了具有抑制肝癌转移功能的小肽及其制备方法与应用,其中,所述小分子肽具有SEQ ID NO.1至4所示的氨基酸序列或SEQ ID NO.1至4中任一所示的氨基酸序列经取代、缺失和/或增加一个或多个氨基酸和/或末端修饰后且具有抑制肝癌转移功能的序列。本发明还提供了该小肽的制备方法,并得到了介导其快速降解的氨基酸位点。本发明中的小肽被发现具有抑制肝癌细胞侵袭转移的功能,抑制肝癌细胞迁移能力强,具有开发新型抗肝癌细胞转移药物或其他制剂...

展示板(疼痛动态评估尺)

1.本外观设计产品的名称:展示板(疼痛动态评估尺)。 2.本外观设计产品的用途:用于帮助医生了解病人疼痛等级。 3.本外观设计产品的设计要点:在于形状。 4.最能表明设计要点的图片或照片:主视图。 5.无设计要素,省略左视图;无设计要素,省略右视图;无设计要素,省略俯视图;无设计要素,省略仰视图。 6.局部放大图1为主视图中左侧的放大图,局部放大图2为主视图中右侧的放大图。

一种偏瘫患者的轮椅

本实用新型公开了一种偏瘫患者的轮椅,包括座椅,底部设有行走结构;脚架,设置在座椅上;扶手架,设置在座椅上,扶手架上设有安装位;握柄,设置在安装位上,握柄包括第一折弯部、第二折弯部和握持部,第一折弯部、第二折弯部和握持部依次相连,第一折弯部和第二折弯部的弯曲方向相反;此偏瘫患者的轮椅通过在传统轮椅的基础上增加第一折弯部、第二折弯部和握持部的特殊设置,使得患者可以以此为基础做不同的上肢锻炼动作,既可以防止下垂,又可以保护皮肤,还可以起到按摩...

用于鼻咽癌早期筛查的血浆外泌体蛋白标志物及其应用

本发明公开了用于鼻咽癌早期筛查的血浆外泌体蛋白标志物及其应用。本发明筛选并进一步鉴定出鼻咽癌相关的6种早期特异性蛋白(血浆外泌体CA1、EPB41、ANK1、SPTA1、BLVRB和SELP)及所组成的分子分类器,通过分析其绝对蛋白表达量和相对丰度,实现鼻咽癌早期鉴定,其可适用于ELISA、化学发光、蛋白芯片等等一系列鼻咽癌相关的检测技术或检测试剂盒的开发,从而应用于临床鼻咽癌患者的早期筛查和发现。

IFITMs在制备EBV上皮感染抑制剂和上皮型肿瘤防治药物中的应用

本发明公开了IFITMs在制备EBV上皮感染抑制剂和上皮型肿瘤防治药物中的应用,其中,所述IFITMs包括IFITM1、IFITM2和IFITM3。本发明通过构建干扰素诱导性跨膜蛋白过表达和敲低细胞系,首次确切证实了IFITM1在EBV感染过程中发挥抑制性作用,并进一步揭示了IFITM1在EBV阳性鼻咽癌中发挥的作用及其与LMP1的关系,还指出了IFITM1在EBV暴露状态下可减少EBV感染上皮细胞,并能降低肿瘤的生长速度,可用于开发预...

输液监测报警系统及预警方法

本发明涉及输液监测报警系统及预警方法,系统包括手盒、将手盒穿戴到患者手上的穿戴组件、触发报警组件;穿戴组件包括套住拇指的橡胶圈,还包括勒住食指、中指、无名指以及小指的橡胶带;橡胶圈的外侧与手盒固定;橡胶带的两端,分别与手盒的两侧固定;手盒的内部安装有控制板、受控于控制板的报警组件;触发报警组件包括与报警组件对应的触点开关;触点开关通过导线与控制板电连接;触发报警组件还包括固设在手盒上的针头遮挡架;触点开关嵌在针头遮挡架的上表面,且触点开...

监护病房用的预警系统及预警方法

本发明涉及监护病房用的预警系统及预警方法,系统包括隔音罩、控制组件;隔音罩包括第一隔音袋、两组第二隔音袋;第一隔音袋、第二隔音袋,均正置、为透明袋、于下端固设有垂坠块;隔音罩还包括安装盒;控制组件包括第一上拉组件和第二上拉组件;控制组件还包括充气组件、抽气组件;单元还包括换气扇、检测病床处噪声分贝的噪声分贝传感器;预警系统还包括控制器、向医护人员发出警报的警报器;充气组件、抽气组件、换气扇、噪声分贝传感器以及警报器,均与控制器电连接并受...