企业详情

返回
南方医科大学

 

科技成果

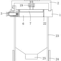
一种媒介蚊虫自动监测装置

本实用新型公开了一种媒介蚊虫自动监测装置,其包括黑箱,黑箱底部设有蚊虫入管口,靠近蚊虫入管口的通道内壁喷涂有光触媒材料层;黑箱内部设有温度计、湿度计、光度仪和捕蚊风管,捕蚊风管的进口与蚊虫入管口连接,进口处设有365nm灯环,连接出口处通道依次设有红外自动检测模块、集蚊盒和风扇,红外自动检测模块用于监测和识别经过的媒介蚊虫,风扇产生吸力使得气流依次流经捕蚊风管、红外自动检测模块和集蚊盒;黑箱内壁上侧设有数据处理和传输模块、电源和诱剂室;...

一种腹部CT图像中肝脏肿瘤的自动分割方法和装置

本发明提供了一种腹部CT图像中肝脏肿瘤的自动分割方法和装置,所述方法包括:获取待分割腹部CT图像,并对所述待分割腹部CT图像进行重采样和归一化处理,得到预处理后的待分割腹部CT图像,将预处理后的待分割腹部CT图像输入训练好的肝脏肿瘤自动分割模型,所述肝脏肿瘤自动分割模型以滑动窗口的形式,依次从所述预处理后的待分割腹部CT图像截取预设大小的图像区域进行分割,待所有区域完成分割后得到预测的肿瘤掩膜。本发明构建和训练的肝脏肿瘤自动分割模型可以...

一种便于拆装的堵头结构及气管切开堵管装置

本实用新型公开了一种便于拆装的堵头结构及气管切开堵管装置,包括连接座、固定组件,所述连接座顶部密封连接有堵头,所述固定组件设于连接座内,并用于对与连接座密封后的堵头进行固定,通过将插销拔出插销孔内,并向滑动筒内按压移动杆移动,移动杆移动的同时带动卡杆进行移动并压缩弹簧,此时将堵头的环形底部正确插入连接座顶部的环形凹槽内,并松开按压移动杆的手,弹簧复位回弹带动移动杆向滑动筒外进行移动,移动杆移动带动卡杆与卡槽进行卡接,从而将堵头与连接座之...

一种基于体表固定的多重定域图像配准方法及多重定域图像漂移检测方法

一种基于体表固定的多重定域图像配准方法及基于体表固定的多重定域图像漂移检测方法。其中该基于体表固定的多重定域图像配准方法逐级筛除无关、错误的点云,使之不参与配准运算,以加快配准速度、避免错配;逐级筛选尽可能保留正确的点云进行配准,以保证配准精度。该基于体表固定的多重定域图像漂移检测方法通过操作后体表模型与三维重建模型进行逐级筛除错误的网格,使之不参与配准运算,以加快配准速度、避免错配,逐级筛选尽可能保留正确的网格,从而准确检测出操作后骨...

lncRNA-MIR3945HG V1在菌阴肺结核诊断中的应用

本发明公开了lncRNA‑MIR3945HG V1在菌阴肺结核诊断中的应用。本发明发现MTB感染MΦ后导致MIR3945HG V1表达上调;对30例菌阴肺结核患者PBMC的检测结果也显示,其MIR3945HG V1的表达水平显著高于健康志愿者;受试者工作特征曲线分析结果表明,MIR3945HG V1有望成为菌阴肺结核诊断新靶点。通过检测MIR3945HG V1的表达水平,能够有效区分未感染人群与菌阴肺结核患者。

lncRNA-MIR3945HG V2在菌阴肺结核诊断中的应用

本发明公开了lncRNA‑MIR3945HG V2在菌阴肺结核诊断中的应用。本发明发现MTB感染MΦ后导致MIR3945HG V2表达上调;对30例菌阴肺结核患者PBMC的检测结果也显示,其MIR3945HG V2的表达水平显著高于健康志愿者;受试者工作特征曲线分析结果表明,MIR3945HG V2有望成为菌阴肺结核诊断新靶点。通过检测lncRNA‑MIR3945HG V2的表达水平,能够有效区分未感染人群与菌阴肺结核患者。

lncRNA-LOC100507195在菌阴肺结核诊断中的应用

本发明公开了lncRNA‑LOC100507195在菌阴肺结核诊断中的应用。本发明发现MTB感染MΦ后导致LOC100507195表达上调;对30例菌阴肺结核患者PBMC的检测结果则显示,其LOC100507195的表达水平显著低于健康志愿者;这可能是LOC100507195作为巨噬细胞抗结核的保护因子,其表达下调,导致机体对结核易感。受试者工作特征曲线分析结果表明,LOC100507195有望成为菌阴肺结核诊断新靶点。通过检测LOC1...

一种PM2.5诱导的类风湿关节炎细胞模型的构建方法及其应用

本发明公开了一种PM2.5诱导的类风湿关节炎细胞模型的构建方法,通过特定浓度的PM2.5对成纤维样滑膜细胞进行暴露处理一段时间后,当处理后的细胞呈现明显的多角形和类风湿关节炎细胞的形态,细胞中炎症因子表达量显著升高,具有侵袭并降解软骨的能力时,即构建完成,得到类风湿关节炎细胞模型。本发明模拟了长期PM2.5暴露下人体滑膜组织发生炎症病理过程的变化,解决了特定暴露因素所引起的类风湿关节炎细胞模型缺乏的问题,为进一步探讨环境颗粒物暴露所诱发...

一种基于人工智能图像分析的人体穴位识别方法及系统

一种基于人工智能图像分析的人体穴位识别方法及系统,其中人体穴位识别方法通过6个步骤进行识别。本发明能精确识别穴位,且具有实时性强、适应性强的优点。本发明的有益效果:1、采用多任务CNN主干网络和级联回归器的架构,实现了穴位的精准定位和实时识别;2、本发明还结合解剖学知识的位置编码机制,提高了识别的准确性和鲁棒性;3、通过多尺度特征提取和迭代优化策略,适应不同体型和姿态变化;4、具有实时指导功能,提升了针灸操作的效率和安全性;5、具有良好...

基于反投影数据的平扫CT图像病变检测方法及相关设备

本公开实施例提供了一种基于反投影数据的平扫CT图像病变检测方法及相关设备,涉及医学图像分析技术领域。具体地,将基于平扫CT图像得到的VVBP数据进行稀疏处理,得到用于作为模型输入的N幅稀疏图像,且在模型的处理中,可以对N幅稀疏图像进行特征编码,得到N个第一特征图,并基于N个第一特征图对图像进行重建,得到重建图像,通过特征融合整合N个第一特征图,可以得到第二特征图,且可以融合基于第一特征图的第一候选框和基于第二特征图的第二候选框,最终输出...

一种智能病患监控与预测的临床数据分析系统

本发明公开了一种智能病患监控与预测的临床数据分析系统,属于医学分析领域,包括实时监控模块、数据采集模块、知识库搭建模块;本发明能够在提高患者护理质量的同时,也能有效节省医疗资源,不仅增强对复杂医疗数据的处理能力,还提高临床决策的科学性与合理性,为病患提供个性化、及时的健康管理方案,使得医院能够在疾病管理中更具前瞻性与主动性,进而提升整体医疗服务水平,能够有效应对临床数据中存在的不确定性和患者个体化需求差异,为医护人员在决策时提供多样性、...

基于数字孪生的心肌组织仿生单元模型构建方法

本公开涉及一种基于数字孪生的心肌组织仿生单元模型构建方法,涉及数字孪生技术领域;利用MRI、CT等医学影像技术获取心脏的详细解剖结构数据,结合心电图等电生理数据,全面反映心脏的生理状态。利用计算机视觉技术,对心脏的多视角MRI数据进行处理,实现心室分割和三维重建,生成高精度的心脏3D模型。电活动模拟:采用正交各向异性Eikonal模型,模拟心脏的电活动传播过程,再现心肌的电生理特性。心电图反推:设计双分支变分自编码器架构,从心电图数据反...

一种胸部CT图像处理方法

本发明涉及一种胸部CT图像处理方法,涉及图像处理领域,包括:基于呼吸监测记录,将扫描时区划分为Q个呼时区和Q个吸时区,对待处理胸部CT图像进行划分、聚类和标识,获取2Q局部CT图像集;基于卷积神经网络构建Q个呼伪影消除插件和Q个吸伪影消除插件;对2Q局部CT图像集进行伪影映射消除,得到2Q标准局部CT图像集,融合得到重建胸部CT图像。通过本发明可以解决传统图像处理方法难以在细粒度层面上捕捉到不同呼吸阶段的差异,导致无法精准消除图像中呼吸...

一种兔气道原位肿瘤图像处理方法

本发明提供一种兔气道原位肿瘤图像处理方法,涉及图像增强领域,旨在通过构建兔气道原位肿瘤图像特征增强网络,利用动态窗口方法改进传统注意力窗口的大小,通过自适应计算动态窗口的注意力权重,增强图像的空间特征提取能力;提出一种提取特征通道间全局依赖关系的BCDM模型,改进提取特征通道间的全局依赖关系,增强通道特征的表达能力;结合改进的空间注意力权重和通道注意力权重,对空间特征和通道特征进行加权融合,提升图像的增强效果。

一种能够分隔排泄物的大鼠称重杯

本申请公开了一种能够分隔排泄物的大鼠称重杯,涉及动物实验器械技术领域。不仅可以限制大鼠称重期间的活动,使称重更加快速准确,而且可以将大鼠的排泄物分离,避免大鼠接触到不同组别大鼠粪便导致菌群污染。该称重杯包括杯体;杯体内设有柔性网盖、大鼠承托架和排泄物收集抽屉;大鼠承托架连接在杯体的内壁上;排泄物收集抽屉连接在杯体上,且位于大鼠承托架的下方;柔性网盖可拆卸地连接在杯体的内壁上且位于大鼠承托架的上方;柔性网盖能够盖压在大鼠的背部并使大鼠趴在...

一种具有Janus梯度结构的水质润滑超声膜及其制备方法与应用

本发明一种具有Janus梯度结构的水质润滑超声膜及其制备方法与应用,所述水质润滑超声膜的制备方法包括制备预混合液、制备预凝胶液、涂布和光固化四个步骤,所获得的水质润滑超声膜能够同时保证与超声探头接触的粘附性和与患者皮肤接触的润滑性,同时具有较好的超声信号传导稳定性和安全性。

一种多光催化液膜反应器串联装置

本实用新型提供一种多光催化液膜反应器串联装置。所述多光催化液膜反应器串联装置包括蠕动泵,所述蠕动泵的出液端连接有多个光催化液膜反应器,多个所述光催化液膜反应器依次串联,多个所述光催化液膜反应器连接有同一个冷却水循环泵;所述光催化液膜反应器包括外壳,所述外壳内设有反应室,所述反应室内设有光催化剂薄膜,所述光催化剂薄膜的上方设有固定安装在所述反应室上的石英玻璃。本实用新型提供的多光催化液膜反应器串联装置具有使用方便、空间利用效率高、灰尘便于...

一种改善反复性头屑的组合物及其制备方法和应用

本发明提供了一种改善反复性头屑的组合物及其制备方法和应用,涉及洗发用品技术领域,包括环庚三烯酚酮和扁柏酚,所述环庚三烯酚酮和扁柏酚的重量比为2~8:1。组合物具有协同抑菌和协同抗氧化作用;且能够有效清除成熟生物被膜,降低菌种生成生物被膜的能力,避免了去屑剂的耐药性问题;具有较小的细胞毒性,减少了去屑剂的刺激性问题;该组合物通过从减少耐药性和修复氧化屏障损伤多通路策略出发,有效抑制反复性头屑的发生,从而达到持久且高效的效果,解决了去屑剂长...

咬骨钳

1.本外观设计产品的名称:咬骨钳。 2.本外观设计产品的用途:用于咬骨钳。 3.本外观设计产品的设计要点:在于形状。 4.最能表明设计要点的图片或照片:立体图1。

吡唑[4,3-c]吡啶类化合物或其药学上可接受的盐及其应用

本发明涉及吡唑[4,3‑c]吡啶类化合物或其药学上可接受的盐及其应用。所述吡唑[4,3‑c]吡啶类化合物的结构式如下式(I)或(II)所示。所述化合物对PDE4呈现出良好的抑制活性,在制备环核苷酸磷酸二酯酶4抑制剂,以及在制备治疗环核苷酸磷酸二酯酶4相关疾病的药物中均具有很好的应用前景。#imgabs0#