企业详情

返回
南方医科大学

 

科技成果

杨梅素及其衍生物的新用途和一种抗HIV感染的杀微生物剂

本发明公开了杨梅素及其衍生物的新用途和一种抗HIV感染的杀微生物剂。杨梅素能够抑制SEVI的形成,破坏成熟SEVI的结构,直接阻断SEVI引起的HIV感染增强,并且杨梅素本身还具有良好的抗HIV活性,可开发为具有拮抗SEVI和抗HIV的双功能杀微生物剂,最大程度地避免因精液中淀粉样纤维的存在而导致临床疗效不佳的可能;在精液存在的条件下,杨梅素能分别与叠氮胸苷、雷特格韦、马拉维若、替诺福韦、奈韦拉平、依法韦仑任意一种抗逆转录病毒药物协同抗...

在线渗析-双抑制离子色谱法测定尿液中六种离子的方法

本发明公开了一种在线渗析‑双抑制离子色谱法测定尿液中六种离子的方法,其包括以下步骤:(1)向尿液加入与其体积比为1:(3.5‑4.5)的乙腈,离心处理使尿液中的蛋白沉淀;吸取上清液再分别用有机相及无机相的针式过滤器过滤;(2)将步骤1处理好的样品上机进行检测,选用Metrosep A Supp 7色谱柱,碳酸钠和异丙醇混合溶液作为淋洗液;采用0.4‑0.8mL/min的流速进行分离。采用本发明方法能够对尿液中六种阴离子同时进行检测,操作...

在线渗析-双抑制离子色谱法测定水样中七种离子的方法

本发明公开了在线渗析‑双抑制离子色谱法测定水样中七种离子的方法,所述水样上机进行检测的工作条件为:选用Metrosep A Supp 7色谱柱进行检测,选用碳酸钠和异丙醇混合溶液作为淋洗液;采用0.6‑1.0mL/min的流速进行分离。采用本发明所述方法能够对水样中七种阴离子同时进行检测,操作简单,检测所需时间短约半小时即可完成;各离子分离度分离度>1.5;F ‑ 、SO 4 2‑ 的线性范围在0.20‑40.0mg/L之间,ClO ...

白花蛇舌草总环戊烯环烯醚萜苷在制备防治急性肾损伤药物中的应用

本发明涉及白花蛇舌草总环戊烯环烯醚萜苷在制备防治急性肾损伤药物中的应用。本发明所述应用中药物可明显减少肾组织的炎症浸润,有效抑制TNF‑α、IL‑1β、IL‑6和MCP‑1的量,防治肾损伤的效果显著。

3-芳基-4-烷氧基苄醚衍生物及其制备方法和应用

本发明涉及一种3‑芳基‑4‑烷氧基苄醚类衍生物,其分子结构如下式(I)所示,(I)式中,R 1 为氢或者氟;R 2 为羟基(OH)或氨基(NH 2 );n为0或者1。此类衍生物可通过3‑芳基‑4‑烷氧基苄溴与取代苯酚亲核取代反应所得中间体碱性水解后获得。本发明所述的3‑芳基‑4‑烷氧基苄醚类衍生物具有磷酸二酯酶IV抑制活性。

3-芳基-4-烷氧基苄胺衍生物及其制备方法和应用

本发明涉及一种3‑芳基‑4‑烷氧基苄胺衍生物,其分子结构如下式(I)所示,式(I)中,R 1 为氢或者氟;R 2 为氯、氟或者甲氧基;R 3 为氢、氯、氟、甲氧基或者二甲氨基;X与Y为氮原子(N)或者含有一个氢的碳(CH)。本发明所述的3‑芳基‑4‑烷氧基苄胺衍生物可通过3‑芳基‑4‑烷氧基苯甲醛与取代胺进行还原胺化反应获得。本发明所述的3‑芳基‑4‑烷氧基苄胺衍生物具有磷酸二酯酶IV抑制活性,能有效抑制LPS诱导的BV‑2细胞促炎性细...

静电纺丝法制备载普伐他汀血管组织工程支架材料的方法

本发明涉及静电纺丝法制备载有普伐他汀血管组织工程支架材料的方法,该方法由以下步骤组成(1)配制聚羟基烷酸酯溶液;(2)配制普伐他汀钠溶液;(3)制备静电纺丝液;(4)静电纺丝制得血管组织工程支架材料。本发明将亲水性的普伐他汀钠载入到疏水性的聚羟基烷酸酯基质中,所制备的血管组织工程支架材料,可长效释放普伐他汀。

一种西瑞香素衍生物及其应用

本发明提供了一种西瑞香素衍生物及其,该西瑞香素衍生物,或其立体异构体、水合物、酯、溶剂化物、共晶体、代谢产物、药学上可接受的盐或前药显示出较好的抗肿瘤活性,其抗肿瘤活性明显好于西瑞香素,可以作为一类新型高效低毒的抗肿瘤药物。

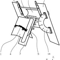
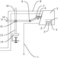
膝关节截骨骨渣防溅装置

本发明公开了膝关节截骨骨渣防溅装置,包括抽吸装置和用于支撑抽吸装置的支撑单元,所述抽吸装置包括下端敞口的方形挡板、发动机和安装在发动机动作端上的涡轮,所述方形挡板的前侧板设置有一个开口,方形挡板的后侧板设置有一个排风口,排风口前侧布置有过滤纱网。本发明通过发动机带动涡轮切割空气,可产生较大抽吸力,实现对于截骨过程中骨渣与血液的抽吸。方形挡板与过滤纱网的结合使用可有效阻挡骨渣与血液向四周飞溅与吸入后的再溅出,方便术后的清理。在方形挡板与过...

基于超高效液相色谱串联质谱技术的新生儿代谢物的检测方法

本发明提供了一种基于超高效液相色谱串联质谱技术的代谢性标志物联检方法,该方法采用同位素标记的氨基酸标准品及同位素标记的肉碱标准品作为内标、以高浓度质控血片和低浓度质控血片作为阳性对照,结合了乙腈‑水溶液为流动相,采用母离子扫描、中性丢失扫描和多反应离子监测多种扫描方式联用的超高效液相色谱串联质谱仪检测条件的合理设置,可实现仅需要低至3μL极少量的血液样品,且仅需一次检测,即可完成对134多种包括氨基酸和肉碱类代谢物的定性和定量分析,该发...

一种含二氢吡喃并噻唑的2,4-二氨基嘧啶及其应用

本发明涉及一种含二氢吡喃并噻唑的2,4‑二氨基嘧啶,该2,4‑二氨基嘧啶的化学结构如下式(Ⅰ)所示,式(Ⅰ)中,R为氨基或甲基。本发明所述的含二氢吡喃并噻唑的2,4‑二氨基嘧啶能够抑制细胞周期蛋白依赖性激酶(CDKs),特别是CDK2,控制宫颈、结肠、肝肿瘤细胞增殖的效果显著。

具有抗菌及抗炎活性的多肽化合物

本发明公开了具有抗菌及抗炎活性的多肽化合物,属于生物技术领域。所述多肽化合物的氨基酸序列为:IGKLFKRIVQLIK或IGKLFKRIVQLIL,分别记名为IG‑13‑1和IG‑13‑2。这是一类新型的高效作用于变形链球菌细菌膜结构,通过干扰细菌膜完整性抑制变形链球菌活性以及其生物膜形成,从而起到预防和治疗龋齿作用的多肽化合物。抗菌活性测试表明,这两种肽的MIC值是5.0μM,并且其杀菌速率优于目前应用较多的抗龋齿药物CHX。值得注意...

一种动物固定台及动物运动训练装置

本实用新型提出一种动物固定台及动物运动训练装置,动物固定台包括支架、固定单元,固定单元包括支板,支板连接支架,支板上可移动地设置有调节块,调节块用于托住动物,固定单元设置有束带,束带用于将动物固定在调节块上。通过设置可移动的调节块,可以根据动物的体型大小调节调节块的位置,从而提高动物固定台对不同大小的动物的适应性,调节位置使调节块托在动物的胸腹部位置,调节块向动物的胸腹部提供支撑力,使动物处于较为舒适的固定状态。

一种具有专一性抗痤疮丙酸杆菌作用及抗炎作用的短脂肽

本发明公开了一种具有专一性抗痤疮丙酸杆菌作用及抗炎作用的短脂肽,属于生物技术领域。所述短脂肽是由C6~C20脂肪酸与通式为KWKW的氨基酸序列组成。本发明的短脂肽能够专一性抑制痤疮丙酸杆菌生长,减少毛囊周围组织的炎症反应,体内、体外实验表明本发明短脂肽具有较高的抗菌、抗炎活性,较低毒性。此外,该短脂肽具有与传统抗生素不同的作用机制,短脂肽极难产生耐药性,尤其是对现有抗生素已经产生耐药的菌株有效,因而能够达到防治痤疮,提高生活质量的根本目...

一种小檗碱-Pyridostatin偶联物及其制备方法和应用

本发明公开了一种小檗碱‑Pyridostatin偶联物及其制备方法和应用。小檗碱‑Pyridostatin偶联物中的小檗碱部分对G‑四链体具有荧光检测性,Pyridostatin化合物也具有荧光检测、选择性结合和稳定G‑四链体DNA的性能,小檗碱和Pyridostati的偶联物可以达到高的荧光检测性,同时具有选择性结合和稳定双倍体G‑四链体DNA的双重功能,小檗碱‑Pyridostatin偶联物对分子内反平行双倍体G‑四链体DNA的检测...

一种简易实用多功能老鼠固定器

本实用新型公开了一种简易实用多功能老鼠固定器,包括底板和罩扣于底板表面的罩体,所述底板开设有四个容许老鼠四肢伸出的通槽,每个通槽均可滑动地设置有滑盖,滑盖侧壁与通槽内壁围合成四肢孔,通过滑盖的滑动调节四肢孔的宽度用于夹持老鼠四肢,并通过磁力组件对滑盖进行定位。本实用新型的老鼠固定器将老鼠限制在罩体和底板构成的容器内,无需实验员动手压制老鼠的操作,避免实验员被老鼠攻击。再通过可调节开口尺寸的四肢孔将老鼠的四肢陷入并夹持固定,提供稳定的老鼠...

一种包埋颅骨的方法

本发明公开了一种包埋颅骨的方法,包括以下步骤:步骤一:锯切颅骨;步骤二:配制包埋材料;步骤三:包埋;步骤四:修洁。本发明用包埋剂对最容易损坏的经水平切和冠状切的后半部分颅骨进行表面包埋,使颅骨骨质薄的结构变得坚硬,且其孔、缝、管保存完好,较好的解决了颅骨在实验教学过程中易损坏、不能触摸的两难问题。

一种治疗非酒精性脂肪性肝病的药物及其制备方法

本发明涉及一种治疗非酒精性脂肪性肝病的药物,该药物由有效成份和医学上可接受的赋形剂组成,其中所述的有效成份由以下重量百分比的原料药制成:黄连9~14%,丹参24~35%,酸枣仁31~47%,灵芝16~24%。本发明所述的药物可以是颗粒剂、胶囊剂或片剂等口服制剂。经动物实验验证,本发明所述药物具有药力专,效用强的优点。

一种小檗碱-360A偶联物及其制备方法和应用

本发明公开了一种小檗碱‑360A偶联物及其制备方法和应用。本发明的小檗碱‑360A偶联物具有荧光检测和可诱导形成和稳定双倍体G‑四链体结构的功能,可应用于双倍体G‑四链体结构检测探针和特异性结合或/和稳定双倍体G‑四链体结构领域中。小檗碱‑360A偶联物对肿瘤细胞具有很好的抑制活性,具有抗肿瘤作用,尤其是宫颈癌细胞和肝癌细胞,可用于与抗肿瘤药物的制备领域。

一种吡啶并咪唑衍生物的绿色合成方法及其在制备抗肿瘤药物中的应用

本发明公开了一种吡啶并咪唑衍生物的绿色合成方法及其在制备抗肿瘤药物中的应用。所述吡啶并咪唑衍生物的结构如式Ⅰ所示;其制备过程为:以R 1 取代的3‑吲哚乙酸化合物和R 2 、R 3 取代的吡啶并咪唑化合物为原料,采用铜催化剂,氧气为氧化剂,以1,4‑二氧六环、甲苯、DMA、DMSO、DMF、或NMP为溶剂,加热反应,即可生成式Ⅰ所示吡啶并咪唑衍生物。本发明所述方法避免使用昂贵或复杂的催化剂;反应条件温和、反应过程简单,符合绿色化学理念;...