企业详情

返回
南方医科大学珠江医院

 

科技成果

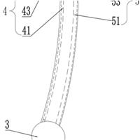
一种新生儿简易计尿器

本发明涉及医疗器械技术领域,且公开了一种新生儿简易计尿器,包括计尿器主体与连接架组,所述连接架组位于所述计尿器主体外侧,所述计尿器主体包括有注射器管一,所述注射器管一内部上方设有活塞块,所述活塞块内部从左向右依次插接有注射器管二、排气管,所述排气管位于所述活塞块内部中心处,本发明使用时,新生儿尿液进入注射器管一内并通过其外表面刻度使医护人员直观观察尿量情况,并且通过安装在计尿器主体外的连接架组对插接的尿管一、尿管二进行固定夹持,避免尿管...

一种耳部术后伤口敷料多功能固定带

本实用新型公开了一种耳部术后伤口敷料多功能固定带,所述的固定带本体上设有空腔、敷料开口、悬挂扣、悬挂孔、魔术贴,其中,所述的空腔设于固定带本体中部,所述的空腔两端分别设有对称的敷料开口,所述的敷料开口的侧面分别设有悬挂扣,以及,在所述的悬挂扣的下端分别设有相配合的悬挂孔,所述的魔术贴分别设于固定带本体首尾两端。本实用新型能够有效地防止耳部手术后敷料及引流管的频繁脱落,实现了适度的包扎压力,避免了使用传统绷带容易引发的压疮和皮肤损伤。

可调式三腔导尿管

本实用新型涉及医疗技术领域,本实用新型提供了一种可调式三腔导尿管,包括管体,在所述管体的一端开设有若干个在工作时位于病人膀胱内的导尿孔,在所述管体的外壁上套设有一用于将该管体限定在病人的尿道上的气囊;在所述管体上远离所述导尿孔的一端外侧壁上设有一与所述气囊连通的充气管道,还在所述管体上靠近所述充气管道一端的另一侧壁上设有一用于对病人膀胱进行清洗护理操作的注水管道。本实用新型具有能够对病人膀胱进行导尿且在导尿的过程中能够封闭尿道不易出现漏...

一种用于重症护理的床垫

本实用新型公开了一种用于重症护理的床垫,包括床垫主体、气囊、通风喷嘴和隔离覆盖层,床垫主体采用多孔材料制成或者采用透气结构制成,其上表面处设有若干安装槽;若干气囊分别设于每个安装槽内,并通过管路连接至第一气源;若干通风喷嘴埋设于床垫主体内,用于通风除湿,所述通风喷嘴通过管路连接至第二气源;隔离覆盖层覆盖在床垫主体上方,用于提供隔离保护及清洗替换。本实用新型利用气囊交替充放气模拟人工翻身效果,促进血液循环,配合定期通风,排出湿气,保持干爽...

一种用于治疗急性毛细胞损伤的CAT/Dex-PTMC/HA多功能生物微球凝胶

本发明公开了用于治疗急性毛细胞损伤的CAT/Dex‑PTMC/HA多功能生物微球凝胶,包括:分别取25‑35mgA组分、35‑50mg B组分、25‑35mg C组分与50‑100ml D组分混合后,吸入医用注射器,通过双母鲁尔直通医用接头将各组分充分均匀混合,其中,A组分为CAT@CaCO 3 微球,B组分为Dex/CaO 2 ‑PTMC,C组分为Dex‑HA,D组分为人工外淋巴液。上述多功能生物微球凝胶可同时释放氧气及激素,将氧气及...

一种多功能气管导管

本实用新型公开了一种多功能气管导管,包括主管道,所述主管道一端外侧设置有第一封闭气囊和第二封闭气囊,所述第一封闭气囊和第二封闭气囊之间设置有连通组件,通过将本装置置于患者体内,当气管导管插入气道时,使用注射器打入气体到气管导管气囊里,使气囊鼓起来,封闭声门,使气体只能从气管导管内通过,建立人工气道,鼓起的气囊还能防止声门上端的口水倒流进肺部,防止肺部感染,然后利用第一封闭气囊和第二封闭气囊的设置,可以对气门封闭实现双层保护,以防一个破裂...

一种多功能皮瓣血运观察尺

本实用新型涉及观察尺技术领域,具体为一种多功能皮瓣血运观察尺,包括观察尺主体,观察尺主体左端嵌设有灯管组件,观察尺主体左端处还设有防护罩,观察尺主体两侧面上均设有卡座,卡座中间均开设有卡槽,其中一个卡槽中设有动脉血管危向对比板,另一个卡槽中设有静脉血管危向对比板,观察尺主体外壁上靠近右侧设有笔夹;该多功能皮瓣血运观察尺,通过设置灯管组件与观察尺主体安装配合,并在按钮配合下控制灯珠启动配合,在白光源配合下真实反应皮瓣颜色,并在动脉血管危向...

一种双重负压引流装置

本实用新型涉及医疗器械技术领域,公开了一种双重负压引流装置,包括引流瓶、引流管、加压注射器和收集瓶,引流瓶采用柔性材料制成,引流管和收集瓶与引流瓶相连接,加压注射器与引流瓶相连接以抽吸引流瓶内空气。如此,本申请通过设置加压注射器配合挤压引流瓶形成多重负压,大大增加了引流瓶的负压吸引效果,避免了反复挤压引流瓶的操作,提升了引流效果;本申请在引流瓶上连接收集瓶对引流瓶中的引流液进行收集,收集瓶的体积远大于引流瓶的体积,避免了引流液在引流瓶中...

一种超声检查探头消毒装置

本实用新型属于探头消毒技术领域,尤其是涉及一种超声检查探头消毒装置。包括壳体和探头本体,所述壳体后侧壁固定有无前侧壁的消毒箱,消毒箱内安装有紫外线消毒灯,壳体前后侧壁均开设有通道,壳体右侧壁开设有与通道连接相通的通槽,通槽处设置有用于固定探头本体的固定组件,壳体上设置有用于固定组件移动的移动组件,壳体内设置有用于对探头本体进行清洗消毒的清洗件,壳体与清洗件之间设置导流板,导流板内开设有导流槽,壳体顶部固定有用于储存消毒液的储液箱,储液箱...

一种婴儿臀红用吹氧臀罩

本实用新型公开了一种婴儿臀红用吹氧臀罩,属于婴儿臀红用吹氧臀罩技术领域,其包括婴儿床本体,所述婴儿床本体上设置有吹氧装置,所述婴儿床本体包括床体,所述床体的一侧设置有观察窗,所述床体的底部设置有透气网,所述床体的两侧均固定连接有支撑杆,两个所述支撑杆的底部均固定连接有底座,所述吹氧装置包括连接架,所述连接架固定连接在床体的顶部。本实用新型,通过电动伸缩杆将罩体吹臀装置推置在婴儿臀部位置,使其防护罩贴合臀部,从而直接对儿童的臀部进行吹氧工...

一种脑室引流袋悬挂高度测量装置

本实用新型公开了一种脑室引流袋悬挂高度测量装置,具体涉及医疗技术领域,测量装置包括高度尺和佩戴在患者耳廓处的挂耳装置,所述高度尺为中空结构,包括前部和后部,所述前部和后部形成的内部空腔设置有准直结构,准直结构用于测量患者外耳道与引流管的垂直交点与直线距离,所述后部的后侧设置有调节结构,调节机构用于调节引流袋的悬挂高度。所述准直结构包括设置在前部内部空腔中两个激光发射器、无线电装置以及设置在前部前侧的声光报警器,两个所述激光发射器垂直分布...

一种便于擦拭标记的实验医用笔

本实用新型涉及医用笔技术领域,具体为一种便于擦拭标记的实验医用笔,包括笔筒本体,笔筒本体左端设有固定盖,固定盖中间设有墨水管,笔筒本体右端设有擦拭组件,笔筒本体外壁上靠近左端处设有若干个刻度线,笔筒本体外壁上靠近右端处设有若干个皮丘测量圈;该便于擦拭标记的实验医用笔,通过设置擦拭组件,安装座上插接酒精存储筒,往酒精存储筒内部填充液体配合擦拭球,实现滚动擦拭标记配合,且安装座便于拆卸更换,固定盖配合下便于对带有笔芯的墨水管固定安装,通过笔...

下肢深静脉测量尺

本实用新型属于医疗技术领域。本实用新型公开了一种下肢深静脉测量尺,包括外形与患者下肢位于髌骨部位的外形相适配的环座,在所述环座的两侧端设有一用于将该环座稳固限定在患者下肢上的固定带结构;在所述环座的内部设有第一测量结构且该第一测量结构的测量端贯穿所述环座的底部伸出外部用于测量患者髌骨下缘指定位置的腿围以辅助判断溶栓抗凝治疗成效;还在所述所述环座的内部设有第二测量结构且该第二测量结构的测量端贯穿所述环座的顶部伸出外部用于测量患者髌骨上缘指...

一种脑室引流管U型固定装置

本实用新型公开了一种脑室引流管U型固定装置,包括用于粘贴在患者皮肤上的贴片,所述贴片的上方设有底座,所述底座上设有旋转装置,所述旋转装置上设有两个相对的锁扣,一脑室引流管用于穿过各所述锁扣后形成U型结构,使用状态时通过旋转所述旋转装置从而带动各所述锁扣旋转进而变换该脑室引流管的U型口的朝向。本实用新型能够保持脑室引流管通畅,防止脑室引流管脱管,提高了脑室引流管固定的稳定性,降低脑室引流管的反折率。

一种护理用具放置器

本实用新型涉及护理用具放置器技术领域,且公开了一种护理用具放置器,包括筒体,所述筒体的内侧壁呈环形阵列开设有若干放置槽,所述放置槽的内部固定连接有消毒灯,所述筒体的内部开设有空腔,所述空腔的内部固定连接有消毒组件,所述筒体的底面固定连接有底座。该护理用具放置器,通过消毒组件和消毒灯的设置,再将护理用具放置于筒体内部或透气支管上后,消毒灯和温控器均外接电源开始工作,消毒灯对护理用具的表面细菌进行消杀,同时辅以电热板的高温加热,使得筒体内部...

一种下肢防血栓智能偏瘫康复器

本实用新型涉及下肢偏瘫康复训练领域,具体公开了一种下肢防血栓智能偏瘫康复器,包括:膝关节训练机构,包括总支撑组件,转动卡嵌于所述总支撑组件上的大腿支撑组件;本实用新型通过电动推杆一带动小腿支撑组件沿着总支撑组件移动,总支撑组件移动过程中还发生转动,同时使得大腿支撑组件绕着总支撑组件转动,在小腿支撑组件和大腿支撑组件转动过程中会使得患者膝盖位置逐渐弯曲,通过控制电动推杆一可进行重复运动,从而使得患者膝关节及大腿肌肉得到锻炼,踝关节上下屈伸...

一种可变径神经内镜工作通道

本实用新型提供一种可变径神经内镜工作通道,涉及医疗器械技术领域,包括套筒,其由第一壳体和第二壳体构成,套筒的内部中空且两端具有开口,第一壳体和第二壳体均具有弹性,第一壳体和第二壳体分别设置有延长部,第一壳体的延长部朝第二壳体的方向延伸,第二壳体的延长部朝第一壳体的方向延伸,两延长部靠近套筒的后端开口处,两延长部重叠;向外拉动第一壳体和第二壳体以使得两延长部分离,从而使得套筒的后端开口扩张。本实用新型可以根据手术的要求对神经内镜工作通道的...

一种超声引导下的深静脉穿刺置管训练装置

本实用新型涉及医疗教学装置领域,公开了一种超声引导下的深静脉穿刺置管训练装置,包括外框、模拟机构和多个模拟血管,所述外框上端铰链连接有盖板,所述外框下端固定设置有四个支撑脚,所述外框一侧靠近下端贯穿设置有水泵,所述水泵输入端固定连接有进水管,所述水泵输出端固定连接有出水管,所述外框靠近水泵一侧靠近下端开设有排水口,所述外框两侧内壁靠近上端均开设有转动槽,所述外框两侧内壁靠近上端均转动设置有旋转块。本实用新型中,该深静脉穿刺置管训练装置设...

一种重症X光机集成护理床

本实用新型涉及医疗器械领域,尤其涉及一种重症X光机集成护理床。本实用新型包括床架、C型X光机以及分别设于床架上端面前后两侧的充气床垫组;床架上方前后两侧分别对应开设有安装槽,各充气床垫组对应固设于安装槽内,每组充气床垫组由外侧翻气囊、抬升气囊以及内侧翻气囊从上至下依次固定堆叠设置组成;所述床架中部还设有充气机构,充气机构与各充气床垫组内的外侧翻气囊、抬升气囊以及内侧翻气囊均分别相连通;床架一侧沿其长度方向设有X轴组件,所述床架与C型X光...

一种聚苯胺纳米探针及其制备方法和应用

本发明属于探针技术领域,公开了一种聚苯胺纳米探针及其制备方法和应用。该聚苯胺纳米探针,包括内核聚苯胺和包裹于聚苯胺外层的磷脂‑聚乙二醇‑羧基。本发明通过双亲性试剂DSPE‑PEG‑COOH在水溶液中自组装的方式将所制备聚苯胺包裹在PEG内核,得到水溶性的纳米颗粒探针,所得纳米探针为可用于双波长(780/1064nm)比率型光声成像,且具备良好的酸响应比率成像特性,能够实现基于肿瘤微环境中的酸响应精准成像,被应用于肿瘤检测中。