企业详情

返回
南方医科大学珠江医院

 

科技成果

一种恒温膀胱冲洗装置

本申请公开了一种恒温膀胱冲洗装置,用于安装至输液袋以连接输液管,其属于医疗辅助器械领域。壳体;容纳盒;其中,容纳盒形成连通对接头和容纳腔的进液部和出液部;导流环;导流板;偏心轴;其中,导流环沿导流环圆周方向铺加热管和冷却管;导流环内设置与加热管连通的蓄热盒和与冷却管连通的制冷盒;蓄热盒内装有导热剂,制冷盒内装有制冷剂;该蓄热盒内设置有加热器;导流环内设置用于控制导热剂/制冷剂分别在加热管和冷却管内流动的控制系统。本申请的有益效果在于提供...

一种便于穿脱修饰裤长的病号裤

本实用新型公开了一种便于穿脱修饰裤长的病号裤,包括带有长裤筒的裤体;在所述裤体的裤头端设有一用于将该裤体可拆卸限定在病人身上的指定部位上以实现便于穿脱操作的限定带结构,还在所述裤体的每一个长裤筒的下端两侧均设有一用于调节该长裤筒的长度以满足不同身高病人的穿着需求的裤长调节结构。本实用新型具有便于穿脱并且能够对裤长进行调节以满足不同身高病人的穿着需求的优点。

一种活检钳清洗篮筐

本实用新型公开了一种活检钳清洗篮筐,涉及清洗篮筐技术领域。本实用新型包括:框体,所述框体的表面设置有若干个小孔,所述框体的内壁滑动插接有限位板,还包括第一限位机构,所述第一限位机构用于限制所述限位板在所述框体内壁的位置。本实用新型,在使用时,使用者将活检钳的握持环穿过其中一个放置槽的两个橡胶块后,橡胶块会回弹到握持环之间对活检钳进行支撑,同时活检钳的一端贴合在放置板的表面,就可以实现对活检钳的稳定限位,同时,这种限位方式利用活检钳的结构...

一种集静脉输液保护与血氧监测于一体的约束手套

本实用新型公开了一种集静脉输液保护与血氧监测于一体的约束手套,包括支撑板、约束面,所述约束面包裹并缝合在所述支撑板一端的表面形成放置患者手掌的一侧开口的约束腔,所述约束腔内部的所述支撑板上设置有多个手指约束带,所述支撑板远离所述约束腔的一端设置有至少一个固定带,所述支撑板的底端设置有多个固定部件,所述约束面上设置有观察口,所述约束面上与各所述手指约束带相对应的位置均设置有开合口。本实用新型具有提高患者的输液安全性和护理人员的血氧监测效率...

一种输液港用蝶形针固定贴膜

本实用新型属于医疗技术领域。本实用新型公开了一种输液港用蝶形针固定贴膜,包括带有离型纸层的贴膜本体;在所述贴膜本体上位于所述离型纸层的一端设有一呈凸起状设置的减压垫,在所述减压垫上远离所述贴膜本体的一端设有一在外部的蝶翼弯针与外部的输液港连通后用于对该蝶翼弯针进行限定以及填充该蝶翼弯针与患者皮肤之间间隙的限定结构。本实用新型具有在蝶翼弯针与输液港连通时能够有效填充该蝶翼弯针与患者皮肤之间的间隙以便于稳固固定蝶翼弯针、能够有效提高工作效率...

一种抗菌水晶板围帘

本实用新型公开了一种抗菌水晶板围帘,包括顶部框架、竖直支撑架和围帘,所述竖直支撑架垂直固定连接在所述顶部框架下表面四角处,所述顶部框架四侧面设有若干挂钩,所述围帘长边顶端开设有若干悬挂孔,所述围帘通过所述悬挂孔挂在所述挂钩上,所述围帘的一侧开设有护理窗口,所述护理窗口上方固定连接有隔离帘,所述隔离帘一长边固定连接在所述护理窗口的上方,所述隔离帘剩余3边每条边分别固定设有2个磁铁扣,所述护理窗口剩余3边对应位置均设有磁铁扣;所述围帘和所述...

一种CT造影用中耳道扫描系统

本发明提供一种CT造影用中耳道扫描系统,包括扫描装置和耳道扫描系统,所述扫描装置包括3D耳道扫描仪和CT扫描设备,所述耳道扫描系统包括扫描辅助模块、成像模块、图像管理模块、对比模块和异常记录模块,通过CT耳道扫描系统,通过扫描辅助模块,辅助患者进行扫描前的定位工作,进而对扫描范围进行调整,限制扫描的范围,解决了造影范围较大,导致剂量较高,缺乏准确限制扫描范围的功能的问题,本发明还可通过成像管理模块将3D耳道扫描仪得到的模型图像和CT设备...

气切病人用吸痰器

本实用新型公开了一种气切病人用吸痰器,包括吸痰管、清洗装置、吸痰装置、控制器和连接管;所述连接管包括人工鼻、连接管身和与病人的气切管相连接的连接口,所述连接口通过所述连接管身与所述人工鼻相连通,所述吸痰管的两端分别与所述连接管和所述吸痰装置相连通,所述清洗装置设置在所述吸痰管上远离所述吸痰装置的一端并与所述吸痰管相连通,所述吸痰装置与所述控制器电性连接,所述清洗装置与所述控制器无线连接。本实用新型具有提高病人自我护理能力和有效降低病人肺...

一种下肢深静脉血栓腿围测量装置

本实用新型属于医疗技术领域。本实用新型公开了一种下肢深静脉血栓腿围测量装置,包括用于定位病人相应下肢髌骨基点的塑形基座,在塑形基座的外壁上套设有一用于将该塑形基座可拆卸限定在病人相应下肢上的限定结构;在塑形基座的内部两端分别设有若干个用于定位病人髌骨基点上缘预定位置和下缘预定位置的测量点定位结构;在测量点定位结构的两侧端均设有一与该测量点定位结构的相应一侧连接用于测量病人髌骨基点上缘预定位置和下缘预定位置的腿围以辅助医护人员判断病人溶栓...

一次性消毒棒

本实用新型公开了一种一次性消毒棒,包括装有消毒液的握杆、消毒棉和连接头;所述消毒棉安装在所述连接头的一端,所述握杆旋转连接在所述连接头的另一端,所述握杆靠近所述连接头的一端设置有第一圆孔,所述连接头上设置有贯穿所述连接头的第二圆孔,所述第一圆孔和第二圆孔连通配合。本实用新型具有使用方便、提高消毒效率和节约消毒液的优点。

抗反流装置

1.本外观设计产品的名称:抗反流装置。 2.本外观设计产品的用途:用于引流袋开关控制装置。 3.本外观设计产品的设计要点:在于形状。 4.最能表明设计要点的图片或照片:立体图。

一种可调式模拟心脏固定装置

本实用新型属于模拟心脏技术领域。一种可调式模拟心脏固定装置,包括带有第一连接管以及第二连接管和第三连接管的模拟心脏,以及带有定位凹槽用于承托所述模拟心脏的支撑台;在所述支撑台上设有一用于对所述第一连接管进行固定以将所述模拟心脏的该端限定在所述支撑台上的压紧机构;还在所述支撑台上设有一能够相对该支撑台活动调节用于对所述第二连接管进行活动固定以将所述模拟心脏的该端限定在所述支撑台上的第一调节组件,还包括设在所述支撑台上能够相对该支撑台活动调...

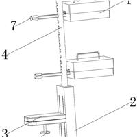
一种手术可移动棉条板

本实用新型公开了一种手术可移动棉条板,涉及医疗器械技术领域,包括放置盒和固定板,所述放置盒位于固定板的上方,所述固定板的边侧设置有夹持机构,所述夹持机构用于将固定板夹持与工作台面边侧,所述放置盒的内底壁等间距固设有若干个隔板。本实用新型,通过夹持机构的设置,可以将放置盒夹持于工作台面边侧,从而便于工作人员随时随地的拿取脑棉片,从而方便了工作人员,另外挡板的设置,可以避免脑棉片相互堆叠在一起,影响工作人员的拿取,通过设置多个放置盒,可以便...

一种护理清洗装置

本实用新型公开了一种护理清洗装置,包括支撑座,还包括收纳机构、护理垫和烘干机构,所述支撑座的上端连接有用于对护理垫收纳的收纳机构,所述收纳机构的中部连接有用于对护理垫烘干的烘干机构,所述收纳机构包括连接桶、固定支架、收纳组件、传动组件和导向组件,所述支撑座的顶面固定连接有两个连接桶,两个所述连接桶左右对称连接于支撑座的顶面,两个所述连接桶的中部均固定连接有固定支架。本实用新型提供的一种护理清洗装置,通过设置收纳机构,当护理垫使用完成后,...

一种自动门驱动机构的阻尼器

本实用新型公开了一种自动门驱动机构的阻尼器,具体涉及阻尼器技术领域,包括阻尼器本体,所述阻尼器本体的内部设置有贯穿的缓冲杆,所述缓冲杆的两端分别延伸出阻尼器本体的两端,所述缓冲杆的两端均设置有安装结构和调节结构,所述安装结构用于对缓冲杆的两端进行夹持,所述调节结构用于对安装结构进行调节和安装。所述安装结构包括第一夹块和第二夹块以及设置在缓冲杆外端的轴承,所述第一夹块设置在第二夹块的上方,所述第一夹块和第二夹块的内侧与轴承的外侧接触,所述...

皮肤和软组织脓液标本采样管

本实用新型公开了皮肤和软组织脓液标本采样管,包括样品处理管和采样器;所述样品处理管内部设有裂解液,所述样品处理管顶部密封设有盖子,所述盖子边缘处设有拉扯条;所述采样器包括采样杆,所述采样杆顶部设有采样器顶盖,所述采样器顶盖顶部垂直设有握柄,所述采样杆底部固定设有样本取样环。本实用新型与现有技术相比的优点在于:结构简单,使用方便,采样方便,减少污染,成本低廉,对核酸提取及检测反应体系影响较小的采样管对于微生物核酸检测快速床边化意义重大。

一种双交联网络的水凝胶及其制备方法和应用

本发明属于水凝胶材料技术领域,特别涉及一种双交联网络的水凝胶及其制备方法和应用。本发明双交联网络的水凝胶的制备原料包括甲基丙烯酰类光敏性材料、硫酸软骨素盐、药物、光引发剂;甲基丙烯酰类光敏性材料不包括甲基丙烯酰透明质酸。本发明通过甲基丙烯酰类光敏性材料、硫酸软骨素盐之间交联,然后药物再进一步交联,得到双交联网络的水凝胶,三者之间存在结合位点且交联后的双交联网络的水凝胶孔径更大,进而使得水凝胶可持续缓慢释放药物,机械性能良好,具有良好的促...

体温计固定装置

本实用新型公开了一种体温计固定装置,包括外壳和水银体温计;所述水银体温计安装在所述外壳内,所述外壳上设置有观察所述水银体温计的示数的开口,所述水银体温计与所述外壳的内壁滑动配合,所述水银体温计的非测温端通过第一弹簧与所述外壳的内壁相连接,当所述第一弹簧处于自然伸展状态下时,所述水银体温计的测温端穿出所述外壳,所述外壳上设置有用于限制所述水银体温计在所述外壳内的位置的定位结构。本实用新型具有有效防止水银体温计被污染的优点。

一种多功能妇检床

本实用新型涉及妇检床技术领域,具体为一种多功能妇检床,包括底座板,底座板上表面中间处设有支撑柱,支撑柱顶部设有妇检床主体,支撑柱左端面上靠近底部处设有垃圾收纳的收集组件,底座板上表面靠近后端处从左至右依次设有照明组件、悬挂组件,妇检床主体两侧面靠背上均设有可调节的扶手;该多功能妇检床,通过设置带有电机与螺杆的支撑柱,实现踮脚板在支撑柱侧壁上稳定上下移动配合,带有垃圾篓的存储盒与支撑柱组合连接,增加整体美观度,第一立柱与带有照明灯的第一升...

可视喉镜可移动充电器

本实用新型涉及医疗器械设备领域,公开了可视喉镜可移动充电器,包括喉镜器、充电盒和存放盒,所述充电盒的顶端内部固定连接有控制端,所述充电盒的前侧开设有充电槽,所述充电槽的内壁设置有反应区,所述充电盒的外部四角均固定连接有抵柱,所述充电盒的两侧均开设有多个孔,所述充电盒的前侧外部滑动连接有风机架,所述风机架的左右相近一侧开设有凹槽,所述凹槽的内部滑动连接有卡件,两个所述卡件的相远一侧固定连接有弹簧。本实用新型中,实现喉镜显示屏和充电器冷却散...