企业详情

返回
南方医科大学南方医院

 

科技成果

抽屉式体温计浸泡容器

本实用新型公开了一种抽屉式体温计浸泡容器,包括呈上下堆叠的干燥箱和浸泡箱,干燥箱的顶部可拆卸固定有一定时器,干燥箱内有前后抽拉的底部镂空式抽屉,浸泡箱内有前后抽拉的浸泡液盛装抽屉,浸泡液盛装抽屉内置放有可取出的一底部镂空式体温计放置架,底部镂空式抽屉通过底部镂空与浸泡液盛装抽屉连通,在浸泡液盛装抽屉的前侧开有与浸泡液盛装抽屉内部连通的出液孔,出液孔连接有一条外置于浸泡液盛装抽屉前侧的可水平放置或竖直放置的透明软管,透明软管上印有刻度。本...

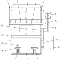
多功能仪器架

本实用新型公开了多功能仪器架,包括仪器架主体,仪器架主体的上部为监护仪放置板,监护仪放置板的下方有输液泵放置板,输液泵放置板的下方有从上至下依次分布的血压导线抽屉和血压袖带抽屉,仪器架主体的底部有滚轮,所述监护仪放置板的下侧安装有可朝右推拉的书写板,书写板上固定有卡纸夹及位于卡纸夹旁的置笔盒,书写板位于输液泵放置板的上方,输液泵放置板的下方左侧为呼吸气囊抽屉、右侧为上下分布的药物抽屉和杂物抽屉,杂物抽屉和呼吸气囊抽屉位于血压导线抽屉的上...

氧舱平移活动专用踏板

本实用新型公开了氧舱平移活动专用踏板,包括斜坡踏板,还包括沿着氧舱的弧形墙壁布置的弧形轨道,斜坡踏板的斜坡高端固定连接有弧形滑块,弧形滑块滑动安装在弧形轨道上,斜坡踏板与斜坡方向平行的两侧在斜坡高端固定有推拉部。本实用新型的氧舱平移活动专用踏板能够降低医务人员的工作强度。

足后跟压疮保护垫

本实用新型公开了足后跟压疮保护垫,包括垫体,垫体的前后方向为搁腿方向,垫体的顶面凹陷形成足跟槽,所述垫体的底面凹陷有贯通垫体左右侧面的通风槽,足跟槽向下贯通垫体后与通风槽连通。本实用新型的足后跟压疮保护垫可以在不用频繁给患者翻身的情况下避免足跟产生压疮或促使足跟压疮早日恢复,减少了患者的痛苦及护理人员的工作强度。

平车轮椅一体装置

本实用新型公开了平车轮椅一体装置,包括固定座,所述固定座后侧的顶部固定连接有输液架,所述固定座的前后两侧均通过轴承活动连接有移动轮,所述固定座左侧的前后两侧均固定连接有固定杆,所述固定杆远离固定座的一端固定连接有支撑轮,所述固定座内壁底部的后侧固定连接有蓄电池,所述固定座内壁底部的中心处固定连接有第一电动伸缩杆,所述第一电动伸缩杆的顶部固定连接有座板。本实用具备多功能的优点,解决了现有的轮椅功能单一,不能转换为平车装置进行使用,医院中的...

一种产妇用喂奶座椅

本实用新型公开了一种产妇用喂奶座椅,包括座椅本体,所述座椅本体两侧的顶部均通过转轴活动连接有连板,所述连板正面的底部固定连接有桌板,所述桌板的顶部固定连接有护栏,所述座椅本体的两侧且位于桌板的底部固定连接有放置板,所述座椅本体后侧的顶部固定连接有横板,所述座椅本体的正面螺纹连接有固定螺纹杆,所述固定螺纹杆的正面固定连接有腰垫,所述座椅本体右侧的中端固定连接有输液杆,所述座椅本体右侧的底部固定连接有固定杆。本实用具备多功能的优点,解决了现...

一种新型口罩

本实用新型公开了一种新型口罩,包括罩体和固定绳,所述固定绳为扁平宽绳带,罩体的左边上下位置和右边上下位置均分别固定有一条所述的固定绳,罩体左边的上下两条固定绳末端之间和右边的上下两条固定绳末端之间分别通过长度大于耳部长度的一竖向连接件连接,两个竖向连接件连接有可相互可拆卸连接的插扣,罩体左边上侧的固定绳和右边上侧的固定绳的外表面可拆卸地固定有用于固定眼镜镜腿的C型固定件。本实用新型的新型口罩能够缓解耳部压力及疼痛,减少压疮。

一种新型的颈部防护巾

本实用新型公开了一种新型的颈部防护巾,包括防护巾主体,所述防护巾主体是一端为窄端、另一端为宽端的扇形结构,防护巾主体的窄端两侧通过魔术贴结构可拆卸连接,防护巾主体的宽端的中部固定有胸前固定贴,防护巾主体的宽端在胸前固定贴的两侧分别固定有一肩部固定贴。本实用新型的新型的颈部防护巾可起到有效的物理屏障作用,减少病原微生物的扩散和传播,减少间接感染,降低医护人员职业暴露的风险,最大限度地确保医护人员的职业健康安全。

一种敲除胶质母细胞瘤DHC2基因的试剂盒

本发明涉及一种敲除胶质母细胞瘤细胞DHC2基因的试剂盒,以及该试剂盒的应用,以及一种敲除胶质母细胞瘤细胞的DHC2等位基因的方法。本发明所述的敲除胶质母细胞瘤DHC2基因的试剂盒,包括第一敲除质粒和第二敲除质粒,或者包括第一敲除质粒和第三敲除质粒,或者包括第一敲除质粒、第二敲除质粒和第三敲除质粒;所述第一敲除质粒能转录出序列为SEQ ID NO:1的第一向导RNA;所述第二敲除质粒能转录出序列为SEQ ID NO:2的第二向导RNA;所...

一种改良式携热器

本实用新型公开一种改良式携热器,包括依次连接的工作尖、第一预弯连接体、第二预弯连接体、连接手柄卡口和导电体;工作尖为向左或向右弯曲的短而弯的尖端,与第一预弯连接体成90°;第一预弯连接体与第二预弯连接体之间形成120°‑150°;连接手柄卡口分两部分,上部呈圆盘帽状,与第二预弯连接体连接,下部为有纹路的圆柱体卡口,与导电体连接。本实用新型所述的改良式携热器能应用于根尖倒预备后的逆向牙胶切断,用于辅助口腔科显微根尖手术中根尖倒预备的过程,...

咽拭子

本实用新型的实施例提供了一种咽拭子,涉及咽拭子领域。旨在改善现有的咽拭子在获取标本的过程中存在标本易污染的问题。其包括拭子管、橡胶件、驱动件和棉签棒;拭子管设置第一缝隙;橡胶件设置第二缝隙;驱动件与第二缝隙滑动配合,驱动件与棉签棒连接,驱动件用于在外力作用下相对于拭子管滑动时,带动棉签棒移出或移入拭子管;在驱动件沿第二缝隙滑动的过程中,第二缝隙始终密封,棉签棒始终与拭子管间隔设置。通过手动推动驱动件沿第二缝隙滑动,带动棉签棒移出拭子管,...

一种新型输液固定板

本实用新型公开了一种新型输液固定板。一种新型输液固定板,包括固定板,其中,在所述固定板的两侧对称设有至少两组固定环,每一组所述固定环之间均通过一绑带连接在一起,在所述固定板上设有能够提高空气流通性的通孔,以及,在所述固定板上设有凹槽,所述绑带上可拆卸装设有保护套,在所述绑带上还设有能够用于调节该绑带长度的调节扣。本实用新型一种新型输液固定板,固定患者手部的效果好并且能够很好地保护患者手部和提高患者的舒适感。

一种耳科手术用束发带

本实用新型涉及一种耳科手术用束发带,包括用于对头发包裹收纳的收容袋,还包括用于将患者头发进行束紧限位的限位组件;所述限位组件包括至少三个平行等距分布的限位板和通过弹性铰接轴设置于限位板顶端可与头发相接触的夹板。该耳科手术用束发带,通过夹板、限位板、束紧件、弹性绳和卡扣件的配合使用,医护人员可利用弹性绳及束紧件将限位板进行连接,此时形成圆形的限位板可对患者头部进行卡箍,并利用夹板尽可能的将患者头发向上拨动限位,此时再将收容袋利用卡扣件固定...

一种新型可充气式口咽通气导管

本实用新型公开了一种新型可充气式口咽通气导管,该口咽通气导管创新性的在连接管和弯曲尾管之间设计了可以通过充气管进行充气的气囊,并在气囊中间设置了中间直管,在使用时,将瘪的气囊放置到患者口腔内正确的位置后,通过充气管给气囊充气,并立即接入呼吸气囊改善患者通气,避免了因患者意识模糊不愿意配合抢救吐掉,或因通过患者口咽通气导管吸痰而带出口咽通气导管的尴尬,并在进气管前端还设计了可以直接与简易呼吸装置对接的气囊接头,该装置解决了传统的简易呼吸气...

一种结构改进型的新型口咽通气导管

本实用新型公开了一种结构改进型的新型口咽通气导管,由气囊接口、接气管、转角管、进气管、腔内气囊和弯曲通气管组成,该结构改进型的新型口咽通气导管创新性的在进气管和弯曲通气管之间设计了椭球形结构的腔内气囊,并在接气管的前端还设计了可以直接与简易呼吸气囊对接的气囊接口,免去了传统患者使用面罩的通气方式,并且在对患者抢救时,该新型口咽通气导管的腔内气囊可直接放入患者口腔内,并可以立即接入呼吸气囊,改善患者通气,解决了传统的无插管患者使用前需要将...

多功能标识牌

本实用新型公开了多功能标识牌,包括连接板,所述连接板的顶部和底部均固定连接有安装块,所述安装块的左端固定连接有连接管,所述安装块的右侧贯穿设置有转杆,所述转杆的右侧固定连接有转盘,所述连接板正表面的右侧固定连接有指示牌,所述连接管相对的一侧开设有长孔。本实用新型通过设置安装块、转杆、转盘、指示牌、指示卷纸、安装壳、转块、弹簧和卡块的配合使用,具备便于使用和便于查看的优点,解决了每个标识牌都需要医护人员进行逐个书写,在护士需要对病人进行护...

具有防枕骨隆突压疮帽

本实用新型公开了具有防枕骨隆突压疮帽,包括帽体,所述帽体的周边针织连接有帽边,所述帽边正面顶部的左侧针织连接有魔术母贴,所述帽边正面顶部的右侧针织连接有魔术公贴,所述帽体内腔的背面设置有防压疮泡沫敷料,所述帽边正面的底部设置有松紧,所述帽体的材质为柔软透气性好的面料,所述帽体包括第一防护层和第二防护层,所述第一防护层的内表面与第二防护层的外表面固定连接。本实用新型具备防枕骨隆突压疮的优点,解决了危重长期卧床或体型瘦弱的患者枕骨隆突易发生...

一种新生儿护理模型

本实用新型公开了一种新生儿护理模型,属于护理模型技术领域,包括支撑架,所述支撑架顶部一侧的中部处开设有头部放置组件,所述支撑架顶部靠近所述头部放置组件处设有颈部弹性支撑组件,所述支撑架顶中部处安装有滑动调节组件,且所述滑动调节组件的顶部设有腰部支撑组件,通过将婴儿模型的腰部放置在腰部支撑组件的内顶部处,实现对婴儿模型的腰部起到良好的支撑功能,使其避免腰部架空而不舒服的问题,通过将小腿部放置在腿部支撑组件上,通过转动组件可转动至合适的位置...

一种新生儿科护理振动水床

本实用新型公开了一种新生儿科护理振动水床,属于振动水床技术领域,通过向进水口内加入清水,启动电加热组件对底座内的水进行加热,将水床加入至弹性夹持组件的内侧,然后实现对水床的加夹持,使其水床便于拆卸和清洗且也可以便于安装在弹性夹持组件的内侧,通过弹性支撑筒组件对底座的支撑并在移动的时候起到缓冲的功能,通过放置仓对工件的放置,通过将婴儿放置在水床上通过将弧形盖盖在U型固定座的顶部。

一种新生儿护理用卧位枕

本实用新型属于医疗辅助设施技术领域,具体公开了一种新生儿护理用卧位枕,包括装置整体、固定带和矩形槽体,装置整体中间部位左侧固定连接有固定带,装置整体的中间部位右侧固定连接有凹槽,凹槽的内部嵌入连接有矩形槽体,装置整体的顶部左侧固定连接有物品放置槽,装置整体的顶部右侧固定连接有奶品放置槽,奶瓶放置槽的顶部活动连接有顶盖,顶盖的底部设置有加厚材料,可以和奶瓶放置槽形成密封结构,从而能够对其内部的牛奶进行保温,物品放置槽通过隔板分成四个区域,...