企业详情

返回
南方医科大学南方医院

 

科技成果

穿刺口压迫器

本实用新型的穿刺口压迫器,通过压力装置对穿刺口施加压力,避免在置管后或者拔管后由于对穿刺口施加的压力不够,使得穿刺口部位渗血渗液,造成伤口感染,压力装置下端固定的与其直径大小一致的吸液垫能够对渗血渗液进行吸取,保护皮肤避免发生压疮。且有固定简单方便、牢固的优点。

一种荧光探针及其在细胞染色中的应用

本发明提供一种荧光探针及其在细胞染色中的应用。该荧光探针的结构式如式(I)所示。本发明的化合物可用于细胞染色质致密程度分析,而且具有易于制备、荧光强度高、水溶性好、低荧光背景等特点;本发明的化合物可用于临床肿瘤病理组织切片的一步法快速荧光染色,无需水洗,并可辅助判断切片上的肿瘤细胞区域与正常组织细胞区域。

用于医院血液样本运输的无人机姿态控制方法及无人机

本发明公开了用于医院血液样本运输的无人机姿态控制方法及无人机,其中,方法包括:接收无人机目标姿态的控制指令;获取无人机当前姿态,并计算出当前姿态与目标姿态之间的姿态角控制误差状态量;获取无人机当前的飞行速度;基于增益调度算法和无人机当前的飞行速度,对初始P增益进行更新,得到更新后的P增益;根据更新后的P增益和姿态角控制误差状态量,计算出控制输出;基于控制输出,控制无人机的姿态。该方法通过获取无人机的飞行速度并结合增益调度算法,得到更新后...

用于慢性肾脏病血管损伤的生物标志物

本发明涉及一种用于慢性肾脏病血管损伤的生物标记物,具体涉及血清中原纤维蛋白1(Fibrillin1)用于慢性肾脏病血管损伤的生物标记物的应用。本发明提供了血清中原纤维蛋白1作为慢性肾脏病的生物标志物的用途,还提供了一种动态评估对象的慢性肾脏病血管损伤的试剂盒,能早期预警慢性肾脏病的血管损伤,并作为评估疗效及预后的靶点,对慢性肾脏病心血管并发症的筛查、诊断、治疗及预后具有重要意义。

可折叠推车

1.本外观设计产品的名称:可折叠推车。 2.本外观设计产品的用途:用于转移运送行动不便的人。 3.本外观设计产品的设计要点:在于形状。 4.最能表明设计要点的图片或照片:立体图。

改性骨水泥材料及其制备方法

本发明涉及一种改性骨水泥材料及其制备方法。所述改性骨水泥材料由液相和固相制备而成;所述液相由包括甲基丙烯酸甲酯单体、活化剂和阻聚剂的原料制备而成;所述固相包括具有核壳结构的颗粒,所述颗粒的核由包括聚甲基丙烯酸甲酯或者聚甲基丙烯酸甲酯聚苯乙烯共聚物,以及包括显影剂的原料制备而成;所述颗粒的壳由可降解高分子材料制备而成;所述可降解高分子材料选自聚乙二醇和聚乳酸‑羟基乙酸共聚物中的至少一种。本发明的改性骨水泥材料,可诱导骨组织生成和长入,与骨...

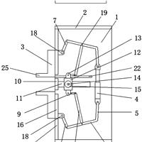
一种口腔护理用辅助张口装置

本发明公开了一种口腔护理用辅助张口装置,它包含两块平行设置的侧板(1),两块侧板(1)的上下两端分别通过顶板(2)固定连接成一体,两块侧板(1)一侧的开口处设置有上下对称设置的张口支架(3),两块侧板的内部设置有驱动张口支架(3)开合的驱动装置,两块侧板(1)的下方设置有集液装置;所述的驱动装置包含一根电动推杆(4),该电动推杆(4)的两端分别安装有与其转动连接配合的第一驱动杆(5)。本发明结构简单,能够根据患者目前的张口程度由医护人员...

一种冷藏试管盒改良结构

本实用新型公开了一种冷藏试管盒改良结构,包括盒体、置物抽屉和试管架,所述盒体的一侧通过合页活动连接有盒盖,所述盒体外侧面的底部开设有安装槽,所述安装槽的内部抽拉有置物抽屉,所述盒体靠近置物抽屉的内壁固定连接有固定块。该冷藏试管盒改良结构,通过试管架的设置,可以将需要冷藏的试管由试管插孔插入,试管的底端会接触到放置孔的表面,能够将试管稳定在试管架上,弹性卡块可以将试管固定在试管插孔内,避免在移动时与顶板发生碰撞,通过置物抽屉的设置,可以用...

5-氨基酮戊酸己酯醇质体在光动力抗白色念珠菌生物膜药物中的应用

本发明公开了5‑氨基酮戊酸己酯醇质体在光动力抗白色念珠菌生物膜药物中的应用。本发明检测对出5‑氨基酮戊酸己酯醇质体联合光动力对生物膜的抑制率达93%,且在48h内持续抑制生物膜的生长、增加白色念珠菌细胞膜的通透性,并通过减少生物膜中菌丝及细胞外基质的产生破坏生物膜的结构,提高氟康唑抗白色念珠菌生物膜的敏感性,降低生物膜的体内致病性,较0.5%HLA、空白醇质体、5%ALA、0.5%ALA对白色念珠菌生物膜的抗菌、抑菌、减轻致病力等作用均...

一种电极针穿刺组件

本实用新型公开了一种电极针穿刺组件,涉及医疗器械技术领域。该电极针穿刺组件包括电极针芯和穿刺针筒。穿刺针筒内设置有穿刺通道,电极针芯伸入穿刺通道,且能够在穿刺通道内滑动,穿刺针筒用于穿刺进入患者体内,且能够在患者体内转动,电极针芯用于伸出穿刺通道,且能够刺入患者体内的肿瘤组织。与现有技术相比,本实用新型提供的电极针穿刺组件由于采用了开设有穿刺通道的穿刺针筒以及滑动设置于穿刺通道内的电极针芯,所以能够快速准确地刺入肿瘤组织,减少穿刺次数,...

一种智能配药系统

本发明提供了一种智能配药系统,所述系统包括:云平台和配药装置;所述云平台用于存储不同症状对应的不同配药方案;配药装置包括:人机交互模块和控制器;所述人机交互模块用于输入患者信息;所述控制器分别与所述人机交互模块和所述云平台连接,所述控制器用于根据所述患者信息向所述云平台获取多种配药方案并发送至所述人机交互模块,以使患者通过所述人机交互模块选取一种最优配药方案。

一种抗肿瘤的联合用药组合物及其应用

本发明提供了一种抗肿瘤的联合用药组合物,所述联合用药组合物包含FGFR抑制剂和PD‑1抗体药物。本发明还提供了所述联合用药组合物在制备抗肿瘤药物中的应用。本发明联合用药物可以有效治疗癌症,效果明显优于单独的anti‑PD‑1抗体治疗和FGFR抑制剂Erdafitinib治疗单独使用,说明二者在配合使用后具有协同增效的作用,并且可以克服获得性耐药的发生,具有良好的临床应用前景。

静脉置管用扩皮刀

本实用新型公开了一种静脉置管用扩皮刀,包括刀柄和连接在所述刀柄一端的刀片,所述刀片具有长度为L的刀刃,所述刀柄沿其长度方向的一侧边设置有刻度部,所述刻度部相对一侧侧边设置有与所述刻度部位置对应的多个卡槽;所述刀柄外套设有一透明滑套,所述透明滑套的内壁在远离所述刀片一端的端部设置有与所述卡槽成过盈配合的卡榫,与所述卡榫位置相对的所述透明滑套上设置有V形槽,所述V形槽的槽底与所述刻度部的刻度点相对用于指示刻度;所述透明滑套在所述刀柄上滑动的...

携载miRNA的VB12结合型纳米复合物的合成方法及应用

本发明公开了携载miRNA的VB12结合型纳米复合物的合成方法及应用。合成方法包括将PLGA‑PEG纳米复合物、维生素B12、EDC和DMAP混合溶解在无水溶剂A中,15~40℃下搅拌反应;反应完成后,透析、去除溶剂得到维生素B12结合型纳米复合物。本发明的合成方法,制备条件温和,所需原料廉价,操作方便,工艺简单,高效实用。制备得到的纳米复合物,从水溶性、稳定性及肿瘤靶向性三大方面优化了核酸药物,赋予其高效、低毒的抗肿瘤作用,在肿瘤治疗...

VB12靶向型西地那非纳米药物的合成方法及应用

本发明公开了VB12靶向型西地那非纳米药物的合成方法及应用,合成方法包括将丝胶蛋白与VB12混合于无水溶剂A中,加入CDI和DMAP催化,反应制备VB12靶向型丝胶蛋白;将得到的VB12靶向型丝胶蛋白与α‑氨基酸‑N‑羧基环内酸酐混合溶解在的无水溶剂B中,充分反应;加入西地那非,充分反应后将混合溶液装入透析袋中,得到所述VB12靶向型西地那非纳米药物。本发明所需原料廉价,操作方便,工艺简单,高效实用,可以在温和的条件下将VB12偶联到纳...

测定尿液中钠含量的试纸

本实用新型涉及尿钠检测技术领域,公开了测定尿液中钠含量的试纸,包括基板,所述基板上包括pH检测区、氯离子检测区、钾离子检测区及钠离子比色区,所述pH检测区内设有pH试纸及pH比色卡,所述氯离子检测区内设有氯离子检测试纸及氯离子比色卡,所述钾离子检测区内设有钾离子检测试纸及钾离子比色卡,所述钠离子比色区内设有结合氯离子比色卡与钾离子比色卡的钠离子比色卡,通过钠离子比色卡能够得出尿液中钠离子含量;所述氯离子检测试纸上浸有硝酸铁,所述钾离子检...

一种乳腺及体部发泡胶放疗体位固定辅助工具

本发明公开了一种乳腺及体部发泡胶放疗体位固定辅助工具,包括握把,所述握把的一端沿握把轴向延伸有用于发泡胶膨胀成型阶段在发泡胶表面形成印记定位点的定位部,握把的另一端沿握把轴向延伸有用于发泡胶冷却成型后根据定位部形成的印记定位点垂直插入至发泡胶内的尖锐插入固定部。本发明的乳腺及体部发泡胶放疗体位固定辅助工具配合乳腺发泡胶定位技术,有效固定患侧手臂及手掌的位置,使患者患侧腋窝、锁骨上、胸壁等放疗照射区域重复性,精准性提高,有效保护各重要器官...

一种用于制作放疗体位固定用头颈部发泡胶的辅助工具

本发明公开了一种用于制作放疗体位固定用头颈部发泡胶的辅助工具,包括塑形板,所述塑形板的一面有两个手握把,塑形板的另一面有用于模拟人体头部平躺时的受力面情况的一塑形块一和用于模拟人体颈肩部平躺时的受力面情况的一塑形块二,塑形块一和塑形块二之间具有间隔。本发明的用于制作放疗体位固定用头颈部发泡胶的辅助工具能使发泡胶完美贴合患者的头部及肩部,减少头颈部肿瘤放射治疗的摆位误差,提高头颈部肿瘤放射治疗的精确性。

一种聚乙二醇和有机硅嵌段共聚物及其应用

本发明涉及一种聚乙二醇和有机硅嵌段共聚物,该共聚物的化学结构如下式(I)所示。本发明所述的聚乙二醇和有机硅嵌段共聚物可包载亲油性药物制备缓释药物,该药物在酸性条件下进行pH响应释放,而且稳定性好。

TPN分子在制备循环肿瘤细胞检测试剂中的用途及检测试剂和试剂盒

本发明公开了TPN分子在制备循环肿瘤细胞检测试剂中的用途及包含该TPN分子的检测试剂和试剂盒。本发明的TPN分子具有如下所示的结构,可以作为线粒体荧光探针,基于肿瘤细胞和正常细胞的线粒体差异,用于制备循环肿瘤细胞检测试剂,实现对外周血中少量循环肿瘤细胞的检测,TPN对肿瘤细胞的毒性较低,可很大程度地保留CTC的活性和基因完整性,用于循环肿瘤细胞检测,具有高度灵敏性,可精确检出受试者外周血中的少数循环肿瘤细胞,稳定性佳,准确性好,可为肿瘤...