企业详情

返回
南方医科大学深圳医院

 

科技成果

一种用于磁锚定腔镜手术牵拉暴露的磁锚定牵拉器械

本实用新型公开了一种用于磁锚定腔镜手术牵拉暴露的磁锚定牵拉器械,包括圆柱,所述圆柱的顶端固定连接有挂环,所述圆柱的底端固定连接有连接柱,所述连接柱的表面螺纹连接有底柱,所述底柱的底端开设有横槽,所述横槽的内前壁固定连接有阻尼转轴,所述阻尼转轴的下表面固定连接有活动杆,所述活动杆的表面嵌设有磁片层,所述活动杆的表面固定连接有半圆环,所述半圆环的表面固定连接有拉线,所述拉线的表面套接有弹簧。该用于磁锚定腔镜手术牵拉暴露的磁锚定牵拉器械,通过...

一种新型的消化道磁锚定定位装置

本实用新型公开了一种新型的消化道磁锚定定位装置,包括固定板,所述固定板的上下表面分别固定连接有半圆环和圆弧杆,所述圆弧杆的一端固定连接有圆弧插杆,所述圆弧插杆的一端固定连接有限位块,所述圆弧插杆的表面搭接有锁紧螺栓,所述半圆环的端面开设有圆弧收纳槽,所述半圆环的内壁固定连接有舒适层,所述固定板的侧面设置有缓冲层。该新型的消化道磁锚定定位装置,通过设置固定板、半圆环、圆弧杆、圆弧插杆、限位块、锁紧螺栓、圆弧收纳槽和舒适层,便于使半圆环带动...

一种临床用便携式多腔雾化吸入器

本实用新型公开了一种临床用便携式多腔雾化吸入器,包括筒体、握把、腔室、连接杆、压缩弹簧、插杆、导管、密封塞、多通管、盖体、汇集管、混合腔、活塞、推杆、引流管、雾化器、按压把手和雾化面罩。本实用新型的有益效果是:腔室设置有多个,便于同时放入多种药品,减少频繁更换雾化药的工作量,腔室的外侧均设置有刻度线,便于精准显示用药量,刻度清晰连接杆上设置有与插杆相配合的限位槽,便于盖体与筒体之间的安装与拆卸,汇集管位于混合腔的一端管内固定设置有单向阀...

一体式密闭灌肠引流装置

本实用新型适用于医疗器械技术领域,提供了一种一体式密闭灌肠引流装置,包括:集便袋,具有第一收集腔,并且其一端设置有肛门接口,另一端设置有储液接口;储液组件,包括储液连接件和储液件,所述储液连接件与所述储液接口连接;所述储液件包括储液瓶和设置在所述储液连接件上的流量调节器;引流袋,具有第二收集腔,并与所述集便袋连接。此外,本一体式密闭灌肠引流装置还具有报警装置,可以提示医护工作者相关操作已经完成。借此,本实用新型避免肛管插入及拔除过程大便...

一种自动研药鼻饲一体装置

本实用新型公开了一种自动研药鼻饲一体装置,包括筒体,设有投药口和取药连接口;密封组件,分别设置在投药口和取药连接口上;研药机构,设置在筒体内,研药机构包括作用部和驱动机构,驱动机构的输入端位于筒体上,驱动机构的输出端与作用部连接,驱动机构驱动作用部在筒体内往复运动;此自动研药鼻饲一体装置将研药机构设置在鼻饲装置的筒体内组成封闭式结构,药物通过投药口进入筒体内,利用研磨机构对在筒体内的药物充分研磨后,即可直接通过取药连接口使用,减少药物洒...

一种心电监护导线及其心电监护仪

本实用新型公开了一种心电监护导线及其心电监护仪,心电监护导线包括收缩盘,设有五个开口;对接线;五条导线,各导线的一端分别位于各开口上;五个自动收线器,各导线分别与各自动收线器连接,自动收线器具有单向锁紧和松开的工作状态,单向锁紧时各导线能从各开口处单向向外伸出,松开时各导线具有回退的趋势,直至导线的一端复位至开口处;此心电监护导线通过在相应位置上设置开口对应不同的导线,导线在使用时可直接拉出,拉出后受自动收线器的单向锁紧并不会回退,保证...

膝关节烧创伤伸展的固定器

本实用新型适用于医疗器械技术领域,提供了一种膝关节烧创伤伸展的固定器,包括:保护垫,设置于所述固定器的中部,并与髌骨外形相适配;支撑组件,包括至少一对支架板,所述至少一对支架板分别设置于所述保护垫的上下两侧,并且分别支撑所述膝关节两端的大腿和小腿;第一调节组件,连接所述至少一对支架板,并调节所述至少一对支架板之间的距离;第二调节组件,分别与所述第一调节组件和所述保护垫连接,调节所述保护垫与所述支撑组件之间的距离。借此,实现了便于膝关节烧...

一种提升痰标本留取合格率的装置

本实用新型公开了一种提升痰标本留取合格率的装置,包括壳体、上盖、痰杯安置槽、卡槽、安置座、指示灯、计时器、固定槽、痰杯、上盖、杯体、卡板、高清摄像头、控制主板、调压器、电源接口。高清摄像头能够拍摄到杯体内的痰标本图像画面,并通过控制主板设置的图像分析处理模块将所拍摄的痰标本图像与图像储存模块内的图像进行合格率对比,可实现对患者所留痰液的检查,便于患者能够及时进行二次痰标本留样;通过设置的语音识别模块,将对比分析出来的合格率进行语音播报,...

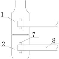
一种骨外科用固定夹板

本实用新型公开了一种骨外科用固定夹板,包括连接板,所述连接板的一端开设有第二固定槽,所述第二固定槽的内壁表面固定有固定块,所述第二固定槽的内壁一端开设有第一固定槽,所述连接板的另一端表面开设有第四固定槽,所述第四固定槽与第二固定槽相契合;通过设计的固定块、卡板、第一固定槽、第三固定槽和弹簧,可以将两个连接板连接固定,在对患者进行治疗时,可以根据患处的骨裂面积选择固定夹板的长度,提高了结构的灵活性,同时也避免了材料不必要的浪费,通过设计的...

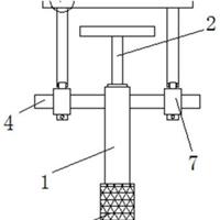
一种骨外科用断钉取出装置

本实用新型公开了一种骨外科用断钉取出装置,包括螺母旋套、内压紧螺杆、断钉件和旋动机构,所述螺母旋套螺纹旋合套设在断钉件上,且上端垂直相背固定有两个手柄,所述旋动机构包括外螺母套和旋动组件,所述外螺母套套设安装在螺母旋套下端表面,所述旋动组件包括支撑杆、手轮和卡紧组件,所述支撑杆呈“U”型,且下端与卡紧组件转动连接,所述卡紧组件可套设卡紧在手柄上,所述支撑杆上表面垂直固定有固定柱,所述手轮固定在固定柱端部;本实用新型通过设置有旋动机构,既...

一种骨外科用骨折矫正装置

本实用新型公开了一种骨外科用骨折矫正装置,包括手指夹板,所述手指夹板的端部设置有延伸板,所述手指夹板的端部开设有滑槽,所述延伸板的端部固定有滑块,所述滑块与滑槽滑动连接,所述滑块的表面等距离对称开设有限位槽,所述滑槽的内壁等距离对称固定有限位扣,所述限位扣与限位槽卡合连接;本实用新型通过设计的延伸板,使得在需要调节手指夹板的长度时,可以通过设计的延伸板、滑槽、滑块、限位槽和限位扣方便快捷的进行调节,相比较现有的技术,大大方便了手指夹板的...

一种角膜缘干细胞采集器

本实用新型公开了一种角膜缘干细胞采集器,其包括:壳体,所述壳体设置有上端开口的安装空腔,所述壳体底部设置有刀口,所述刀口连通所述安装空腔,所述刀口与所述安装空腔连接处设置有一个向下的台阶;刀把,所述刀把安装在所述安装空腔内远离所述刀口的一侧;平刀,所述平刀固定安装在所述刀把底部;隔板,所述隔板竖直滑动安装在所述安装空腔内并抵着所述弹性压环的一端;配合手把,所述配合手把安装在所述安装空腔靠近刀口的一侧;切刀,所述切刀安装在所述配合手柄外侧...

一种角膜上皮再生细胞片制备器

本实用新型公开了一种角膜上皮再生细胞片制备器,其包括:第一培养皿;以及第二培养皿,所述第二培养皿包括一上端开口,伸入至所述容纳腔室内,且与所述容纳腔室内底面之间留有间距的筒体,以及一设置在所述筒体上端开口处,且向开口外侧延伸,与所述第一培养皿的开口相配合的凸缘。本实用新型通过第一刻度线和第二刻度线的设计,当需要倒入相应培养液时,只需用对应的试管吸取对应的培养液即可实现精准滴液;同时,球面形细胞再生载体采用N‑异丙基丙烯酰胺,使得培养完成...

miR-1207及其靶基因在检测喉鳞癌中的应用

本发明公开了miR‑1207及其靶基因在检测喉鳞癌中的应用,所述靶基因为LOC339685或LOC400706。本发明公开了检测LOC339685或LOC400706的试剂在制备诊断喉鳞癌的产品中的应用,同时公开了LOC339685或LOC400706在制备治疗喉鳞癌的药物中的应用。

肋骨骨折的复位装置

本实用新型公开了肋骨骨折的复位装置,其包括固定架和支撑杆,固定架包括横杆和两个第一竖杆,两个第一竖杆分别位于横杆的两端,支撑杆的中部安装在横杆的中部,支撑杆垂直于横杆,支撑杆的两端分别布置有摆动臂,摆动臂的一端布置有直杆,直杆的下端布置有骨针,支撑杆的两端分别布置有用于安装摆动臂的套筒,套筒的外侧成型有用于安装摆动臂的安装轴。临床使用时摆动臂具有上下和左右两个维度的调整方式,采用微创手术的方式将骨针与断裂的肋骨安装,再调整摆动臂使肋骨对...

一种引流管

本实用新型公开了一种引流管,其包括管本体和疏通管,管本体一端为伸入患者胸腔的置入端,管本体的另一端布置有排液端和引导端,疏通管从引导端伸入管本体,疏通管伸入管本体的一端成型有可充气的球囊。需要疏通引流管时,向球囊充气,拉动疏通管,球囊将引流管中堵塞物排至排液端,便于排出。本实用新型结构合理,可广泛应用于医疗器械技术领域。

医用型挤管器

本实用新型公开了医用型挤管器,其包括两个交叉的钳柄,两个钳柄中部铰接安装,钳柄的前端布置有滚动件,钳柄的前端成型有用于安装滚动件的安装部,安装部的后端成型有用于抵住滚动件的环形阻挡部,安装部前端的侧面成型有通孔,通孔插入有限位销,两个钳柄的中后端之间布置有压缩弹簧。医生握住钳柄末端使两个滚动件夹住引流管,顺着引流管移动,滚动件挤压引流管中的堵塞物,将它们从引流管排出,从而疏通引流管。本实用新型结构合理,使用方便,可广泛应用于医疗器械技术...

一种悬雍垂保护套

本实用新型公开了一种悬雍垂保护套,包括悬雍垂保护罩和拉管,所述悬雍垂保护罩的相对两侧分别设有所述拉管,所述悬雍垂保护罩呈凹陷状。使用悬雍垂保护套时,悬雍垂保护罩对悬雍垂进行遮盖,同时利用拉管进行位置固定保护病患的悬雍垂,可减轻治疗或手术过程中对病患造成的不适,降低意外受伤的可能性。

多功能便携式药盒

本发明公开了一种多功能便携式药盒,包括从上到下依次连接的盒盖、切药平台、磨药装置和储药装置,盒盖与切药平台通过铰轴连接;盒盖的内侧中部设有切药刀片,切药平台上设有与切药刀片相对应的药品固定装置;磨药装置包括研磨锤和研磨槽,研磨锤为顶端开口的中空结构,研磨锤的底端为半圆形,研磨锤的下部设有第一外螺纹,研磨槽的内壁上设有与研磨锤下部的第一外螺纹相配合的第一内螺纹。本实用新型轻便、小巧,方便患者外出携带;切药刀片切割药物,使药物分割更均匀,剂...

一种新型手术烟雾抽吸装置

本实用新型提供了一种新型手术烟雾抽吸装置,包括:一罩体、一吸烟装置和一吸引管道;罩体包括一吸烟环罩和一侧壁;吸引管道包括一第一吸引管、一第二吸引管和一开关。其优点在于:该装置拥有两种抽吸方式:罩体抽吸和吸引头抽吸;在罩体抽吸方面,通过增设可活动的环形侧壁,一方面能够更为灵活地运用于手术场景中,防止罩体对手术操作造成阻碍,另一方面也能够有效避免有害烟雾的逸散;在吸引头抽吸方面,吸引头能够自由伸缩弯折,能够更好地抽吸狭窄深入手术位置处的烟雾...