企业详情

返回
南方医科大学珠江医院

 

科技成果

一种用于帕金森病的脑神经双路刺激智能调控方法及系统

本发明公开了一种用于帕金森病的脑神经双路刺激智能调控方法及系统,涉及医疗和神经工程技术领域,包括:基于刺激电极获取目标患者的神经电信号,根据神经电信号确定神经活动特征;刺激电极包括第一刺激电极和第二刺激电极;根据神经活动特征确定神经评估值,并基于神经评估值生成协同刺激参数;基于协同刺激参数调节刺激电极的初始刺激参数,并通过刺激电极对目标患者实施刺激,完成用于帕金森病的脑神经双路刺激智能调控。本发明通过引入异常振荡模式和神经网络同步性特征...

一种具有异常监测报警和引流液颜色识别功能的引流袋

本实用新型公开了一种具有异常监测报警和引流液颜色识别功能的引流袋,包括引流袋本体,所述引流袋本体上设置有颜色传感器、报警器,所述颜色传感器、报警器均与一控制器电连接。本实用新型具有能够降低护理人员的工作量并及时提醒护理人员处理异常情况、有效地保障患者的生命安全、促进患者康复的优点。

一种空间单细胞基因多组学定量预测的方法及装置

本发明提供一种空间单细胞基因多组学定量预测的方法及装置,涉及单细胞识别技术领域,该方法构建了一种针对H&E染色切片的AIHE多组学深度学习模型,首先将多组学数据转换为二元变量数据,并将H&E染色切片处理为WSI格式图像块,并对WSI格式图像块中的细胞进行区域标签设置,再将含有单细胞的区域标签的WSI格式图像块作为AIHE多组学深度学习模型的输入,并将转换后的二元变量数据作为AIHE多组学深度学习模型的训练目标,对AIHE...

一种气管内气囊压力监测系统

本申请公开了一种气管内气囊压力监测系统,设置于气管插管上以监测气管插管端部气囊的压力;其属于医疗器械领域。包括:插管,包括用于插入鼻腔/口腔的管壁以及管壁所限定的管腔;气囊,设置于管壁上且与管腔连通;气膜,设置于插管远离气囊的端部并与管腔连通;第一连接件,固定设置于气膜上;气压组件,设置于第一连接件上;其中,气膜形成注气口以连通管腔,第一连接件形成与注气口连通的连通腔;气压组件包括设置于连通腔内并与注气口连接以将气体注入管腔的注气部件以...

一种可视化无菌加温手术毯

本实用新型公开了一种可视化无菌加温手术毯,包括贴膜层和加热层,加热层设置在贴膜层的一侧面并且用于与人体接触,加热层及贴膜层均设置有供医护人员进行手术操作的手术切口;加热层内部具有以水平方向延伸设置的气腔;加热层与人体接触的一侧面设置有与气腔连通的若干个微气孔,微气孔围绕手术切口及向加热层四周进行阵列布置;加热层设置有与气腔连通的充气孔,充气孔连接外部供应暖气体的供气系统。因此,通过在加热层接触人体的一侧面设置连通气腔的若干个微气孔,从而...

一种镇痛访视用的工具结构

本实用新型公开了一种镇痛访视用的工具结构,所述工具结构包括工具包、侧袋、物品储存仓,将侧袋与工具包的一侧相连,物品储存仓安装于工具包的另一侧,在工具包的内部设有一个回收废弃镇痛泵的容纳腔,在工具包的背面缝制有两条对称分布的肩带,物品储存仓包括储药箱、若干隔板、紫外线杀菌灯,紫外线杀菌灯安装于储存箱的侧壁顶部,储药箱被若干隔板划分为用于存放镇痛访视所需物品的若干存放格。本实用新型的工具结构通过设置有肩带,方便医护人员携带,便于医护人员镇痛...

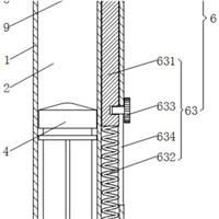
一种耦合剂加热装置

本实用新型涉及胎儿检测技术领域,具体为一种耦合剂加热装置,包括用于水浴加热用的存储座,存储座顶部开设有安装槽,安装槽中设有存储耦合剂的收集筒,存储座左端靠近底部处设有加热板,存储座上方设有用于密封的顶盖,存储座内壁与外壁之间的空心区域为水浴层;该耦合剂加热装置,通过设置带有多个安装槽的存储座,收集筒与对应的安装槽插接配合,在收集筒中存储需要使用的耦合剂,顶盖的配合下收集筒内部的进行防护,带有加热棒的加热板配合下实现对水浴层持续加热,进而...

一种新生儿鸟巢式俯卧位通气装置

本实用新型涉及新生儿护理技术领域,具体是一种新生儿鸟巢式俯卧位通气装置,包括巢体,所述巢体两侧滑动卡接有体位限制顶板,所述巢体内部底侧固定安装有俯卧支撑板,所述俯卧支撑板包括身体撑板和额头撑板,所述身体撑板上表面后侧边缘开设有胸腹悬空槽,胸腹悬空槽后侧边缘开设有脖颈凹槽。本实用新型中,由胸腹悬空槽边缘处给幼儿身体提供支撑,同时使幼儿脖颈处架空于脖颈凹槽处,再由额头撑板给幼儿额头处提供支撑,使幼儿胸腹、脖颈底部以及面部口鼻均处于悬空状态,...

抽吸式灌注装置

本实用新型公开了一种抽吸式灌注装置,包括针筒,所述针筒内设置有装药筒、抽药筒,所述装药筒、抽药筒均沿针筒的长度方向设置,其中,所述装药筒内滑动密封套接有活塞,上述装药筒远离活塞的一端通过一连通口与抽药筒连通,所述抽药筒内滑动套设有针头结构,所述针头结构的侧壁上开设有侧孔,以及,所述针筒上设置有灌注口,所述灌注口与抽药筒同轴连通,当所述侧孔与连通口连通时所述针头结构的尖锐端经灌注口伸出针筒外。本实用新型具有操作简单方便、能够有效避免药物二...

一种设置下肢固定机构的手术床

本实用新型涉及手术床技术领域,具体为一种设置下肢固定机构的手术床,包括支撑床,支撑床下方设有固定座,支撑床右端设有可调节角度的托盘,固定座顶部设有支撑柱,支撑柱顶部与支撑床底部连接,托盘左端与转动槽对应处设有转轴,支撑柱侧壁上铰接有电动推杆,托盘右端对称设有脚托,托盘右端与滑杆对应处开设有滑槽;该设置下肢固定机构的手术床,通过设置带有转轴的托盘与支撑床转动连接,且支撑床底部配合带有支撑柱的固定座,便于整体稳定独立放置配合,电动推杆的伸缩...

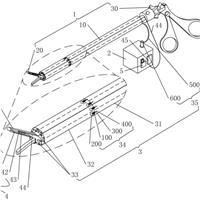
一种血管穿刺疼痛缓解装置

一种血管穿刺疼痛缓解装置,包括底座、调节臂和血管显像仪,其特征在于,所述底座与调节臂的一端连接,调节臂的另一端与血管显像仪连接,血管显像仪位于底座的上方;所述调节臂设有用于锁紧角度的调节旋钮;所述底座上设有药贴收纳槽、药膏挤出平台和刮板;所述药膏收纳槽设置引导板延伸至刮板处,且引导板位于药膏挤出平台的下方;药膏挤出平台设有三个挤出口和一个挤入口;所述挤入口与挤出口之间连通,且挤入口的上方接入药膏,药膏为利多卡因乳膏;所述血管显像仪上安装...

一种防损伤的灌肠器

本实用新型涉及灌肠器技术领域,具体为一种防损伤的灌肠器,包括用于存储药液的气囊球主体,气囊球主体右端设有用于连接管道的连接管,连接管右端设有用于导入肛门输送药液的导尿软管,气囊球主体右端的出口处设有螺纹管,螺纹管右端设有与内部连通的引导管,连接管左端与螺纹管对应处设有套管;该防损伤的灌肠器,通过设置气囊球主体在螺纹管与引导管配合下通过带有套管的连接管与导尿软管插接配合,连接管在套管与螺纹管螺纹连接下,有助于对连接管快速拆卸更换,且气囊球...

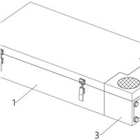
一种大血管一体化体外循环管道

本实用新型公开了一种大血管一体化体外循环管道,具体涉及医疗器械领域,包括台上包以及台下包,台上包包括主泵管、分流管以及回流管,且主泵管、分流管以及回流管连接处均设置有Y型连接件,位于所述回流管两端的主泵管分别为1200mmPVC管以及800mmPVC管,且表面分别标注有蓝标与红标,分流管为1500mmPVC管,且分流管两端分别标注有绿标以及黄标,所述回流管为1000mmPVC管,且表面标注有绿标,本实用新型通过台上包以及台下包将一体化体...

一种自加热药剂敷贴

本实用新型涉及药剂敷贴技术领域,具体为一种自加热药剂敷贴,包括用于药物外敷固定的敷贴片,敷贴片上表面设有用于加热的自加热包,敷贴片上方设有用于防水拦截的防水套,敷贴片下表面附着有用于与皮肤粘贴的胶层,敷贴片下表面中间处设有用于存储药物的药剂存储盒,敷贴片下方还设有用于胶层保护的剥离纸片;该自加热药剂敷贴,通过设置自加热包与敷贴片上的限位环插接配合,限位环限制安装的位置,且自加热包便于取出更换,持续对敷贴片底部药剂存储盒中药剂进行加热敷贴...

一种可提醒服药的装置

本实用新型涉及服药监测技术领域,具体为一种可提醒服药的装置,包括用于存储药物的药盒,药盒内部设有若干个用于三餐药物存储的存储组件,药盒右端设有控制盒,药盒顶部靠近后端处铰接用于可翻转的盒盖,控制盒顶部从前往后依次设有蜂鸣器与时钟,控制盒右端开设有环形槽,环形槽中设有侧盖,存储组件包括存储盒与存储盒铰接的密封盖,灯板中设有用于杀菌的紫外杀菌灯;该可提醒服药的装置,通过设置三个带有密封盖的存储盒,实现一日三餐药物收纳配合,密封盖上配合紫外杀...

一种定位装置

本实用新型公开了一种定位装置,包括:底板,底板顶端的四个端角位置处均设置有伸缩支柱,底板的上方位置处设置有躺板,躺板的下端与伸缩支柱的伸缩端固定连接,躺板的一端顶端固定有头枕。本实用新型提供的一种定位装置,通过紧固组件结构设计,使得在面对不同的患者时能够根据患者四肢的长度进行调节,从而提高固定的稳定性,并且能够适应不同粗细的肢体进行固定,有效的提高了装置固定的使用范围,提高了装置的实用性,同时通过升降组件的结构设计,使得能够将躺板的高度...

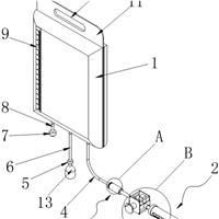
一种夜间护理治疗用输液报警装置

本实用新型属于医疗技术领域。本实用新型公开了一种夜间护理治疗用输液报警装置,包括与外部的输液器可拆卸夹持配合以监测输液状态实施输液滴空报警的输液报警器;在所述输液报警器的顶部设有一与该输液报警器的内部连通的导光罩,在所述导光罩上设有一能够放大光源以及调节色温亮度的用于照射外部的输液器的输液袋以便于医护人员或者病人适时观察输液状况以及时实施拔针处理的照明结构,其中,所述照明结构与所述输液报警器电连接。本实用新型具有能够进行输液滴空报警、在...

一种儿童用静脉营养置换液配置装置

本实用新型公开了一种儿童用静脉营养置换液配置装置,包括配置袋,所述配置袋底部一侧安装有第一输液管,且第一输液管与配置袋内部连通,第一输液管一端安装有密封机构,本实用新型通过密闭排液机构的安装,通过将多余的药液排放到排液量筒中,排液量筒与配置袋上均安装有刻度尺,有利于根据儿童的用药量进行准确的排液,无需多次穿刺抽取,避免了交叉污染的情况出现,提升了设备使用的安全性,并且通过密封机构中的密封膜的安装,提升了配置液的密封,避免了泄露的情况出现...

一种温度监测预警式可喷水腹腔镜钳

本实用新型属于医疗技术领域。本实用新型公开了一种温度监测预警式可喷水腹腔镜钳,包括由钳管、钳头和钳柄构成的腹腔镜钳结构;在所述钳管的外壁上套设有一与外部的带有生理盐水的储水箱连通用于对人体组织进行喷水降温以减少人体组织热损伤的喷水装置;还在所述钳头上嵌设有一用于对人体组织的温度进行监测预警以便于及时启动所述喷水装置工作实施降温作业的温度监测预警装置,其中,所述喷水装置、温度监测预警装置均通过导电线束与一设在所述储水箱外壁上的控制器电连接...

靶向ALKBH5并负载顺铂的框架核酸机器及其制备方法与应用

本发明公开一种靶向ALKBH5并负载顺铂的框架核酸机器及其制备方法与应用,该框架核酸机器的组成包括DNA四面体框架核酸和负载在DNA四面体框架核酸上的顺铂;其中,DNA四面体框架核酸由4条DNA单链杂交合成,至少一条DNA单链连接有靶向ALKBH5的siRNA。本发明提供的框架核酸机器,顺铂与修饰有靶向ALKBH5的siRNA的DNA四面体框架核酸结合后,两者之间可以发挥协同作用,显著抑制ALKBH5的表达以及抑制GBM细胞增殖并诱导G...