企业详情

返回
南方医科大学南方医院

 

科技成果

一种NK细胞用防损伤培养设备

本实用新型公开了一种NK细胞用防损伤培养设备,包括恒温箱本体,所述恒温箱本体内部滑动设置有存放盘,所述存放盘上端卡接设置有培养皿机构,所述培养皿机构包括培养盒,所述培养盒上端螺纹设置有防护盖,所述防护盖上端铰接设置有磁吸盖,所述磁吸盖外表面一侧固定设置有密封圈。本实用新型中,本装置通过将现有的培养皿进行改进,在防护盖上端开设一个小型的铰接盖和观察口,铰接盖通过磁吸设置,当只需要吸取或观察内部细胞情况时,便打开磁吸盖即可,减少打开时产生的...

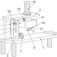
一种方便存取的干细胞培育装置

本实用新型公开了一种方便存取的干细胞培育装置,包括培育箱、转板和六个放置盘,所述培育箱内顶面中间处固定设置有固定柱,所述固定柱上下两侧内部之间转动设置有螺杆,所述螺杆上端贯穿培育箱上侧并固定设置有一号转盘,所述螺杆周身螺纹套设有螺纹套筒,所述螺纹套筒一侧铰接设置有连接杆,所述连接杆下端铰接设置有推块,所述转板上端靠外侧处开设有六个一号滑槽,六个所述放置盘下端中间处均固定设置有滑块,所述培育箱一侧固定设置有观察箱。本实用新型中,该培育箱可...

用于胃底静脉曲张组织胶注射的电动控制装置

本实用新型涉及医疗器械领域,尤其涉及一种用于胃底静脉曲张组织胶注射的电动控制装置,该装置可通过电动挤压的方式进行碘油和组织胶注射。包括一次性使用内窥镜注射针,一次性使用内窥镜注射针的注射手柄开口处连接正压接头,正压接头下开口处与三通接头的上开口相连接,三通接头下开口与第一电磁阀相连接,三通接头侧开口通过弯头与第二电磁阀相连接,第一电磁阀与第二电磁阀底部分别设有直通接头,直通接头分别与下方第一注射器和第二注射器相连接,第一注射器和第二注射...

心电导联线收纳装置

本实用新型涉及心电导联线收纳领域,尤其涉及一种心电导联线收纳装置,该收纳装置可简化结构,且能解决盒体较硬,易划伤患者或者工作人员,且结构较为复杂,不利于降低生产成本的问题。包括两端开口的皮套,皮套一侧设有豁口,豁口处设有拉链,皮套一端设有与导联线接头配合的固定器。固定器包括硅胶块,硅胶块呈长方体状,外侧面向内嵌有收纳导联线接头的矩形腔体,矩形腔体后侧设有与皮套连接的通孔,皮套一个端部粘接固定于通孔外侧的硅胶块上;硅胶块上方向下旋拧有对导...

一种预测肝内胆管癌患者预后的生物标志物、预测模型及应用

本发明公开了一种预测肝内胆管癌患者预后的生物标志物、预测模型及应用,属于生物医学领域。本发明利用BD Rhapsody平台对匹配的肝内胆管癌和癌旁组织进行单细胞测序,利用单细胞测序数据筛选出以SPINK1为代表基因的肿瘤细胞亚群,将该亚群与其他上皮细胞亚群进行差异表达分析,得到了249个差异基因。将这些差异基因进行机器学习,选出预测效能最优的GBM模型,并根据GBM模型建立了包含205个基因的预测肝内胆管癌患者预后的预测模型。该预后预测...

一种便于提高膝关节康复效果的三维牵引装置

本发明涉及医疗器械技术领域,公开了一种便于提高膝关节康复效果的三维牵引装置,包括床板,所述床板的底面四边角设置有支撑腿,所述床板的顶面横向滑动连接有牵引板,且所述牵引板的右侧面下端固定安装有牵引托座,并且所述牵引托座上设置有用于腿部绑定的绑带。该便于提高膝关节康复效果的三维牵引装置能够保障在膝关节康复进行牵引的同时进行按摩,加速膝关节的康复,增加了康复方式的多样性,增加康复效果,同时能够进行加热,确保膝关节及膝关节四周的温度处于合适的康...

一种骨科用冰敷装置

本实用新型涉及骨科冰敷领域,尤其涉及一种骨科用冰敷装置,该装置可解决背景技术中提出的现有冰敷装置不能塑形不能与局部组织有效贴合,弧形结构不能平铺以及护理垫厚度不能调节的问题。包括可塑形的固定带,固定带一端外侧面与另一端内侧面设有相互配合的第一粘扣带;固定带外侧设有侧开口的柔性套,柔性套侧开口底部与固定带下边沿固定连接,侧开口上端部通过拉链与固定带上边沿相连接;固定带内侧面设有若干层布条,最外层的布条外侧面与固定带内侧面通过若干矩形的第二...

一种便携式胸腔引流袋

本实用新型涉及一种便携式胸腔引流袋,包括袋体,该袋体上部设置有与袋体内腔连通的引流管,该袋体下部设置有与袋体内腔连通的排液管,在所述袋体的顶部还连接有提拉装置,该提拉装置包括安装板,该安装板的顶部设置有提手,该安装板的底部设置有若干柔性连接部,在所述安装板的侧部设置有若干与所述柔性连接部可拆卸连接的固定部,该固定部与所述柔性连接部一一对应;在所述袋体的顶部贯通设置有若干通孔,该通孔与所述柔性连接部一一对应,所述柔性连接部穿过所述通孔后与...

基于堆叠模型的肥胖遗传风险模型构建方法、设备及介质

本申请提供一种基于堆叠模型的肥胖遗传风险模型构建方法、电子设备及存储介质,该方法包括,获取数据集,所述数据集包括遗传特征数据,所述遗传特征数据包括单核苷酸多态性;应用随机森林对单核苷酸多态性进行筛选,以获取肥胖遗传风险相关的第一遗传特征集;应用分布式梯度增强库模型对单核苷酸多态性进行筛选,以获取肥胖遗传风险相关的第二遗传特征集;根据所述第一遗传特征集和所述第二遗传特征集获取显著遗传特征集;构建肥胖遗传风险模型;获取所述肥胖遗传风险模型的...

钉道开路器

1.本外观设计产品的名称:钉道开路器。 2.本外观设计产品的用途:主要用于骨科手术中的钉道开路器。 3.本外观设计产品的设计要点:在于形状。 4.最能表明设计要点的图片或照片:立体图1。

除颤仪

1.本外观设计产品的名称:除颤仪。 2.本外观设计产品的用途:用于对心脏骤停患者的心脏进行除颤。 3.本外观设计产品的设计要点:在于形状。 4.最能表明设计要点的图片或照片:立体图1。

柠檬外泌体在制备预防、缓解或治疗皮肤溃疡的药物中的应用

本发明涉及柠檬外泌体在制备预防、缓解或治疗皮肤溃疡的药物中的应用,本发明创造性地提取纯化柠檬中的外泌体,并对其生理功效进行了研究,柠檬外泌体能够降低巨噬细胞中炎症因子的表达水平,并且能促进皮肤溃疡的愈合,降低血糖,促进皮肤血管再生。柠檬外泌体具有疗效好、原料获取简单、毒副作用小的优点。

一种锌离子螯合剂在唑类药物抗白念珠菌生物膜中的应用

本发明公开了一种利用锌离子螯合剂增强唑类药物抗白念珠菌生物膜的方法,通过锌离子螯合剂N,N,N',N'‑四(2‑吡啶甲基)乙二胺(TPEN)和氟康唑的联合作用,能够降低白念珠菌生物膜的活性,抑制白念珠菌生物膜形成的早期黏附过程、中期酵母到菌丝的转换过程、晚期成熟过程,破坏白念珠菌生物膜结构,进而逆转白念珠菌生物膜对氟康唑的高度耐药性,并降低其致病性,有望解决白念珠菌生物膜形成导致的高度耐药和持续感染问题,为临床真菌感染的治疗及药物研发提...

一种普外科肠胃管固定装置

本实用新型涉及肠胃管固定领域,尤其涉及一种普外科肠胃管固定装置,该固定装置避免以头部为固定载体,减少胶带和其它用具与头部接触的面积,增加患者的舒适度。包括可塑形的n形支架,n形支架左右两侧竖向部分的下端部分别固定设有n形的卡板,卡板外侧分别向内设有限位螺栓;所述n形支架横向部分阻尼滑动套设有套管,套管底部固定设有可左右摆动的吊挂件。所述吊挂件包括横向左右开口的圆柱筒,圆柱筒底部设有横向的条形通孔,圆柱筒中可左右滑动设有球体,球体底部与松...

一种隔离衣悬挂支架

本实用新型属于医疗用品技术领域,尤其为一种隔离衣悬挂支架,包括悬挂支撑架,所述悬挂支撑架的顶部固定连接有阻尼伸缩杆,所述阻尼伸缩杆的端部固定连接有悬挂夹,所述阻尼伸缩杆与所述悬挂支撑架的连接处固定连接有加固连接座,所述阻尼伸缩杆两端的下方均对称设有连接弧板,且两个对称设置的连接弧板相互铰接,所述连接弧板的顶部固定连接有安装座,两个所述安装座之间固定连接有弹性连接杆,所述弹性连接杆的内部贯穿有第一牵引绳,且所述第一牵引绳的一端延伸至所述弹...

微波消融用注液组织分离针

本实用新型涉及医疗器械技术领域,公开了一种微波消融用注液组织分离针,穿设于病灶区与周围组织之间的间隙处,微波消融用注液组织分离针包括:针体,内部开设有贯穿其的通道,针体的针头外壁呈弧形(抛物线形),针头适于在超声引导下伸入间隙中,并利用杠杆作用撬开病灶区和周围组织;注水接头,设置于针体远离针头的一端,并与通道相连通,以适于向微波消融用注液组织分离针撬开的间隙注入液体,以形成稳定的液体隔离带。本实用新型提供的微波消融用注液组织分离针,使用...

一种创伤骨科用支撑装置

本发明提供了一种创伤骨科用支撑装置,包括底部支撑组件、脚部支撑组件和腿部支撑组件。其中,底部支撑组件安装在底板和腿板之间,使腿板可转动;脚部支撑组件固定在腿板上端,用于支撑和固定患者的脚部;腿部支撑组件安装于腰板上端,支撑患者大腿,分散腿部重力。通过多点调节实现腿部的精准支撑和固定,避免传统支撑装置稳定性差、调节不便的问题。底部支撑组件采用齿轮和内齿圈的啮合结构,可锁定腿板的位置,保证支撑稳定性;脚部支撑组件可调节角度和位置,使患者腿部...

一种下肢模具

本实用新型涉及医疗用具领域,尤其涉及一种下肢模具,该模具采用柔性冰垫进行降温,通过固定带的位置调节贴服程度,且设有对足部垫高的结构,有效解决背景技术中提出的问题。包括柔性的包裹套,所述包裹套整体呈上开口的圆柱筒状,且包裹套上开口处沿包裹套长度方向间隔设有若干横向的固定带,固定带一端与包裹套一侧外表面固定连接,固定带另一端内表面与包裹套另外表面设有相互配合的第一粘扣带;包裹套下半部分上沿嵌有豁口,豁口将包裹套分隔为腿部包裹部和足部包裹部;...

敲低或抑制ANT1的试剂在制备预防和/或治疗异位骨化的药物中的应用

本发明属于生物医药领域,具体涉及敲低或抑制ANT1的试剂在制备预防和/或治疗异位骨化的药物中的应用。本发明首次发现敲低或抑制ANT1的试剂在制备预防和/或治疗异位骨化药物中的应用。抑制ANT1后能够显著减少软组织损伤后形成的异位骨化;减少损伤肌腱中成骨细胞、软骨细胞、炎症细胞浸润,减少骨髓腔、血管形成,减少骨组织形成;显著抑制损伤后肌腱中成骨相关标志物OCN、RUNX2、ALP的表达;可以有效预防和/或治疗异位骨化。

快速抽液设备

本实用新型涉及医疗器械技术领域,具体为快速抽液设备,包括液体容器,以及位于液体容器下方的抽液机构和防逆机构;所述液体容器的表面设置有刻度标,所述液体容器的底部设置有穿刺管,所述穿刺管的表面开设有第一通液口,所述穿刺管的下方设置有限位块,所述抽液机构包括半球塞,所述半球塞的下方连接有挡板,所述挡板的下方设置有第二通液口。本实用新型通过将压杆向内按压,将抽液器内的盐水通过第二抽液管注射至稀释药瓶内,按压完成后压杆在复位弹簧的弹力作用下自动复...