企业详情

返回
南方医科大学南方医院

 

科技成果

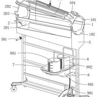
一种骨科创伤用伤口清洗护理设备

本发明提供一种骨科创伤用伤口清洗护理设备,属于医疗器械技术领域。包括支架,支架的顶部固定连接有积液罐,支架的中间位置处固定连接有安装板;定位组件用于对患者的小腿进行固定,定位组件与积液罐相连接;清理机构用于对患者的伤口进行冲洗清理,清理机构与支架相连接。本发明通过设置定位组件和清理机构,使得操作人员可以单人操作对患者的伤口进行清洗处理,在节省人力的同时提高了伤口清理的效率,而且清理过程中可以对清理液进行合理的利用,避免产生浪费;当伤口清...

康复用手腕稳定器

本发明公开了康复用手腕稳定器,包括穿戴套,所述穿戴套从手掌前部向后套至手腕后方;所述穿戴套前端对应五根手指开设有指洞;所述穿戴套前端套至手指根部使手指大部分外露;所述穿戴套对应手背的一侧沿手掌背、手腕至手腕后方分别设置有多个导引块;一姿态固定链依次穿过各导引块;所述姿态固定链外套设有弹性外套;所述姿态固定链包括多个依次首尾相对的链块单体以及同时从各链块单体中心沿轴向滑动穿过的拉线;通过其简单轻便的结构设计,成功实现了手腕姿态的灵活调节与...

一种医疗服装消毒装置

本实用新型提供一种医疗服装消毒装置,涉及医用设备技术领域,以解决装置在对移动架上的医疗服装取放的过程中容易造成消毒箱内热量损失,装置不易自动对消毒箱进行自动密封关闭的问题,包括消毒箱;所述消毒箱的顶部固定安装有一组顶板,消毒箱内还滑动安装有一组移动架,移动架上固定安装有两组挂杆,挂杆底部等距开设有挂孔,移动架上还固定安装有驱动底板;本实用新型的移动架移动至最外端时,两组密封门在导向杆上弹性件的作用下同时向内移动,以对消毒箱进行自动密封关...

一种带有翻斗功能的织物洗涤装置

本实用新型公开了一种带有翻斗功能的织物洗涤装置,涉及织物洗涤技术领域,包括洗涤壳体,所述洗涤壳体内壁底部的中心处固定连接有电动伸缩杆。本实用新型通过在洗涤壳体内壁的左右两侧设置支撑杆,在支撑杆外壁的两端设置有联动杆,启动液压伸缩杆,使液压伸缩杆推动联动杆一端与其连接的连杆,从而使连杆推动其顶部连接的闭合筒,将闭合筒的一角托起,通过在闭合筒外壁的一侧设置支撑板,利用支撑板的一端与洗涤壳体的外壁连接,对闭合筒进行支撑,从而达到将闭合筒翻斗倾...

一种医用头颈枕装置

本发明提供一种医用头颈枕装置,属于医疗工具技术领域。包括橡胶支撑垫,橡胶支撑垫顶部的一侧安装有枕骨区,橡胶支撑垫顶部的中间位置处安装有颈椎区,橡胶支撑垫顶部的另一侧安装有肩背区,限位组件,限位组件用于对患者头颈部进行支撑限位,限位组件与橡胶支撑垫相连接。本发明通过设置限位组件,不仅可以调节颈椎区的高度,进而适配不同患者的体型,从而提高本医用头颈枕的适用范围,还可以提高患者颈椎与本医用头颈枕的适配效果,从而提高患者的舒适度,以及头颈枕对患...

预防TIPS术后并发症的医护患一体化随访支持系统

本发明涉及医疗数据处理技术领域,具体涉及预防TIPS术后并发症的医护患一体化随访支持系统,包括:数据采集模块、并发症风险表现度获取模块和风险预警模块;用于获取患者的血氨正常度、心率、收缩压离散度增幅、已摄入蛋白质均量以及所属的术后阶段,获取患者在各随访时间的身体恢复度,得到恢复状态时序序列;获得患者的预后不良程度,对所述预后不良程度进行补偿得到患者的恢复风险系数;获得患者的体征风险系数,获得患者的并发症风险表现度;进行术后并发症风险提前...

脐疝治疗护理带

本实用新型涉及脐疝治疗领域,尤其涉及一种脐疝治疗护理带,该护理带能够调节与脐疝部位的压紧力度,换药时不用拆下护理带,且可简化结构,够降低成本的脐疝治疗护理带,有效解决背景技术中提出的问题。包括上下开口的螺套,所述螺套从上往下旋拧有螺柱,螺柱下端部可拆卸设有治疗包;螺套左右两侧分别与弹性固定带内端部固定连接,弹性固定带外侧连接固定座,所述固定座底面固定设有吸盘;固定座外侧分别与非弹性固定带内端部固定连接,右侧非弹性固定带底面与左侧非弹性固...

一种临床医学检验用实验平台

本实用新型涉及医学实验平台领域,尤其涉及一种临床医学检验用实验平台,该实验平台可通过跷跷板的形式对样本起到滑动转交作用,减小工作人员的劳动强度,提高工作效率。包括工作台,所述工作台呈扁平的长方体状,底面四角分别设有支腿,支腿底面固定设有具有限位功能的万向轮;工作台上方轴向设有矩形的托盘,所述托盘底面中心位置与支座铰接,支座安装于工作台上;托盘内表面为光面,托盘内可滑动设有一上开口的盒体,托盘两端部一侧分别向内旋拧有与盒体配合的限位螺栓。...

一种双层新型吸痰管

本实用新型涉及吸痰管领域,尤其涉及一种双层新型吸痰管,该吸痰管可解决以往吸痰管前端部插入时容易对患者气道内壁创伤,且抽吸时前端部直接与气道内壁挤触,容易出现抽吸性的损伤的问题。包括外侧的第一管体,所述第一管体前端面固定设有向内弯折的第一弧形弯折部;所述第一管体中插置有第二管体,第二管体前端面固定设有向内弯折的第二弧形弯折部;所述第一管体下端口固定粘接设有硅胶盖,硅胶盖中心位置设有与第二管体摩擦挤触配合的圆形通孔;所述第二管体前端部后侧阻...

一种硬膜外导管固定装置

本发明提供一种硬膜外导管固定装置,属于医疗工具技术领域。包括底座,底座的顶部固定连接有立柱,底座的底部安装有粘性橡胶垫,立柱的顶部插接有顶盖;固定组件,固定组件用于固定硬膜外导管。本发明通过设置固定组件,采用粘性橡胶垫与患者皮肤粘贴固定,这样的固定方式不仅牢固稳定而且不会伤害患者的皮肤组织,固定组件还可以对裸露在患者体外的硬膜外导管进行缠绕固定,防止手术过程中硬膜外导管被牵拉位移,提高硬膜外导管固定的稳定性,固定组件还可以对硬膜外导管的...

12-酮基石胆酸在制备预防或治疗急性缺血性肠损伤的药物中的应用

本申请涉及12‑酮基石胆酸在制备预防或治疗急性缺血性肠损伤的药物中的应用。本申请尝试将12‑酮基石胆酸(12‑KLCA)用于预防或治疗急性缺血性肠损伤,并且在构建的经典肠缺血再灌注模型上得以验证,验证结果显示,12‑KLCA明显改善小鼠肠缺血再灌注诱导的肠组织病理学损伤,提高小鼠生存率,降低凋亡因子活化半胱天冬酶‑3的蛋白表达水平,且效果明显,安全无毒,副作用小。

一类具有聚集诱导发光特性的金配合物及其制备方法与应用

本发明提供了一类具有聚集诱导发光特性的金配合物及其制备方法与应用,属于金属有机化合物领域。本发明所述的金配合物结构式如下所示: 。本发明制备的金配合物在低浓度下即可有效抑制真菌生长,展现出极强的抗真菌活性,并且对正常细胞的毒性很小,具有良好的生物相容性,能够对真菌感染进行荧光可视化成像,为诊断提供有力支持。

一种一体式凝胶递送装置及其医疗设备

本实用新型涉及一种一体式凝胶递送装置及其医疗设备,一体式凝胶递送装置包括注射器;注射器用于推注光敏水凝胶;注射器一侧分别设有喷气装置和紫外装置;喷气装置用于喷出气体,以带动注射器推注出来的光敏水凝胶向前喷射;紫外装置用于在喷气装置喷射的光敏水凝胶上施加紫外光以使其光固化。本实用新型装置采用气压带动需要递送的光敏水凝胶,由于喷气装置的气压可控,有效递送距离远,递送范围大,递送均匀,递送角度大,可操作性强,因此相较于传统的使用注射器递送凝胶...

一种急诊科用骨盆骨折固定装置

本实用新型涉及骨盆骨折固定领域,尤其涉及一种急诊科用骨盆骨折固定装置,该装置可塑形,能够有针对性的进行挤压定位,有效解决固定带固定存在的问题。包括柔性的固定板,所述固定板中嵌有十字交叉的可塑形的金属骨架,整体呈矩形结构,两个短边同一侧外表面均间隔设有若干带有穿孔的固定座,一个短边和另一个短边相对的固定座上穿置有螺杆,螺杆的穿出端设有第一螺母。所述固定座内侧的螺杆上分别设有第二螺母。它操作简单,使用方便,适用于多种患者。

一种具有调节结构的手术被单

本实用新型涉及一种具有调节结构的手术被单,包括保温单体和四个盖单,保温单体上设有贯通的让位洞口,四个盖单沿保温单体长度方向间隔布置在保温单体上,用于将让位洞口覆盖封堵,各盖单的一端均固定在保温单体上,另一端可拆式地粘接在保温单体上。本实用新型通过根据手术位置将相应位置的盖单的可拆卸端从保温单体上撕开,并将盖单卷曲在一侧,使得让位洞口与手术位置对应的区域暴露,方便手术进行,其余的盖单将让位洞口处手术部位以外的区域封盖,保温效果好,让位洞口...

足底减压提示器

本实用新型涉及糖尿病足底减压领域,尤其涉及一种足底减压提示器,该提示器安装在鞋子上,当患者足部下压时可发出声音报警,提醒患者抬足。包括底座,所述底座呈上开口的圆柱筒状,所述底座内底面固定设有控制板,所述控制板通过线路与一侧的蓄电池电连接,底座侧面嵌有与蓄电池电连接的充电接口,蓄电池一侧的底座上固定设有扬声器,扬声器通过线路与控制板电连接,底座侧面嵌有与扬声器配合的网孔;控制板上设有控制模块,控制模块一侧的控制板上固定设有凸起的立柱,立柱...

一种超声清创防感染收集袋

本实用新型涉及超声清创领域,尤其涉及一种超声清创防感染收集袋,该收集袋可收集超声清创刀操作过程中产生的飞沫和水雾,避免造成环境污染和感染的扩散。包括透明的袋体,所述袋体呈上开口的圆柱筒状,上开口处固定设有一圈柔性套环,套环呈中空结构且一侧设有豁口,套环中穿置有系绳,系绳的两端部分别从豁口两侧的套环中穿出;袋体上下中间位置的一侧设有圆形通孔;袋体底部一侧设有若干漏液孔。它操作简单,使用方便,适用于多种患者。

一种骨科康复护理装置

本实用新型公开了一种骨科康复护理装置,本实用新型涉及医疗康复设备技术领域,该骨科康复护理装置,通过设置扶手、防护架和辅助支撑组件,当辅助支撑组件向外拉伸的时候,可以辅助患者站起,患者站起后可以双手撑在两侧的辅助支撑组件上行走锻炼,相较于只能坐在轮椅上活动肢体,该辅助支撑组件能够完成康复行走训练,可以更加有效地帮助患者恢复肢体功能,康复护理效果更好,通过设置桌板、便盆和引流通道,便盆可以在患者极其不方便站立的情况下使用,使患者大小便能够在...

一种抗反流、可计量尿液收集装置

本实用新型涉及尿液收集领域,尤其涉及一种抗反流、可计量尿液收集装置,该装置可解决背景技术中所指接尿器上侧的立筒上没有设置用于与阴茎防脱落的连接结构,使用时容易造成立筒的脱落,且不能准确检测尿量的问题。包括上开口的第一袋体,所述第一袋体上开口设有与阴茎配合的防脱落结构,防脱落结构包括第一袋体上开口前后两侧固定设置的松紧带,松紧带两侧的第一袋体内表面分别固定设有前后粘接配合的粘扣带;所述第一袋体底部通过连接管与第二袋体相连接,连接管内设有防...

一种呼吸球囊专用清洗架

本实用新型提供了一种呼吸球囊专用清洗架,用以解决缺少专用呼吸球囊清洗架,目前呼吸球囊清洗效率低且清洗不干净的问题;一种呼吸球囊专用清洗架,由外框和固定在外框内部的清洗组件组成,所述的外框为网格状结构,所述的外框的底面上留有放置清洗篮的空间,所述的清洗篮用于盛放待清洗的呼吸球囊的配件,所述的清洗组件由支撑中空架以及分别连接在支撑中空架上侧的清洗杆和下侧的喷淋臂组成,所述的呼吸球囊置于所述的清洗杆的外侧,所述的清洗杆和喷淋臂上有数个喷淋口,...