企业详情

返回
南方医科大学南方医院

 

科技成果

一种防止输液器针头脱出的夹具

本实用新型公开了一种防止输液器针头脱出的夹具,其包括上夹持部和下夹持部,上夹持部和下夹持部之间布置有连接部,上夹持部包括两个上夹持臂,两个上夹持臂之间为上夹持区域,上夹持臂的下侧成型有第一限位面,下夹持部包括两个下夹持臂,两个下夹持臂之间为下夹持区域,下夹持臂的上侧成型有第二限位面。上夹持部用于夹持瓶颈,下夹持部用于夹持针柄,从而避免患者牵拉输液器时导致针头从瓶塞中脱出,减少输液器及药液污染。本实用新型结构合理,使用方便,可广泛应用于医...

一种侧链含氨基聚乙二醇-脂肪族饱和聚酯嵌段共聚物及其应用

本发明涉及一种侧链含氨基的聚乙二醇‑脂肪族饱和聚酯嵌段共聚物,该共聚物的化学结构如下式(I)所示。本共聚物是由聚乙二醇单甲醚、丁二酸酐和烯丙基缩水甘油醚开环聚合反应后再与巯基乙胺反应得到。本发明所述的共聚物可用于制备pH响应药物,该药物不仅对pH具有良好的响应性能,而且稳定性好。

新生儿尿布性皮炎辅助治疗器

本实用新型公开了一种新生儿尿布性皮炎辅助治疗器,包括辅助治疗器主体,辅助治疗器主体的顶部凹陷形成容纳腔,容纳腔的底部沿前后方向依次划分为头部区域、躯干区域、臀部区域和腿部区域,躯干区域处有开孔,开孔处有弹性网布,臀部区域处有便孔,便孔的后边缘处有氧气管,容纳腔的底部有防水垫,防水垫分布在头部区域处和弹性网布周围及便孔周围,辅助治疗器主体靠后端的左右两侧有弹性带,弹性带上有弹性穿脚环。本实用新型的新生儿尿布性皮炎辅助治疗器不会让大小便浸润...

一种简易榨汁机

本实用新型公开了一种简易榨汁机,包括外壳,外壳的下端有出汁口,所述外壳的内壁上接近外壳底壁的位置有榨汁压台,榨汁压台与外壳内壁之间具有与出汁口对应的出汁窄通道,榨汁压台与外壳底壁之间为拦渣空间,榨汁压台在出汁窄通道的边缘固定连接有朝下依次穿过拦渣空间、出汁口的引流杆,还包括供外壳高度可调节并可拆卸安装的安装座和于外壳内向下与榨汁压台对压榨汁且可自外壳内取出的榨汁压板,榨汁压板的上侧可拆卸连接有推杆。本实用新型的简易榨汁机在榨汁时可以直接...

一种胃切除术端口位置导航系统、装置及存储介质

本发明公开了一种胃切除术端口位置导航系统,包括至少一个处理器;至少一个存储器,用于存储至少一个程序;当至少一个程序被至少一个处理器执行,使得至少一个处理器实现以下步骤:获取穿刺端口的历史位置和解剖结构信息;获取CT数据,根据CT数据生成体位信息模型;通过体位信息模型,并根据穿刺端口的历史位置与解剖结构信息确定候选穿刺端口的位置;系统提供了更为开阔的视野角度、更精确的触觉感知;对手术数据进行整合,生成提供了标准的、可复现的操作指引;取代经...

淋巴结分站挑拣装置

本发明公开了一种淋巴结分站挑拣装置,包括车体,设置有放置台;以及拍摄装置,包括拍摄部、控制电路以及电路通断控制部,控制电路与拍摄部连接,拍摄部用于拍摄位于放置台上的淋巴结标本,电路通断控制部包括第一连接部和第二连接部,第一连接部和第二连接部配置为能够在相互连接和断开的两种状态之间切换,以使得第一连接部闭合或断开控制电路。使用该淋巴结分站挑拣装置对淋巴结标本进行挑拣时,医生可以通过操作第一连接部,使得第一连接部和第二连接部连通,此时控制电...

基于5G的智慧医疗管理系统

本发明公开了基于5G的智慧医疗管理系统,包括患者信息收集装置与患者信息认证装置,所述患者信息收集装置的下方设有患者信息认证模块,且患者信息认证模块的下方设有患者信息分类装置,所述患者信息分类装置的下方设有文字模块。本发明所述的基于5G的智慧医疗管理系统,设有文字处理器、图像处理器、声音处理器、患者信息认证装置与综合处理器,能够分别对不同的患者信息进行不同的处理,避免对所有患者信息进行统一处理带来的局限性,并能通过密码认证进入不同的患者信...

一种含多臂不饱和聚酯的抗菌水凝胶及其应用

本发明涉及一种含多臂不饱和聚酯的抗菌水凝胶,该抗菌水凝胶按重量比由多臂不饱和聚酯、多臂不饱和聚酯重量0.1~0.5倍的二甲基二烯丙基氯化铵和不饱和聚酯重量0.1~0.5倍的光引发剂组成,其中,所述的多臂不饱和聚酯由三乙醇胺、丁二酸酐和甲基丙烯酸缩水甘油酯开环聚合得到。本发明所述抗菌水凝胶所制备的抗菌活性凝胶,具有良好的亲水性和抗菌性能,且抗菌时间长。

一种手臂支撑装置

一种手臂支撑装置,涉及手臂支撑技术领域,包括手臂支撑部件、气压棒和底板,气压棒的内钢管通过支架固定在底板上,手臂支撑部件活动连接在气压棒另一端上;支架上设置有压杆,压杆与支架的左端活动连接,压杆的长度大于支架的宽度使压杆的两端位于支架的外面;压杆的中端与气压棒的控制销接触,压杆的右端的上方连接有脚踏装置,脚踏装置固定在气压棒的内钢管上。本实用新型通过将患者手腕放入手臂支撑部件进行固定,通过脚踩脚踏装置控制压杆来按动气压棒的控制销控制手臂...

一种乳腺活检定位针

本实用新型公开了一种乳腺活检定位针,涉及医疗器械技术领域,包括套管针,其内具有贯穿前后的内孔;以及预置在所述内孔的定位导丝,其包括位于前侧的定位端以及位于后侧的夹持端,所述定位端和所述夹持端通过导丝连接部连接,所述定位端包括定位针头,所述定位针头前端设置有倒钩,所述夹持端包括与导丝连接部连接的第二加粗钢棒,所述第二加粗钢棒前端位于所述内孔中。上述技术方案通过设计第二加粗钢棒,使定位导丝容易夹持和被固定在原位,且第二加粗钢棒前端位于内孔中...

达沙替尼和槲皮素药物组合物在制备预防和/或治疗糖皮质激素副作用药物中的用途

本发明属于医药技术领域,特别涉及达沙替尼和槲皮素药物组合物在制备预防和/或治疗糖皮质激素副作用药物中的用途。尽管产前应用地塞米松对新生儿有诸多益处,但是其危害也不可忽视。糖皮质激素会导致胚胎发育迟缓和子代出生后的相关疾病。本发明的药物组合物达沙替尼和槲皮素可以改善子代骨表型和糖皮质激素应用对BMSCs的抑制作用。

出量和入量记录方法、系统、装置和存储介质

本发明公开了一种出量和入量记录方法、系统、装置和存储介质,出入量记录方法包括对第一图像和所述第二图像进行图像识别处理,识别出排泄物和食物的种类和数量,确定食物和排泄物的含水量,确定出量和入量等步骤。本发明通过使用智能终端来记录患者的出入量,可以有效避免多记漏记和记录混乱等情况,方便医院等机构对医疗数据进行系统性管理,有助于制定对患者的医疗措施。本发明方法通过计算机系统执行,可以代替现有技术中医院人员的部分工作,减轻医护人员的工作负担,避...

带压力感应装置的吻合器

本实用新型为一种带压力感应装置的吻合器,它的主体为吻合器,抵钉座与旋钮之间设有通过带有应变式压力传感器的连接结构实现相互联动,使得当旋钮带动抵钉座向钉仓方向移动并接触阻挡物时,应变式压力传感器检测阻挡物对抵钉座的压力。较之现有技术而言,本实用新型的优点在于:通过提供直观的压力数据或警报让医生能够准确判断手术的最佳时机,降低医生手术操作门槛;在术中给以合理的组织压榨范围,避免出现成钉不一致、二次成钉等现象;提高手术的成功率,降低了手术风险...

冠脉介入诊疗用的旋磨头导管

本实用新型涉及一种冠脉介入诊疗用的旋磨头导管,分为连续的头段、体段和尾段三部分;头段为橄榄状的旋磨头,其双面镶嵌有金刚石微粒;体段为相互嵌套的鞘管和驱动杆,驱动杆内部为旋磨导丝通道,连通旋磨头内部;鞘管与尾段的导管体相连,连接处为锥形操控段,表面具有网格状纹路;驱动杆穿过导管体的内腔,驱动杆的尾端通过驱动杆锁扣与外部的推进器连接,设有滑动管以固定连接处;导管体的后部装有导管体锁扣,用于连接外部的推进器。本实用新型所述的冠脉介入诊疗用的旋...

乙型肝炎病毒(HBV)特异性T细胞检测方法及其应用

本发明公开了一种HBV特异性T细胞检测方法及其应用。该发明针对现有技术只能对对应MHC分型的患者进行检测、HBV特异性T细胞频数低,很难检测到特异性T细胞的缺陷,在不构建抗原提呈细胞和antiCD28/CD49d或IL‑12的情况下,提取PBMC进行刺激,来检测HBV特异性T细胞。本发明不仅确定了试验中IL‑2的最适添加浓度和肽库的使用时机,节省了检测成本。

乙型肝炎病毒(HBV)特异性B细胞表位检测方法及其应用

本发明公开了乙型肝炎病毒(HBV)特异性B细胞检测方法及其应用。本方法首次利用HBV病毒蛋白重叠多肽对HBV感染者血清抗体识别的HBV蛋白B细胞线性表位进行检测,克服了现有技术中无法检测HBV特异性B细胞表位的技术缺陷;本发明使用的单肽检测浓度仅需0.68μg/mL,成本低,操作简单,快速,检测结果相较与现有技术更加准确,尤其是对于常规方法无法检测的慢性HBV感染,本发明在能完全检测到的情况下,还能对表位做出准确的分析,具有极高的市场价...

一种载药纳米复合物及其制备方法和应用

本发明提供一种载药纳米复合物及其制备方法和应用,所述纳米复合物包括mPEG‑PLA及包覆在mPEG‑PLA内的DOX和Ag‑Au‑Ag NRs,通过将DOX和Ag‑Au‑Ag NRs加入mPEG‑PLA溶液中,进行乳化、离心得到。本发明通过将DOX和Ag‑Au‑Ag NRs共同负载在两亲嵌段共聚物mPEG‑PLA中,能够降低DOX毒性。mPEG‑PLA具有pH刺激响应的结构,能够使得纳米复合物在酸性环境中加快释放。Ag‑Au‑Ag NR...

一种介孔金属有机框架及其制备方法和应用

本发明提供一种介孔金属有机框架及其制备方法和应用,该介孔金属有机框架由二硫键单体与金属离子通过非共价键连接形成,所述金属离子为Fe 2+ 和Cu 2+ 。本发明的介孔金属有机框架,具有肿瘤微环境响应性,载药量高,全身副作用低,而且肿瘤局部生物降解性好,药物局部释放充足,全身副作用低,该介孔金属有机框架有望推动肿瘤铁死亡及诊疗一体化的进一步发展。

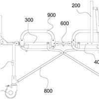
可折叠推车

本实用新型公开了一种可折叠推车,其包括床面架和支撑机构,所述支撑机构设置在所述床架主体的下方,且所述支撑机构上设置有万向轮;所述床面架包括依次设置的第一调节床架、第一承载床架、第二承载床架和第二调节床架,所述第一调节床架经第一折叠旋转机构与所述第一承载床架连接,所述第一承载床架经第二折叠旋转机构与所述第二承载床架连接,所述第二调节床架与第二承载床架铰接。本实用新型实施例提供的一种可折叠推车的第二调节床架采用气动弹簧推起折叠,推起角度可随...

适配组织透明化及离体脑片的成像平台

本实用新型公开了一种适配组织透明化及离体脑片的成像平台,包括平台主体、恒温装置和人工脑脊液循环机构,其中平台主体包括中空本体及观察台,观察台的底板的中部设有用于放置离体脑片的观察槽,人工脑脊液循环机构与观察槽相连通,使得观察槽内的人工脑脊液的循环能够得到控制,保证观察了观察槽内人工脑脊液的循环平衡,确保离体脑片保持活性,进而改善成像效果;同时,恒温装置设置在中空本体内,使平台主体的温度能够被控制及保持在正常生理温度条件下,最大程度地保证...