企业详情

返回
南方医科大学深圳医院

 

科技成果

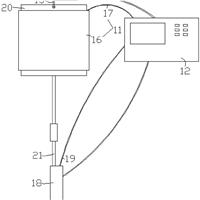
一种便携式上下肢一体镜像训练器

本实用新型提供一种便携式上下肢一体镜像训练器,涉及保健疗养技术领域,包括支撑平台,所述支撑平台的顶面中心位置处固定连接有活动镜像机构,所述活动镜像机构包括第一防护框,所述第一防护框与所述支撑平台之间固定连接,所述第一防护框的顶侧两端均固定连接有合页铰链,所述第一防护框通过两个所述合页铰链转动连接有第二防护框。本实用新型通过转动合页铰链,使第二防护框转动并与第二防护框折叠,将支撑平台放置在桌子上来进行上肢训练,反向转动合页铰链,使第一防护...

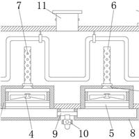
一种体外循环机用热交换器

本实用新型公开了一种体外循环机用热交换器,包括交换器壳体,所述交换器壳体的内壁嵌设安装有循环导液管,且交换器壳体的内底壁开设有两个位置相对应的安装孔,安装孔的内壁固定连接有固定盒,固定盒的内壁固定安装有半导体制冷片。该体外循环机用热交换器,通过设置固定盒、半导体制冷片、散热导风扇和导风套筒,利用散热导风扇可以将半导体制冷片制热端发出的热量输送至导风套筒中,在利用导风套筒表面若干个出风孔将热空气均匀散发在交换器壳体的内部,从而方便对交换器...

可控温的擦浴手套

本实用新型适用于医疗器械技术领域,提供了一种可控温的擦浴手套,包括手套加热层和手套擦浴层;所述手套加热层呈手套形状,并且其设置有加热装置;所述手套擦浴层套设在所述手套加热层的外侧,并且与所述手套加热层可拆卸连接。借此,本实用新型在整个擦浴过程中,实现恒温保暖、增加舒适、省时省力、有效清洁、抑菌杀菌的目的,在为患者有效清洁皮肤提高舒适性的同时,方便医护人员操作,减轻了医护人员的工作量,更重要的是减少了医院交叉感染的风险。

一种呼吸机的改良结构

本实用新型涉及呼吸机技术领域,且公开了一种呼吸机的改良结构,包括底座,所述底座的上表面固定连接有传动装置,所述传动装置的一侧转动连接有转动杆,所述转动杆的一端固定连接有调节杆,所述调节杆的上表面固定连接有套环,所述套环的上表面固定连接有第一固定块,所述第一固定块的一侧螺纹连接有螺栓,所述调节杆的一端通过螺纹螺纹连接有套筒。通过传动装置、调节杆、套筒、螺纹孔、套环、第一固定块、螺栓以及套筒的配合设置,使得呼吸机的呼吸管固定在套环上,通过调...

一种心胸外科康复护理装置

一种心胸外科康复护理装置,包括支撑架,所述支撑架上部中侧固定连接有固定板,所述固定板上部滑动连接有调节板,所述调节板左右侧均固定连接有坐板,所述固定板上侧中部固定连接有连接架,所述连接架右侧上部固定连接有中空的放置筒。本实用新型结构新颖,构思巧妙,有效地解决了心胸外科手术后,患者因卧床而上身得不到锻炼,需护理人员或家属协助患者进行康复锻炼,同时增加了工作人员的工作量,且锻炼效果不佳,也减低了患者早日康复的信心,不利于患者康复的问题。

黄疸治疗仪

本实用新型公开了黄疸治疗仪,包括用于安放婴儿的婴儿床,婴儿床的顶端栏杆设有灯光照射的滑动组件,滑动组件包括开设于婴儿床栏杆顶端的磁滑槽,两个磁滑槽的内腔滑动连接有壳板,壳板的底端两侧对称固定连接有驱动壳板滑动的驱动板,驱动板的内腔设有滚轮组件,壳板的顶端对称固定连接有驱动器,壳板的内腔固定连接有灯板,壳板的顶端固定连接有第一触摸屏,本实用新型涉及黄疸治疗仪技术领域;该黄疸治疗仪,通过驱动板控制驱动板内部的滚轮转动,使得壳板在婴儿床顶端的...

一种泌尿外科护理用改良型造口袋组件

本实用新型公开了一种泌尿外科护理用改良型造口袋组件,包括安装环,所述安装环正面连接有造口袋本体,所述安装环两侧均固定连接有U型板,所述U型板内部通过限位机构连接有支撑杆,所述支撑杆外表面套设有绑带,所述限位机构包括位于U型板顶部与底部一侧的套筒,所述套筒内部设有滑板,所述滑板底部贯穿固定连接有固定杆,所述固定杆底端固定连接有插杆。本实用新型在使用时,具有快速将绑带与U型板进行拆分,从而将绑带进行保留与下一个造口袋进行安装而重复使用,进而...

一种护理床垫

本实用新型公开了一种护理床垫,涉及床垫领域,包括第一床垫,第一床垫的上侧开设有第一空心槽,第一床垫位于第一空心槽的内部设置有第二床垫,第一床垫的下侧固定连接有固定板,第二床垫的下侧固定连接有L固定块,L固定块的上侧设置有卡接机构,固定板的外侧设置有复位机构,改善了现有大多数床垫都是一个整体,而不方便行动的病人,在需要在床上排泄时,不够方便的问题,本装置中卡接机构用于连接固定板和L固定块,使得固定板和L固定块能够顺利、稳定的连接在一起,而...

一种口腔正畸装置

本实用新型公开了一种口腔正畸装置,包括底座、位于底座顶部上方的活动架以及位于活动架顶部上方的支撑座,所述底座包括设置在底座内部的活动槽,且底座的顶部设置有贯穿至活动槽内部的空槽,所述活动架底部的中间位置处设置有贯穿至活动槽内部的活动块,所述活动槽内部的两端皆设置有贯穿至活动块内部的限位杆。本实用新型通过螺纹杆外侧的外螺纹和活动块内部的螺纹孔相互配合,可使活动块在空槽内部左右移动,通过限位孔可使活动块与限位杆发生滑动,通过限位杆使活动块的...

悬雍垂保护套

1.本外观设计产品的名称:悬雍垂保护套。 2.本外观设计产品的用途:用于在耳鼻喉及口腔手术中固定及保护悬雍垂。 3.本外观设计产品的设计要点:在于形状。 4.最能表明设计要点的图片或照片:设计1立体图1。 5.由于各设计后视图与主视图对称,省略各设计后视图。 6.指定设计1为基本设计。

一种滑动抽取式羊水试纸盒

本实用新型提供了一种滑动抽取式羊水试纸盒,包括:盒体、与盒体可滑动连接的盒盖以及抽拉板;抽拉板便于使用者抽取羊水试纸,使用简单,抽拉一次即拿取一张试纸,有效防止交叉感染;盒体外壁上可转动地设有盖板,盖板有效地将未使用的试纸与外界隔开,防氧化,有效地保护了试纸;盒盖随着羊水试纸的减少而下降;盒体外壁设有显示控制组件,盒体内设有计数组件,计数组件与显示控制组件的相互配合使得医护人员清晰的知晓羊水试纸的使用量;盒体内的干燥剂使得盒体内部呈干燥...

一种用于血管精准止血的施夹钳

本实用新型公开了一种用于血管精准止血的施夹钳,包括钳头、施夹钳管和手柄组件;所述手柄组件安装在所述施夹钳管右侧顶端;所述钳头安装在所述施夹钳管左侧顶端;所述施夹钳管内安装金属丝,所述金属丝左、右两端分别与钳头和手柄组件连接,通过操作手柄组件用以带动钳头进行开合运动;所述钳头设有上钳头和下钳头;所述上钳头前端设有摄像头,用于查看血管出血口;所述手柄组件顶端设有显示屏,所述显示屏用于观察出血口位置;本实用新型功能齐全,操作简单,能够快速精准...

一种具有排液功能的引流瓶

本实用新型公开了一种具有排液功能的引流瓶,设有排液瓶、积液瓶、水封瓶和调压瓶;所述排液瓶和积液瓶之间使用U型管连接;所述积液瓶和水封瓶之间通过第一通气孔连接;所述水封瓶和调压瓶之间通过第二通气孔连接;所述排液瓶、积液瓶、水封瓶、调压瓶和U型管的底部均设有排空阀;所述排液瓶的顶部设有排气孔,所述排气孔上设有排气阀;所述积液瓶的顶部设有引流管;所述水封瓶设有缓冲水室和储水室,所述缓冲水室和储水室的下部相连通;所述调压瓶的侧部设有调压管,所述...

一种防感染双腔气管插管

本实用新型公开了一种防感染双腔气管插管,包括双腔气管插管主体,所述双腔气管插管主体包括第一导管,所述第一导管的左侧面并行设置有第二导管,所述第一导管和所述第二导管的上端内壁上设置有多个第一凸点,所述第一导管内贯穿设置有定位装置,所述定位装置包括第三导管,所述第三导管的外圆面设置有第一气囊,所述第一气囊的表面分别设置有第二凸点,所述第三导管的左侧内壁上设置有硬质导丝,所述硬质导丝的后侧面并行设置有第一充气导管,所述硬质导丝的下端设置有第二...

一种穿刺型输液港置入器

本实用新型公开了一种穿刺型输液港置入器,包括穿刺针、导丝、扩皮刀、扩皮管、输液管、港体、鞘管和激发装置,所述港体为椭圆形结构并且具有可回弹的特性,所述港体设置于所述鞘管的内腔的一端,所述港体上设有金属接头,所述金属接头贯穿所述鞘管的一端用于连接所述输液管,所述激发装置滑动设置于所述鞘管的内腔并且贯穿所述鞘管的另一端,所述激发装置包括推杆和设置于推杆一端的推头,所述推头为锥形结构并且位于所述港体的一侧,用于将所述港体推出所述鞘管,所述穿刺...

一种家用黄疸治疗熏灯

本实用新型公开一种家用黄疸治疗熏灯,包括:底座和灯体,所述灯体的中部与所述底座转动连接;所述灯体的一端内设有湿化器,所述湿化器内用于容纳中药;所述灯体的另一端内设有蓝光灯。本实用新型主要是超声雾化的功能将治疗黄疸的中药喷出,配合蓝光灯使用,通过中西医结合的的方式治疗新生儿黄疸,使用方便,效果较好。

一种可以增压、升温及测速的输液装置

本实用新型涉及一种可以增压、升温及测速的输液装置,包括称重组件、安装在称重组件上用于悬挂输液袋的悬挂组件、用于挤压悬挂组件上的输液袋的挤压组件、对输液袋所连输液管加热的加热组件、工控机;称重组件、挤压组件以及加热组件,均与工控机电连接并受其控制。改进后的输液装置除了具备基本的悬挂功能,还具备对输液袋进行加压以加快液体输送速度、对所输送液体进行加热、检测液体滴速的功能。

一种医用毁形剪刀

本实用新型公开了一种医用毁形剪刀,包括:U型手持部,包括底部、第一握柄和第二握柄;连接部,包括与第一握柄连接的第一弯折件和与第二握柄连接的第二弯折件,第一弯折件与第二弯折件交叉;剪切部,包括与第二弯折件连接的第一刀刃和与第一弯折件连接的第二刀刃;弹力组件,设置在第一握柄和第二握柄之间;以及消毒囊袋,设置在第一弯折件,消毒囊袋的开口设置于第一刀刃,第一握柄和第二握柄相互靠近,第一弯折件与第二弯折件发生滑动,以使消毒囊袋受挤压。通过设置U型...

一种具有一体式消毒装置的采血针

本实用新型公开了一种具有一体式消毒装置的采血针,涉及医疗辅助器械技术领域,具体方案为:包括针筒,针筒内活动设有针头,针头连接一触发器,针筒远离针头的一端上设有按钮,按钮与触发器连接,针筒内还设有第一通道和第二通道,第一通道通过第一开口与外界连通,第二通道通过第二开口与外界连通,第一开口和第二开口分别设在针筒侧壁上;第一通道内设有消毒棉球和第一推棒,第一推棒固定连接第一控制器,第一控制器与针筒侧壁活动连接,第一控制器活动将消毒棉球推送至第...

一种超声导航磁牵引医疗器械装置

本实用新型公开了一种超声导航磁牵引医疗器械装置,包括括约器,所述括约器的侧面固定连接有体外导向管,所述括约器的内壁插设有输送鞘管,所述输送鞘管的表面嵌设有超声导航感应环,所述输送鞘管的内壁插设有引丝,所述引丝的左端设置有磁探头,所述括约器的右端开设有螺纹孔,所述螺纹孔的内壁螺纹连接有螺纹套筒,所述螺纹套筒的表面固定连接有调节手柄。该超声导航磁牵引医疗器械装置,通过设置括约器、体外导向管、螺纹套筒、调节手柄、固定板、限位块、复位弹簧和楔形...