企业详情

返回
南方医科大学深圳医院

 

科技成果

EB病毒miR-BART10-5p抑制剂的应用

本发明公开了EB病毒miR‑BART10‑5p抑制剂的应用。本发明利用微管形成实验和鸡胚绒毛尿囊膜实验分析发现,在鼻咽癌细胞中呈高度表达的EB病毒miR‑BART10‑5p能明显促进鼻咽癌血管新生。本发明的EB病毒miR‑BART10‑5p抑制剂是以EB病毒miR‑BART10‑5p的反义寡核苷酸为基础,经过系列修饰获得的,通过微管形成实验、鸡胚绒毛尿囊膜实验及基质胶栓实验,证实了EB病毒miR‑BART10‑5p抑制剂能够明显抑制鼻咽...

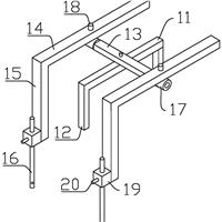
运动生物力学仿真结构的固定结构

本发明公开了运动生物力学仿真结构的固定结构,包括脊骨模拟板,所述脊骨模拟板的侧壁布置有多个用于安装肋弓弹簧的第一通孔,各所述第一通孔的下壁和/或上壁两侧分别布置有第一倾斜面,所述第一倾斜面中靠近第一通孔敞口端的一端低于其远离第一通孔敞口端的一端。通过在第一通孔的下壁和/或上壁两侧分别布置有第一倾斜面,所述第一倾斜面中靠近第一通孔敞口端的一端低于其远离第一通孔敞口端的一端。这样,第一通孔的两端形成从其中部到两端逐渐变化的导槽,该导槽的开口...

运动生物力学仿真结构的肋弓结构

本发明公开了运动生物力学仿真结构的肋弓结构,包括脊骨模拟板、倾斜布置的胸骨模拟板以及肋弓弹簧,肋弓弹簧包括多根弹簧簧片,连接脊骨模拟板和胸骨模拟板下端的弹簧簧片为第一弹簧片,连接脊骨模拟板和胸骨模拟板上端的弹簧簧片为第二弹簧片,第一弹簧片和第二弹簧片呈八字形布置,余下弹簧簧片布置在第一弹簧片和第二弹簧片之间。弹簧簧片被脊骨模拟板和胸骨模拟板夹紧后形成偏心的椭圆形椎台,长短轴约束。第一弹簧片、靠近第一弹簧片的弹簧簧片和第二弹簧片在胸骨受压...

一种抗压力多模式呼吸运动模拟装置

本发明公开了一种抗压力多模式呼吸运动模拟装置,包括胸壁结构、肋弓结构、安装在肋弓结构的舵机和安装在舵机输出端的摆动杆,所述摆动杆的上端与胸壁结构一端下侧面的凸出部压触,所述胸壁结构的另一端套装在肋弓结构的突出钉头,所述舵机驱使摆动杆左右摆动后,摆动杆驱使胸壁结构上下移动模拟呼吸运动。本发明通过舵机左右摆动摆动杆,驱使胸壁结构上下移动模拟呼吸运动,提高可靠性和准确性。

一种股动脉穿刺介入手术病员裤

本实用新型公开的一种股动脉穿刺介入手术病员裤,包括裤体,所述裤体由前裤体和后裤体缝制而成,所述前裤体上部设有前裤腰,所述后裤体的上部设有后裤腰,所述前裤体和后裤体的下端分别有前裤腿和后裤腿,所述前裤体和后裤体的左右两侧的外侧处不缝合;所述前裤腰和后裤腰对应位置设有绑带连接,所述前裤体和后裤体的左右两侧开口处分别设有第一连接件将所述前裤体和后裤体连接固定,所述前裤体上且靠近裤裆处设有可拆卸式的加压袋。本实用新型提供的一种股动脉穿刺介入手术...

一种急性呼吸窘迫综合征死亡率预测方法及系统

本发明公开了一种急性呼吸窘迫综合征死亡率预测方法及系统,方法包括:获取急性呼吸窘迫综合征患者的医疗数据;根据获取的医疗数据采用机器学习的方法进行模型训练,得到急性呼吸窘迫综合征死亡率预测模型;采用急性呼吸窘迫综合征死亡率预测模型对待预测的对象进行预测,得到急性呼吸窘迫综合征死亡率的预测结果。本发明通过机器学习的方法训练出急性呼吸窘迫综合征死亡率预测模型,再采用急性呼吸窘迫综合征死亡率预测模型来预测ARDS患者的死亡率,将机器学习应用于A...

一种肿瘤细胞表面标志物及其应用

本发明公开了一种肿瘤细胞表面标志物,包括CD24和FXYD3。本发明还公开了CD24的检测试剂和FXYD3的检测试剂的联合使用在制备肿瘤细胞检测试剂盒中的应用。本发明通过高通量测序、免疫组化实验结合肿瘤球实验发现通过检测细胞表面的分子标志物CD24和FXYD3,能够准确有效地筛选出癌组织中的循环肿瘤细胞,为癌症的诊断和治疗提供了新的准确有效的解决方案。

一种恒温湿化装置

本发明涉及一种恒温湿化装置,包括:气源进口,所述气源进口设置在所述恒温湿化装置的一侧的中下部;气源出口,所述气源出口位于所述恒温湿化装置的另一侧的中上部;恒温装置,所述恒温装置设置在所述恒温湿化装置的底部;电源连接线,所述电源连接线与所述恒温装置连接并贯穿所述恒温湿化装置。其优点在于,恒温装置对湿化装置进行温和的升温保温,避免出现温度急剧上升;湿化装置内设置有一独特结构的挡板结构,能够提高气体停留在恒温湿化装置内的时间,避免加温加湿后的...

一种多生长因子可梯度释放的多维复合支架及其制备方法

本发明公开了一种多生长因子可梯度释放的多维复合支架及其制备方法,所述多维复合支架为采用低温多喷头3D打印技术一体成型的多维空间几何结构,所述多维复合支架至少包含PLGA/TCP/Mg/CGF的化学组成,所述CGF(细胞生长因子)为多种,且分布在所述多维复合支架中,所述多维复合支架在降解过程中梯度释放各种所述CGF。该支架实现多种细胞生长因子成分的时空分布及梯度释放控制,在植入人体之后由于该支架中复合不同浓度不同梯度的生长因子,从而使支架...

一种盆底肌治疗方法、系统及装置

本发明公开了一种盆底肌治疗方法、系统及装置,包括步骤:根据用户体位选择信息,确定盆底肌测试及锻炼的体位;根据所述体位,确定参考电极和测试电极的贴片位置,并将所述贴片位置反馈给用户;当所述参考电极和所述测试电极贴在指定位置后,根据用户启动信息,启动盆底肌肌力测试;根据所述盆底肌肌力测试的结果及用户选择的锻炼模式,启动对应盆底肌肌力锻炼。该发明用户自己选择测试和锻炼的体位以及锻炼模式,不受某一种固定体位的限制,并根据测试结果进行对应强度的锻...

一种抑癌基因及其应用

本发明公开了鼻咽癌的诊治标志物,所述标志物为VILL,实验证明,VILL及其蛋白在鼻咽癌组织中表达显著下调,提示可以将VILL应用于鼻咽癌的诊断或治疗中;进一步,体外细胞实验证实VILL与鼻咽癌细胞的增殖、凋亡、迁移和侵袭有关,提示VILL可以作为药物靶标应用于鼻咽癌的临床治疗。本发明还公开了与VILL基因相互作用蛋白EIF3J,发现EIF3J与VILL呈正相关,提示可通过EIF3J提高VILL基因的表达水平,从达到治疗鼻咽癌或鼻咽癌转...

一种多酶清洗剂调配装置

本发明涉及一种多酶清洗剂调配装置,包括机架、可转动设置在机架上供储存有清洗酶浓缩液的料袋放置的料盘、可往复运动地置在机架中以对放置于料盘上的料袋进行切割的切割组件、与切割组件连接以输出料袋中清洗酶浓缩液的下料管、可容置于机架中以收容配置好的清洗酶稀释液的接料装置、设置在机架中与接料装置连通的进水管;料盘上设有供料袋放置的多个工位;工位与料袋一一对应设置;切割组件与料盘相对设置,以通过朝工位方向往复运动切割料袋;下料管与切割组件和接料装置...

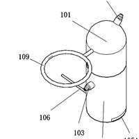
肋骨骨折的复位装置

本发明公开了肋骨骨折的复位装置,其包括固定架和支撑杆,固定架包括横杆和两个第一竖杆,两个第一竖杆分别位于横杆的两端,支撑杆的中部安装在横杆的中部,支撑杆垂直于横杆,支撑杆的两端分别布置有摆动臂,摆动臂的一端布置有直杆,直杆的下端布置有骨针,支撑杆的两端分别布置有用于安装摆动臂的套筒,套筒的外侧成型有用于安装摆动臂的安装轴。临床使用时摆动臂具有上下和左右两个维度的调整方式,采用微创手术的方式将骨针与断裂的肋骨安装,再调整摆动臂使肋骨对接。...

多孔椎间融合器

1.本外观设计产品的名称:多孔椎间融合器。 2.本外观设计产品的用途:用于作为腰椎手术的椎间融合器,在手术中用于植入腰椎椎体间,促进腰椎融合的作用。 3.本外观设计产品的设计要点:在于形状。 4.最能表明设计要点的图片或照片:立体图1。 5.无设计要点,省略仰视图。

一种女用非接触式自我间歇导尿辅助装置

本实用新型公开了一种女用非接触式自我间歇导尿辅助装置,包括本体、导尿管和把手,所述本体内沿其长度方向设有导管传送带和位于所述导管传送带上方位置的导管通道;所述导尿管自所述导管通道的后端伸入并与所述导管传送带顶部接触,所述导尿管在所述导管传送带作用下推进至所述导管通道的前端并伸出。所述本体的前端设置有前置摄像头,所述本体的上端靠后有与所述前置摄像头连接的转动式液晶显示屏。本实用新型的女用非接触式自我间歇导尿辅助装置,设计巧妙,针对性强,适...

一种脊柱椎弓根万向穿刺导航定位器

本实用新型公开了一种脊柱椎弓根万向穿刺导航定位器,涉及到医疗卫生脊柱外科技术领域,包括固定支架、支撑支架、滑轨、穿刺套管、中线定位杆、中线定位杆控制接口、穿刺套管控制接口、第一角度尺、第二角度尺、第三角度尺和应力固定器,固定支架上设有支撑支架,支撑支架上设有滑轨,支撑支架上设有两穿刺套管,每一穿刺套管上各设有一第一角度尺和一应力固定器;支撑支架上还设有中线定位杆,中线定位杆位于两穿刺套管之间,中线定位杆上还设有第二角度尺,固定支架上还可...

一种可调节型口腔外科切割手机

本发明提出一种可调节型口腔外科切割手机,包括头部、车针、颈部、操作手柄,车针安装在头部的底端,颈部一端与头部连接,另一端操作手柄固定连接,操作手柄端部设置有连接套,操作手柄内部设置有回气管、进气管和冷却管,回气管、进气管和冷却管伸出连接套外,头部通过旋转轴与颈部连接;颈部内设置有颈部进气孔、颈部回气孔和颈部冷却水孔,颈部进气孔、颈部回气孔和颈部冷却水孔分别与进气管、回气管和冷却管连通。

一种基于血浆外泌体蛋白的HPV感染致宫颈癌的早期诊断标志物及其应用

本发明公开了一种血浆外泌体蛋白Mortalin作为HPV阳性宫颈癌诊断标志物及其应用。通过蛋白质组学比较宫颈癌肿瘤组病人、癌前病变病人(CIN)及健康人血浆外泌体的差异蛋白,以及敲除HPV关键分子HPVE6/E7后的mortalin表达情况,发现外泌体mortalin能够作为宫颈癌的分子标志物,对血浆外泌体mortalin进行检测能够对宫颈癌进行初步筛查,能够提高宫颈癌的早期确诊概率。

抗EB病毒LMP1的单克隆抗体及其细胞株和应用

本发明公开了抗EB病毒LMP1的单克隆抗体及其细胞株和应用,本发明以SEQ ID NO.2的序列为抗原采用细胞融合得到细胞株,经过三轮亚克隆挑选,结合间接ELISA及FACS检测技术,最终筛选出可稳定分泌阳性抗体的杂交瘤细胞株,扩大培养,细胞上清经亚型鉴定结果显示均为单一亚型;FACS检测结果较好的细胞7B63B10制备腹水并纯化出抗体。分泌的抗体具有高特异性和高亲和力,而且建立的间接ELISA方法具有很好的检测特异性和灵敏度,说明本发...

抗EB病毒LMP2A的单克隆抗体及其细胞株和应用

本发明公开了抗EB病毒LMP2A的单克隆抗体及其细胞株和应用,本发明以SEQ ID NO.2序列为抗原采用细胞融合得到细胞株,经过三轮亚克隆挑选,结合间接ELISA及FACS检测技术,最终筛选出可稳定分泌阳性抗体的杂交瘤细胞株,扩大培养,细胞上清经亚型鉴定结果显示均为单一亚型;FACS检测结果较好的细胞6A46D2制备腹水并纯化出抗体。分泌的抗体具有高特异性和高亲和力,而且建立的间接ELISA方法具有很好的检测特异性和灵敏度,说明本发明...