企业详情

返回
南方医科大学珠江医院

 

科技成果

仿肝板结构肝细胞三维培养装置及其培养方法

本发明公开了一种仿肝板结构肝细胞三维培养装置,包括微流控芯片;微流控芯片内开设依次直线连接且相通的第一主通道、第二主通道和第三主通道;第一主通道远离第二主通道的一端、第一主通道与第二主通道的连接处及第二主通道与第三主通道的连接处均对称延伸形成两个分支通道,第一主通道远离第二主通道的一端同时直线延伸形成一分支通道;分支通道的末端均设置与相应分支通道导通的导料管,导料管内开设有导通孔且导料管垂直于相应的分支通道所在面,以用于通入形成肝板结构...

单核淋巴细胞体内示踪方法

本发明公开了一种单核淋巴细胞体内示踪方法,包括步骤:采集食蟹猴腋窝处的淋巴结;利用密度梯度离心法获取淋巴结中的单核淋巴细胞;将单核淋巴细胞进行荧光染色;将染色后的单核淋巴细胞输注至食蟹猴掌侧大鱼际下方的结缔组织中;再次采集与所述输注位置同侧的食蟹猴腋窝处的淋巴结,并对再次采集的淋巴结采用流式细胞仪进行检测。通过上述方法,本发明能够使荧光染色后的单核淋巴细胞富集于淋巴结中,以便进行免疫示踪。

用于制备去细胞肝脏支架的试剂盒及其使用方法

本发明公开一种用于制备去细胞肝脏支架的试剂盒,包括溶栓液、灌注液I、灌注液II、灌注液III及灌注液IV。溶栓液的各组分及浓度为:尿激酶100000IU/L、NaCL?9g/L;灌注液I的各组分及浓度为:EDTA?0.2g/L、NaCL?9g/L;灌注液II的各组分及浓度为:十二烷基硫酸钠5g/L、NaCL?9g/L;灌注液III的组分及浓度为:DNase?I0.01g/L;灌注液IV的组分及浓度为:过氧乙酸0.01%。溶栓液、灌注液I...

制备全肝脏生物支架的试剂盒及全肝脏生物支架制备方法

本发明公开了一种制备全肝脏生物支架的试剂盒,包括灌注液Ⅰ和灌注液Ⅱ,其中,灌注液Ⅰ包括0.2g/L?EDTA、25000U/L肝素钠及磷酸缓冲液,灌注液Ⅱ包括2.5g/L十二烷基硫酸钠。利用本试剂盒的灌注液来制备全肝脏生物支架,具体为灌注液Ⅰ以15ml/min的灌注流速经离体肝脏的门静脉对离体肝脏进行灌注,灌注液Ⅱ以3ml/min的灌注流速经离体肝脏的门静脉对离体肝脏进行灌注。通过上述试剂盒和方法,能够降低十二烷基硫酸钠与全肝脏生物支架...

一种组织粉碎镜及其操作方法

本发明涉及一种组织粉碎镜,尤其涉及一种组织粉碎镜及其操作方法。镜体中设有工作通道,工作通道与单向阀相连通,工作通道的上方设有注水管,注水管的一端向镜体外延伸,注水管中设有镜管,镜管与注水管间隙形成灌注通道,镜管中设有光学观察系统,光学观察系统与镜管间设有照明光纤,镜体上设有与光学观察系统相连通的眼罩,镜体上设有与照明光纤相连通的光源接口,镜体上设有与灌注通道相连通的注水孔。按以下步骤进行:术前准备→术中操作→术后清除。一种组织粉碎镜及其...

高效能的组织剜除刨削系统及其操作方法

本发明涉及一种组织剜除刨削,尤其涉及一种高效能的组织剜除刨削系统及其操作方法,用于泌尿科手术。包括系统控制器、剜除器、锁刀座组件、剜除刀组件、负压组件和操作组件,所述的剜除器通过锁刀座组件与剜除刀组件相固定,所述的剜除器通过系统控制器和操作组件控制,所述的负压组件通过系统控制器和操作组件控制,所述的操作组件控制系统控制器。按以下步骤进行:术前准备→术中操作→术后清除。高效能的组织剜除刨削系统及其操作方法结构紧凑度高,操作方便,提高操作效...

一种腹部外科手术导航方法及系统

本发明适用于通信领域,提供了一种腹部外科手术导航方法,包括:对术前采集到带标记点信息的CT或MR图像利用第一预设算法自动提取标记点以得到术前图像空间的标记点点集信息;术中通过影像获取设备获取病人手术区域的RGB图像以及深度图像;借助深度图像将二维标记点坐标信息转化为三维坐标以得到术中物理空间的标记点点集信息;将得到的术前图像空间的标记点点集和术中物理空间的标记点点集做点对匹配运算;应用注册所得的图像空间与物理空间的变换结果,开始实时导航...

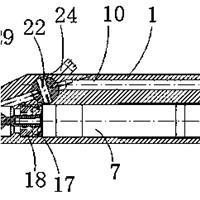
一种具备辅助灌注功能的双通道组织刨削器及其使用方法

本发明涉及一种双通道组织刨削器,尤其涉及一种具备辅助灌注功能的双通道组织刨削器及其使用方法。包括器体,所述的器体的头部设有刀具操作组件,所述的器体中设有与刀具操作组件相连接的电机转动组件,所述的器体中设有吸附操作组件和辅助灌注组件。按以下步骤进行:术前准备工作→手术操作阶段。一种具备辅助灌注功能的双通道组织刨削器及其使用方法有助于减少手术时间,降低手术风险,保障手术顺利进行。

肝细胞无血清培养基

本发明公开一种肝细胞无血清培养基,其包括以下组分:基础培养基500mL;丝胶蛋白0.05~0.5%;地塞米松0.1~1000nmol/mL;肝细胞生长因子5~20ng/mL;表皮生长因子10~50ng/mL;青链霉素100U/mL。本发明肝细胞无血清培养基适合肝细胞的生长及功能发挥,可用于生物型人工肝的制备。

一种中药组合物及其制备方法与制药应用

本发明公开了一种中药组合物及其制备方法与制药应用。由如下重量百分数的组分组成:丹参5%-30%,香附5%-30%,当归5%-30%,柴胡5%-15%,王不留行5%-30%。本发明首次将丹参、香附、当归、柴胡、王不留行混配,并确定了其混配比例,所得组合物具有显著的疏肝解郁,行气止痛,软坚散结通乳效果。本发明采取超临界CO 2 萃取方法和超高压两种提取方法,超临界CO 2 可以充分提取脂溶性成分,超高压水提法可以提取水溶性多糖等成分,合并两...

一种人类肠道益生菌的优化分离方法

本发明提出了一种人类肠道益生菌的优化分离方法,包括以下步骤:步骤一,基础培养基的制备:制备粘蛋白液体培养基和粘蛋白固体培养基;步骤二:筛选:收集粪便标本并接种于所述粘蛋白液体培养基中,厌氧培养得到菌液,取菌液作为模板进行PCR实验,挑选PCR反应阳性管中的菌液接种于粘蛋白固体培养基上厌氧培养出菌落,将粘蛋白固体培养基上的菌落接种于巧克力平板上厌氧培养出菌落,将巧克力平板上的菌落接种于哥伦比亚血平板上进行纯化培养出菌落,取哥伦比亚血平板上...

小型动物手术台

本发明公开一种小型动物手术台,其包括设有多个功能腔的腔体和盖合在所述腔体上的多个工作板体;所述功能腔包括热媒腔、冷媒腔和废液收集腔;所述工作板体包括盖合在所述热媒腔上方的热操作板、盖合在所述冷媒腔上方的冷操作板以及盖合在所述废液收集腔上方的手术操作板。本发明小型动物手术台将零散的实验室设备整合为一体,不仅节约空间,而且大大提高动物手术质量。

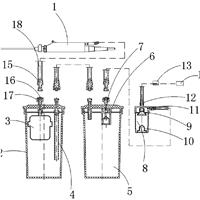
循环灌注式细胞培养系统及其生物反应器

本发明公开一种生物反应器,其包括外罐体、紧密盖合在所述外罐体顶部的上盖以及设置在所述外罐体内部的反应柱;所述反应柱包括环形柱壁、由该环形柱壁限定的反应腔、固定盖合在所述环形柱壁底部的培养基流入盘、固定盖合在所述环形柱壁顶部的培养基流出盘以及设置在所述反应腔内部的载体容量调节装置。还公开一种循环灌注式细胞培养系统,其包括如前所述的生物反应器,还包括分别与所述生物反应器连通的外置灌注罐、气体输入器、调节液输入器、恒温加热器,以及控制该培养系...

一种穿刺规划路径纠正方法及装置

本发明涉及一种穿刺规划路径纠正方法及装置,其中,方法包括:根据初始规划路径,在穿刺区域表皮上确定初始入口点,并将初始入口点设置为标记点;对穿刺区域先后进行两次CT扫描,获得初始CT图像和第二CT图像;在初始CT图像上标出初始规划路径;在第二CT图像中获取标记点的位置信息;将初始CT图像和第二CT图像进行配准;并根据标记点的位置信息,确定标记点在配准之后的初始CT图像中的位置;获得标记点到初始规划路径的距离向量;利用标记点到初始规划路径的...

新型混合型生物人工肝系统的连接方法

本发明公开一种新型混合型生物人工肝系统的连接方法,所述混合型生物人工肝系统包括具有输入端、输出端和分浆端的血液处理设备、具有相对的用于灌注培养基的上端口和下端口的生物反应器,以及将所述血液处理设备和生物反应器导通连接的循环管路,其中,所述循环管路的连接包括安装步骤和排气步骤,所述循环管路的连接次序依次为:连接与所述血液处理设备的输入端相导通的动脉管路、连接与所述血液处理设备的输出端相导通的静脉管路、连接所述血液处理设备分浆端与所述生物反...

组织碎块收集及溢液保护系统及其操作方法

本发明涉及一种连续灌注器,尤其涉及一种组织碎块收集及溢液保护系统及其操作方法。包括刨削器刀具,所述的刨削器刀具与组织收集组件相连通,所述的组织收集组件与废液收集组件相连通,所述的废液收集组件与溢液保护组件相连通。组织碎块收集及溢液保护系统及其操作方法进一步提升使用性能,操作方便。

一种基于CT图像的肝脏肿瘤分割方法及装置

本发明提供了基于CT图像的肝脏肿瘤分割方法及装置。方法包括:对肝脏的CT图像数据进行高斯除噪,将其转化为灰度均值为0,方差为1的标准化数据并进行下采样操作;从肝脏的CT图像的金标准图像中提取病变切片和正常组织切片,将其划分为正样本和负样本;构建多层次的深度卷积神经网络,通过随机梯度下降法训练模型,得到网络模型,通过分类器获得肿瘤的粗分割二值图像及像素分类的概率图像;对肿瘤的粗分割二值图像进行形态学腐蚀操作,获得图割所需要的前景图像,再将...

手套型单孔腹腔镜穿刺装置

本实用新型公开了一种手套型单孔腹腔镜穿刺装置,包括:手掌套、设置在所述手掌套的底部并且与之导通的手腕套、设置所述手掌套的顶部并且与之导通的多个手指套、设置在每个手指套末端的固持器、弹性卡设在所述手腕套顶部内侧壁的支撑套筒及弹性卡设在所述手腕套底部内侧壁上的弹性卡环。本实用新型的穿刺器减小甚至避免了器械相互之间的空间干涉,提高了手术操作的便利程度,大大减小了手术时间,同时这种器械之间的位置可调性也便于开展更高难度的单孔腹腔镜手术。

高效能的组织剜除刨削系统

本发明涉及一种组织剜除刨削,尤其涉及一种高效能的组织剜除刨削系统及其操作方法,用于泌尿科手术。包括系统控制器、剜除器、锁刀座组件、剜除刀组件、负压组件和操作组件,所述的剜除器通过锁刀座组件与剜除刀组件相固定,所述的剜除器通过系统控制器和操作组件控制,所述的负压组件通过系统控制器和操作组件控制,所述的操作组件控制系统控制器。按以下步骤进行:术前准备→术中操作→术后清除。高效能的组织剜除刨削系统及其操作方法结构紧凑度高,操作方便,提高操作效...

一种尿蛋白快速检测试剂及其制备方法和应用

本发明公开了一种尿蛋白快速检测试剂及其制备方法和应用,该制备方法包括:聚丙烯酸钠与水按照90‑95∶5‑10重量份配制,两者总重量为100份,得到高分子吸水颗粒;将蛋白指示剂溶解于pH7.4±0.2的磷酸二氢钠缓冲液中,得到蛋白指示剂缓冲溶液;将所述的高分子吸水颗粒与蛋白指示剂缓冲溶液混合,使高分子吸水颗粒膨胀成直径为20mm±2mm的高分子吸水珠,即得尿蛋白快速检测试剂。本发明的所述尿蛋白快速检测试剂制备方法简单,得到的尿蛋白快速检测...