企业详情

返回
南方医科大学珠江医院

 

科技成果

一种用于协助摇晃骨盆纠正异常胎方位的用具

本实用新型公开了一种用于协助摇晃骨盆纠正异常胎方位的用具,包括臀兜和至少一个固定带组件;所述固定带组件的两端分别与所述臀兜的上下两端相连,所述臀兜上设置有两个供大腿穿过的固定孔。本实用新型具有提高骨盆运动的稳定性的优点。

一种带有压力感应的吸痰装置

本实用新型公开了一种带有压力感应的吸痰装置,包括自动吸痰装置、吸痰管和连接管;所述连接管包括人工鼻和管体,所述人工鼻安装在所述管体上,所述管体的一端与患者的人工气道相连接且所述管体的另一端封闭,所述管体上设置有用于检测患者气道压力的压力传感器,所述吸痰管的一端套设在所述连接管的内部且所述吸痰管的另一端穿出所述连接管外与所述自动吸痰装置相连通,所述吸痰管的另一端伸入患者的气道内,所述压力传感器与所述自动吸痰装置电性连接。本实用新型具有能够...

一种用于帕金森病的脑神经双路刺激智能调控系统

本发明公开了一种用于帕金森病的脑神经双路刺激智能调控系统,涉及医疗和神经工程技术领域,包括:基于刺激电极获取目标患者的神经电信号,根据神经电信号确定神经活动特征;刺激电极包括第一刺激电极和第二刺激电极;根据神经活动特征确定神经评估值,并基于神经评估值生成协同刺激参数;基于协同刺激参数调节刺激电极的初始刺激参数,并通过刺激电极对目标患者实施刺激,完成用于帕金森病的脑神经双路刺激智能调控。本发明通过引入异常振荡模式和神经网络同步性特征的实时...

一种化疗泵延长管

本实用新型涉及医疗器械领域,尤其涉及一种化疗泵延长管。技术问题:在化疗泵延长管使用的过程中,会因为延长管细、长的特点,患者携带泵的过程中容易出现延长管打结,尤其是夜间入睡翻身时打折几率据统计高达84.5%,严重影响患者的化疗进程,且增加临床工作的量度及难度,也大大增加了医疗安全的风险的问题。技术方案:一种化疗泵延长管,包括有港座;还包括有缝合孔、泵体、安装环、延长管组件、穿刺隔膜。本实用新型通过延长管组件和泵体的安装连接,对化疗泵内的药...

一种脚踏式锐器分离装置

本实用新型涉及锐器分离技术领域,具体为一种脚踏式锐器分离装置,包括托盘,托盘中间开设有滑槽,滑槽中间设有切刀组件,托盘两侧面上均设有卡接组件,托盘下表面靠近前端处设有支撑组件,滑槽中靠近后端处设有定切刀,切刀组件包括固定板与固定板后端面上连接的动切刀,固定板两端均设有卡块,牵引绳上套设有弹簧;该脚踏式锐器分离装置,通过设置带有动切刀的固定板与托盘插接配合,卡块与卡槽滑动配合,动切刀与定切刀配合,有助于对锐器进行切断分离,固定板上的卡块配...

一种大量不保留灌肠用收集袋

本实用新型涉及灌肠收集袋技术领域,具体为一种大量不保留灌肠用收集袋,包括用于贴合患者的敷贴袋,敷贴袋内部设有导管,导管右端设有用于存储排泄物的引流袋,敷贴袋下表面靠近左侧处设有开口,并在开口处设有接引斗,接引斗底部设有粘胶圈,且导管外壁上靠近右端处设有螺纹柱,引流袋左端设有与导管右端插接配合的引流管;该大量不保留灌肠用收集袋,通过设置带有导管的敷贴袋,导管穿过接引斗与患者肛门插接配合,接引斗增加与患者皮肤贴合的紧密性,并在粘胶圈的的配合...

一种穿刺手术器械装置

本实用新型公开了一种穿刺手术器械装置。其中,包括:针体,所述针体外侧固设有针套,所述针体内部分别设置有注射孔与激光光纤,所述针体的一端裸露于所述针套外部,另一端可拆卸地固设有光纤接头模块;所述针体外侧与产生电流的设备电连接,所述激光光纤与所述光纤接头模块电连接;通过针体对目标组织电刺激,定位神经组织和精确寻找诱发肿瘤痛的靶点组织,寻找到靶目标组织后,经安装孔置入激光光纤对靶目标组织进行激光消融,最后,需要对目标组织进行药物注射和水分离松...

外科术后用腹带

本申请提供了一种外科术后用腹带,其包括腹带本体,腹带本体位于其长度方向的两端设有连接件,所述腹带本体的中部开设有窗口,所述窗口的大小可调,且所述窗口的轮廓边缘覆盖有塑料膜,所述腹带本体位于窗口的下方设有用于固定从窗口牵引出来的引流管的固定件,所述腹带本体位于固定件的下方悬挂有供引流袋放置的收纳口袋。本申通过在腹带本体上设置用于观察患者伤口的窗口、用于固定引流管的固定件及用于收纳引流袋的收纳口袋,以将伤口可视化、固定引流管、收纳引流袋等功...

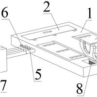
一种可加温报警的膀胱冲洗桶

本实用新型涉及膀胱冲洗桶技术领域,具体为一种可加温报警的膀胱冲洗桶,包括便于移动的底座,底座上表面中心处设有称重仪,称重仪顶部插接有冲洗桶,冲洗桶顶部设有顶盖,底座上表面靠近右侧处设有立柱,立柱顶部设有加温组件;该可加温报警的膀胱冲洗桶,通过设置带有万向轮的底座,有助于整体灵活移动,称重仪安装有助于对冲洗桶中收集的尿液混合进行称重配合,在带有浮球传感器的液位计报警器配合下,实现对冲洗桶中存储的混合溶液高度进行持续警报监测配合,加温箱配合...

一种重症昏迷患者眼部冲洗装置

本实用新型涉及医疗护理技术领域,尤其是一种重症昏迷患者眼部冲洗装置。本实用新型包括眼部遮挡罩、撑开组件、冲洗组件及吸液组件;撑开组件包括双向丝杆、分别与双向丝杆两端滑动的撑板以及固定在眼部遮挡罩外壁用以驱动端双向丝杆的电机;吸液组件包括安装在眼部遮挡罩上的集液子组件、设在集液子组件两端的伸缩管以及安装在两撑板内侧壁的吸液子组件;吸液子组件与相应的伸缩管连通;吸液子组件包括若干固定在撑板靠近患者眼皮一侧的吸液头及与若干吸液头尾端连通的输送...

一种腹膜透析流量监测预警装置

本实用新型属于医疗技术领域。本实用新型公开了一种腹膜透析流量监测预警装置,包括用于承托外部的腹透液袋的上托盒结构以及用于承托外部的废液袋的下托盒体;在所述上托盒结构、下托盒体上设有一用于计量病人在腹膜透析治疗过程中的灌入液体流量和引流液体流量的流量监测结构;还包括与外部的腹膜透析管路连接用于监测病人在腹膜透析治疗过程中的液体流通状况并进行预警以便于医护人员及时控制腹膜透析操作的液体流通预警结构且该液体流通预警结构与所述流量监测结构电连接...

西那卡塞治疗继发性甲状旁腺功能亢进的药效应评估方法

本发明属于医疗技术领域。本发明公开了一种西那卡塞治疗继发性甲状旁腺功能亢进的药效应评估方法,该方法包括以下步骤:对继发性甲状旁腺数据进行采集处理以构建文献数据集,对构建的文献数据集进行质量评价,得到质量评价结果;构建药效学模型,对该药效学模型进行评价,得到药效学模型评价结果;对西那卡塞药物在治疗继发性甲状旁腺功能亢进病人临床应用中的时间效应分布以及预定指标影响因素进行定量分析处理,得到药效参数和协变量影响程度的结果数据以辅助确定西那卡塞...

一种膝关节置换术防骨渣飞溅手腕防护装置

本实用新型公开了一种膝关节置换术防骨渣飞溅手腕防护装置,包括腕带、固定片和防护屏,所述腕带适于环绕固定在人体手腕处,并可根据手腕的大小进行调整,所述固定片设于所述腕带表面,并可随所述腕带进行弯曲,所述防护屏一端可拆卸的连接于所述固定片上,并随所述固定片进行弯曲,用以对人体手腕部分进行防护,本实用新型结构简单,可对患者手腕处进行防护,避免被飞溅的骨渣擦伤。

一种松紧自动调节式止血带结构

本实用新型属于医疗技术领域。本实用新型公开了一种松紧自动调节式止血带结构,包括能够贴合放在病人肢体皮肤上的弧座体;在所述弧座体上设有一与该弧座体相配合对病人肢体进行捆扎勒紧以实施应急止血操作的止血组件;还在所述弧座体上设有一与所述止血组件连接用于调节控制该止血组件的捆扎勒紧力度以及时间的调节组件且该调节组件与一设在所述弧座体上的供电控制组件电连接。本实用新型具有能够自动调节捆扎勒紧力度以及时间以确保止血效果和不易造成病人肢体缺血性坏死的...

一种护理贴

本实用新型公开了一种护理贴,包括护理贴本体;所述护理贴本体包括具有良好透气性的切口遮盖片、具有良好吸水性的吸液件,所述切口遮盖片与吸液件连接形成能够将渗出液从切口遮盖片吸至吸液件的结构,以及,所述护理贴本体上设置有用于将其固定在患者身上的固定件。本实用新型具有结构简单、使用方便、能够减少感染的优点。

一种辅助新生儿听力检测的装置

本实用新型目的在于提出一种辅助新生儿听力检测的装置,涉及医疗器械技术领域,在底座的顶部转动安装头部限位装置,将枕座与底座转轴连接,并在枕座的两侧滑动连接弧形的限位板,将新生儿放置在底座上头靠枕座,通过枕座两侧的限位板卡住头部,通过给一侧的扇形折叠气囊充气另一侧放气,使枕座向一侧转动,带动新生儿的头部偏转,使新生儿头部侧朝一侧,不需要医护人员手扶新生儿头部,解放双手,方便医护人员操作新生儿听力筛查仪;在底座两侧的侧槽内转动安装撑板,通过给...

一种脑电图电极安装辅助盒

本实用新型公开了一种脑电图电极安装辅助盒,包括用于分类放置物品的置物盒;所述置物盒上设置有多个间距排列的定位柱,每个所述定位柱上均设置有与各电极线上的名称相对应的电极名称,相邻的两个所述定位柱之间形成用于固定电极线的卡位。本实用新型具有提高脑电图电极的安装效率和准确性的优点。

一种脓肿切开训练模型

本实用新型涉及脓肿切开训练模型技术领域,具体的是一种脓肿切开训练模型,本实用新型包括模型箱,模型箱内转动连接有安放板,安放板侧壁固接有脓肿模型,脓肿模型包括橡胶手套层,橡胶手套层内部经胶水层固接有用于模拟脓壁的薄化妆棉层,薄化妆棉层内部填充有用于模拟脓液的固态酸奶,薄化妆棉层外壁涂刷有用于防止液体渗透的凡士林层;通过脓肿模型侧壁与安放板固接,安放板在模型箱内转动,自由调节脓肿模型的方位,操作人员从脓肿模型与安放板固接处切开脓肿模型,训练...

一种充气式翻身枕

本实用新型提供了一种充气式翻身枕,涉及医疗器械技术领域,包括:底板,底板顶部两侧均设置有翻身枕,翻身枕内部设置有充气块,两块充气块之间设置有限位组件,避免避免患者从翻身枕滑落,限位组件包括:插槽、竖板、插块和侧板,设置于翻身枕外端一侧的贴合组件,用于贴合患者背部,贴合组件包括:贴合块、刺毛块和圆毛块。该种充气式翻身枕通过将患者移动至翻身枕顶部,再对充气块充气即可便于将患者抬高翻身,避免患者背部出现压疮,且通过限位组件可以对患者限位,避免...

自适应气流的测绘无人机

1.本外观设计产品的名称:自适应气流的测绘无人机。 2.本外观设计产品的用途:测绘。 3.本外观设计产品的设计要点:在于形状。 4.最能表明设计要点的图片或照片:立体图。