企业详情

返回
南方医科大学南方医院

 

科技成果

一种围术期加速康复护理多功能复温系统

本实用新型公开了一种围术期加速康复护理多功能复温系统,分别包含第一气囊通孔和第二气囊通孔的气囊两两相交错的排布在垫体上,还包括有将垫体下端面与底板之间分为第一进气空间和第二进气空间两种充气空间的中间隔板;第一进气空间和第二进气空间分别与外部气源连通;还包括有与外部气源连通的、用于将气体加热并保持到预定温度的气体温控装置,还包括有控制系统,其用于控制气体温控装置对从气源输入的气体进行温度控制,并控制气泵将温控后的气体分别在预定时间冲入到充...

颈部辅助固定用具

本实用新型公开了颈部辅助固定用具,包括护具本体,护具本体包括头部固定部以及肩部固定部,各肩部固定部包括肩部顶部贴合部和肩部侧面贴合部,头部固定部内设有第一腔体,肩部固定部内设有第二腔体,第一腔体和第二腔体连通,第一腔体和第二腔体内填充有X光可透性的珠粒,头部固定部设有真空阀门,将头部固定部置于头顶,沿头部两侧呈U型放置,肩部固定部贴合双肩并越过肩关节,通过真空阀门抽取护具本体内部空气,护具本体形成颈部窄而两头宽的颈椎固定形态,以肩部为支...

一种手术室用肢体固定装置

本实用新型公开了一种手术室用肢体固定装置:包括筒状壳,筒状壳的一侧设有手部容纳套;筒状壳的另一端的开口处设有散热机构;筒状壳的外壁上在靠近手部容纳套和筒状壳连接处的一侧上对称设有束缚孔,束缚孔上穿过一条束缚带,手部容纳套穿过束缚带和筒状壳内部的空间;筒状壳的外壁上穿过有固定带。病人的手伸到手部容纳套内,然后拉紧束缚带,把病人的固定在筒状壳内,然后在系上束缚带。再把筒状壳通过固定带栓到床上;防止病人挣扎,穿戴也方便。结构简单,设计新颖,穿...

一种基于手术视频的肺血管动态分割方法

本申请提供了一种基于手术视频的肺血管动态分割方法,涉及医疗图像技术领域,解决了血管识别精确度较低的技术问题。该方法包括:通过隔帧截图方式获取原始手术视频的原始图像,并提取原始手术视频的视频帧序列;根据视频帧序列以及原始图像确定原始手术视频中相邻帧图像之间的互补信息,并基于互补信息进行超分辨率重建,得到高于预设高分辨率的手术图像;构建基于TransUNet的初始血管分割模型;利用手术图像对初始血管分割模型进行训练,得到训练后的血管分割模型...

出血量确定系统、方法、装置、设备及存储介质

本发明涉及智能图像识别技术领域,公开了一种出血量确定系统、方法、装置、设备及存储介质,该系统包括:交互模块和后处理模块;交互模块为轻量化应用程序,安装于智能移动终端设备上,交互模块用于从智能移动终端设备获取带血垫巾图像,并将带血垫巾图像传输至后处理模块;交互模块还用于接收后处理模块输出的出血量结果,并利用智能移动终端设备显示出血量结果;后处理模块,用于利用第一神经网络模型,从带血垫巾图像中检测出带血区域;利用第二神经网络模型,对带血区域...

一种肠胃外科用临床洗胃机

本发明提供一种肠胃外科用临床洗胃机,属于肠胃外科临床医疗技术领域。包括主机、调压设备以及固定安装在主机底部的底座,所述底座上固定安装有多个内接管,每个所述内接管均与主机内部的调压设备相连接,每个所述内接管上均连通有一个扁管,每个所述扁管上均连通有一个连通管。本发明通过设置电动推杆、夹具、连通管、转接管以及套管,可使清洗液以及胃液在输送过程中保持平稳状态,降低洗胃过程中发生堵塞的概率,可提高洗胃效率,也可对患者的胃进行有效的保护,同时也可...

一种修刮设备

本实用新型涉及五官科设备技术领域,尤其涉及一种修刮设备。包括修刮件,修刮件的一端安装有驱动件,修刮件包括修剪刀和连接柱,修剪刀的一端固定有连接柱;驱动件包括旋转柱和固定套,连接柱的一端螺纹连接有旋转柱,旋转柱远离修剪刀一端的外侧滑动连接固定套;旋转柱内部靠近修剪刀的一端滑动连接有照明灯,照明灯远离修剪刀一端的顶部和底部均固定有定位板,定位板与旋转柱滑动连接。本实用新型提供的一种修刮设备,通过驱动件和修刮件的配合,能够对耳毛进行修剪,同时...

一种分子免疫学检测用试管支架

本实用新型公开了一种分子免疫学检测用试管支架,涉及试管支架技术领域,具体为一种分子免疫学检测用试管支架,包括底座、固定结构、烘干结构、升降结构、支撑板、夹持结构、卡板、辅助结构和限位结构;底座顶部的前端设有固定结构,烘干结构设于底座前端的一侧,升降结构设于底座顶部后端的两侧,支撑板固定连接于升降结构顶部,夹持结构设于支撑板内部,多个卡板设于支撑板上方,辅助结构设于支撑板与卡板之间,限位结构设于底座顶部的后端。本实用新型与现有的技术相比的...

便携式多功能发热毯

本实用新型涉及发热毯技术领域,具体为便携式多功能发热毯,包括发热毯主体,发热毯主体由上毯面、第一保护层、第二保护层和下毯面组成,第一保护层和第二保护层位于上毯面和下毯面之间,上毯面和下毯面中间都设有横向折叠线和竖向折叠线,第二保护层和第一保护层的侧端设有保护胶条,保护胶条的两侧都设有吸附磁铁,吸附磁铁的两侧都固定连接有连接片,连接片为橡胶片,两个连接片之间固定连接有卡接环,第二保护层的上端固定连接有多个石墨烯发热膜,石墨烯发热膜侧端固定...

基于深度学习的围手术期ASA分级自动化评估方法

本发明涉及图像处理技术领域,本发明公开了基于深度学习的围手术期ASA分级自动化评估方法,包括先获取麻醉类型,根据病患基础信息计算围手术评估系数,当麻醉类型为局部麻醉时,基于H张口腔子图像确定Q个初始注射区域图像,将Q个初始注射区域图像进行分割生成Q个中间注射区域图像,根据Q个中间注射区域图像确定目标注射位置,在手术过程中持续获取实时病患状态信息,根据实时病患状态信息以及围手术评估系数计算焦虑系数,基于焦虑系数和麻醉类型判断是否停止手术;...

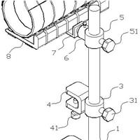
术肢抬高角度调整支架

本实用新型涉及术肢抬高领域,尤其涉及一种术肢抬高角度调整支架,该支架可解决背景技术中提出的支撑板为一体结构,不能根据患者手臂调整支撑位置,且绑带为一处,不能调节绑带固定手臂的位置的问题。包括立杆,立杆底部左侧设有第一固定架,立杆下端部从右向左旋拧贯穿有调节螺栓;第一固定架上侧的立杆上可旋转设有第一套环,第一套环右侧向内旋拧有第一限位螺栓,第一套环左侧固定设有第二固定架;第一套环上侧的立杆上可旋转套设有第二套环,第二套环右侧向内设有第二限...

一种具有区域化热疗的功能性发热毯

本实用新型涉及发热毯技术领域,具体为一种具有区域化热疗的功能性发热毯,包括毛毯主体,毛毯主体的上端设有防护帽,毛毯主体的侧端设有拉链,毛毯主体的两侧设有胳膊伸出口,胳膊伸出口处设有第一膨胀气囊,毛毯主体的下端两侧都设有腿部伸出口,腿部伸出口处设有第二膨胀气囊,毛毯主体的内部分别设有第一加热部、第二加热部、第三加热部和第四加热部,第一加热部、第二加热部、第三加热部和第四加热部的内部均设置有加热电阻丝,毛毯主体的侧端设有控制装置,控制装置与...

一种可调节高度的抬高垫装置

本实用新型属于护理领域,尤其是一种可调节高度的抬高垫装置,针对现有对抬高垫进行使用时,患者的肢体与垫体相互接触,会使垫体表面沾染汗液和杂质,在长时间使用后,还会滋生各种细菌,在对不同患者进行使用时,容易产生交叉感染引发疾病,影响患者健康的问题,现提出如下方案,其包括底板、两个支撑杆、空心管、顶杆、两个侧板和垫板,两个所述支撑杆的底部分别与同一个底板的顶部两侧连接,两个所述支撑杆的顶部分别与两个侧板的底部转动连接,可以方便对装置上的垫板进...

一种可视化痛风石伤口测量尺

本实用新型公开了一种可视化痛风石伤口测量尺,包括底板,所述底板顶部的两侧均固定连接有支撑板。本实用新型通过电机启动带动旋转轴和输送辊转动,使前侧输送辊顺时针转动,后侧输送辊逆时针转动,然后将消毒液通过加液管加入消毒液箱的内腔,通过过滤网对消毒液进行过滤,抽液泵启动通过抽液管抽动消毒液箱内腔的消毒液,消毒液通过抽液管、抽液泵和出液管抽动进入横向管的内腔,然后再通过消毒喷淋头喷出,将测量尺本体放入清洗消毒壳的内腔,并且使测量尺本体处在两个输...

一种凝血因子Ⅷ抑制物全自动筛查方法

本发明公开了一种凝血因子Ⅷ抑制物全自动筛查方法。本方法的FⅧ抑制物筛查方法是完全自动化的,简单、快速、准确,不同于操作繁琐、耗时长的传统手工方法,本方法可将离心后标本直接上机,并且检测时间短,结果更客观,重复性更强,质量控制更容易,能更有效地排除非客观因素的影响。

一种肺癌免疫治疗疗效的预测指标及其应用

本发明公开了一种肺癌免疫治疗疗效的预测指标及其应用,属于预测标志物技术领域。本发明提供了一种肺癌免疫治疗疗效的预测指标,所述预测指标包括特定口腔菌群。本发明还公开了所述的预测指标的定量检测试剂在制备肺癌预后预测试剂中的应用。本发明基于Metagenomic Next‑Generation Sequencing(mNGS)的非靶向代谢组学液相色谱质谱(LC/MS)分析唾液微生物群和代谢物数据,通过多组学分析,发现特定口腔菌群分布对免疫治疗...

精密输液器

本实用新型涉及输液用具领域,尤其涉及一种精密输液器,包括第一穿刺头,该输液器主要通过向瓶体内注入气体进行增压,可简化结构,有效降低成本。所述第一穿刺头上设有挡板,所述第一穿刺头一侧的挡板上固定设有竖向的第二穿刺头,第二穿刺头底部通过弯头连接第一接头,第一接头上连接第一单向阀,第一单向阀右侧可拆卸设有充气结构;第一穿刺头下方与输液管顶部相连接,输液管上端部下方设有滴管,所述滴管下游设有滴数调节器,滴数调节器下游还设有圆形空气过滤器,空气过...

一种用于生物活性骨修复材料的检定设备及其方法

本发明涉及活性骨的检定领域,具体为一种用于生物活性骨修复材料的检定设备及其方法,包括冲压机构,该冲压机构用于对活性骨材料的强度检测处理,所述冲压机构的底部固定连接有检定仓;偏转机构,该偏转机构用于对活性骨进行周向偏转处理;调节机构,该调节机构用于对不同种活性骨的位置进行调节处理;所述偏转机构固定连接在检定仓的外侧,所述检定仓的底部固定连接有支架板,该用于生物活性骨修复材料的检定设备及其方法,通过补偿板就会带着穿插压材穿过外置环的底部并向...

免疫相关间质性肺炎体外模型构建方法

本发明提供了免疫相关间质性肺炎(CIP)体外模型的构建方法,所述CIP体外模型分为细胞(球)层面的体外模型和类器官层面的体外模型。所述细胞层面CIP模型的构建方法包括利用PD‑1单抗处理肺癌细胞与激活的PBMC细胞的共培养体系,获取共培养体系中含PMBC的培养物上清。将培养物上清作为“条件培养基”用于肺上皮细胞或肺上皮细胞球体的培养。所类器官层面的CIP模型的述构建方法包括利用PD‑1单抗和激活的PBMC细胞处理肺正常组织类器官。本发明...

环丙贝特在制备抗乙型肝炎病毒的药物中的应用

本发明涉及环丙贝特在制备抗乙型肝炎病毒的药物中的应用,属于生物医药技术领域。本发明提供了环丙贝特在制备抗乙型肝炎病毒的药物中的应用。环丙贝特降低感染乙型肝炎病毒的人原代细胞的乙肝表面抗原HBsAg、乙肝e抗原HBeAg和乙肝核心抗原HBcAg表达量,抑制乙型肝炎病毒感染细胞,抑制乙型肝炎病毒增殖复制,可保护新生肝细胞再次感染,有抗乙型肝炎病毒作用,从而预防和治疗乙型肝炎病毒引起的疾病。环丙贝特作为调脂药物副作用小,无需皮下注射,患者依从...