企业详情

返回
南方医科大学南方医院

 

科技成果

一种CT检查床配套防护装置

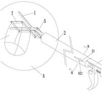
本发明提供一种CT检查床配套防护装置,属于CT检查防护技术领域。包括CT扫描仪,所述CT扫描仪上固定连接有扫描床体;躺板结构,位于所述扫描床体上且相连接,所述躺板结构用于为待进行CT检查的患者提供平躺位置,同时方便拆卸消毒;调节结构,位于所述躺板结构的内部且相连接,所述调节结构内部连接有收卷结构,所述收卷结构上安装有铅布,所述调节结构用于为所述铅布和所述收卷结构提供安装空间。本发明通过设置调节结构和收卷结构,通过隐藏式的调节结构和收卷结...

一种影像科用婴幼儿胸透固定辅助设备

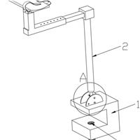
本发明提供一种影像科用婴幼儿胸透固定辅助设备,属于影像科婴幼儿设备技术领域。包括辅助固定座,所述辅助固定座上固定连接有防护铅布,且所述辅助固定座上装配有头枕,所述辅助固定座上设置有位于所述头枕外侧的头部防护罩,且所述辅助固定座中开设有轻量化空腔。本发明通过设置头部防护罩和防护铅布以及防护铅带,让整个胸透固定辅助设备能够对婴幼儿进行全面的限位固定和防护,且头部防护罩和防护铅布的开合和固定操作均简单便捷,易于医护人员使用,防护铅带的设置则使...

一种防止卧床病人身体下滑的装置

本实用新型涉及防病人下滑领域,尤其涉及一种防止卧床病人身体下滑的装置,该装置设有对患者朝向床头牵拉的结构,有效解决背景技术中提出的仅通过凹陷部分与屁股配合实现防下滑作用效果不理想的问题。包括与患者腰部配合的固定带,所述固定带呈弧形结构,一端外表面设有第一粘扣带粘钩,另一端内表面设有第一粘扣带基座,所述固定带外表面间隔固定设有若干柔性弧形的固定耳,固定带两侧分别设有与床栏牵拉配合的牵拉结构;固定带上嵌有若干圆形通孔。它操作简单,使用方便,...

一种病床

本实用新型公开了一种病床,包括底板,所述底板的上方设置有承托板,所述底板顶部的中心处安装有能自动调节承托板高度的调节组件,底板顶部的四角均安装有支撑于承托板下方的引导组件,承托板顶部的左侧固定镶嵌有称重传感器,承托板的左侧设置有控制器,控制器的左侧螺丝安装有蜂鸣器,称重传感器与控制器双向电连接,蜂鸣器的输入端与控制器的输出端电性连接,承托板的顶部开设有放置槽,放置槽的内腔设置有床板。本实用新型可智能调整承载高度,以满足使用者需求。

RIPK1 O-GlcNAc糖基化抑制剂在制备增强肾细胞癌舒尼替尼敏感性药物中的应用

本申请提出一种RIPK1O‑GlcNAc糖基化抑制剂在制备增强舒尼替尼肾细胞癌敏感性药物中的应用,本申请发现RIPK1O‑GlcNAc糖基化特别是第331位、440位和669位丝氨酸的O‑GlcNAc糖基化降低了肾细胞癌对舒尼替尼的敏感性。因此通过抑制RIPK1O‑GlcNAc糖基化或者敲低O‑GlcNAc转移酶的表达,增加肾细胞癌对舒尼替尼的敏感性。因此RIPK1的O‑GlcNAc糖基化水平能够作为生物标记物,用于预测肾细胞癌对于舒尼...

一种用于介入术后患者皮肤防压力性损伤的护理设备

本发明提供一种用于介入术后患者皮肤防压力性损伤的护理设备,属于医疗护理设备技术领域。包括第一颈托片和第二颈托片,所述第一颈托片的中部固定连接有固定架,所述固定架和所述第二颈托片之间通过魔术贴连接固定,所述第二颈托片的内侧设置有后颈护垫和侧面防护垫,所述第一颈托片的顶部区域设置有环形保护区。本发明通过设置后颈护垫和侧面防护垫以及胸口支撑区和下巴防护垫,来对第一颈托片和第二颈托片佩戴后与患者的皮肤接触区域进行防护,避免产生压力性损伤,提升的...

患者肢体固定装置

本实用新型公开了患者肢体固定装置,包括固定底座,所述固定底座上设置有支撑杆,所述支撑杆的侧面顶端连接有肢体固定板,所述肢体固定板上设置有绑缚固定的魔术贴,其特征在于:所述支撑杆的顶端设置有角度调节底座,所述肢体固定板的底端设置有调节板,所述调节板上固定连接有转轴和压簧杆一,所述角度调节底座上设置有中心孔和多个调节孔。本实用新型采用固定底座、角度调节底座、调节板、转轴和压簧杆一等多个结构的结合,能够对患者肢体进行固定,解决了现有技术中因为...

一种腔镜术用肿瘤取出装置

本实用新型公开了一种腔镜术用肿瘤取出装置,涉及微创手术技术领域,包括夹持钳、长柄和操作握把,还包括收集袋,夹持钳和收集袋可调节设置在长柄的前端;夹持钳与长柄之间,以及收集袋与长柄之间均设置有调节组件;长柄内部贯穿且活动设置有用于分别驱动2个调节组件移动的第一驱动件和第二驱动件;操作握把固设在长柄的末端,并与第一驱动件固定连接。本实用新型结构设计科学合理,可同时实现对肿瘤的夹持与接取,操作简单,效率高;L形驱动杆、螺纹帽与第一菱形支架配合...

一种多功能试样夹具

本实用新型公开了一种多功能试样夹具,属于试样夹具技术领域,包括,包括U型夹持架,两个U型夹持架转动连接,U型夹持架上滑动卡接有横向移动组件,横向移动组件上安装有夹持弯板,U型夹持架的一侧壁上安装有U型底座,U型底座上转动连接有支撑侧板,支撑侧板的一侧壁上安装有转动手柄,通过调整夹持弯板的位置,使得该夹具不仅能够同时夹持两个试验管,而且还可以调整夹持的间距,使得夹持的间距能够根据储存盒上的定位孔的间距调整,有利于提高该夹具的使用便利性,并...

一种渗液收集装置

本发明公开了一种渗液收集装置,包括袋体、底盘和排液管,底盘设置于袋体的前侧上部,排液管连接于袋体底部,所述底盘分为左右两个彼此可拆卸连接的独立盘体,两个独立盘体与袋体的前侧之间通过波纹折叠结构连接,各独立盘体上设置有渗液收集孔,袋体的后侧上部有与两个渗液收集孔对应的两个引流管伸出孔。本发明的渗液收集装置采用一个袋体便能对患者身上两处引流位置进行渗液收集,不需要增加袋体数量,可减少患者的不适感。

一种急性重症胰腺炎坏死灶清创引流装置

本发明提供一种急性重症胰腺炎坏死灶清创引流装置,属于医疗器械技术领域。包括微创通道,微创通道内插设有穿刺器,穿刺器内插设有引流管,引流管的一端固定连接有引流头,引流管的另一端固定连接有操作手柄;引流组件用于辅助使用者清理坏死灶里的坏死组织。本发明通过设置引流组件,引流组件的设置可以协助操作人员对脏器上的坏死组织进行切割清理,对于一些没有完全脱离脏器的坏死组织,会在与脏器产生粘连的现象不利于操作人员对坏死物进行冲洗清理,此时操作人员可以借...

早产儿防压疮乳胶床

本实用新型涉及早产儿乳胶床领域,尤其涉及一种早产儿防压疮乳胶床,该乳胶床可解决背景技术中防压水床不便拆装清洗维护、不便婴儿侧卧以及侧面没有设置防滑结构导致婴儿易从床体滑落的问题。包括底部的床体,所述床体上侧设有后侧开口的围挡,围挡呈n形结构,围挡底面前半部分与床体上表面设有相互配合的第一粘扣带,围挡后侧两端部分别设有系绳;床体前端部上表面可拆卸设有对头部限位的头枕;头枕后侧的床体上设有可塑形的便于婴儿侧卧的限位结构;围挡左右两部分中间位...

一次性耵聍冲洗器

本实用新型涉及耵聍冲洗领域,尤其涉及一种一次性耵聍冲洗器,该冲洗器可有效解决针头和软管容易脱落,冲洗方向难以掌控以及冲洗力度欠佳的问题。包括注射器,所述注射器下侧的出液嘴通设有外螺纹,出液嘴通过外螺纹向下安装螺纹接头,螺纹接头底部固定设有钢管,钢管下端口所在平面与钢管长度方向垂直,钢管上套置有软管,软管上端部与螺纹接头粘接固定。所述钢管下端口外沿设有圆形倒角。软管下端部延伸至钢管下侧2毫米处。钢管下端部上侧的软管上固定套设有刮除结构。它...

手术室托手架

本实用新型涉及手术室托架领域,尤其涉及一种手术室托手架,该托手架可调节高度,且能调节患者手臂的固定位置和固定角度,包括十字形底座,所述十字形底座底面四角分别固定设有具有限位功能的万向轮,所述十字形底座上方固定设有具有伸缩和定位功能的支架,所述支架顶部与横向固定块底面中心位置固定连接,固定块左右两端部分别前后滑动穿置有与床体配合的固定件,固定块左右两端部外侧面分别设有与固定件配合的紧固螺栓;固定块左右两端部上表面分别固定设有可调节高度和角...

一种用于糖尿病足创面的敷料及其制备方法

本发明涉及一种用于糖尿病足创面的敷料及其制备方法,属于生物医用敷料领域。本发明的用于糖尿病足创面的敷料,包括依序设置的一级内层敷料层、二级外层敷料层和外部保护层;一级内层敷料层由通过同轴静电纺丝制备的纳米核壳结构纤维构成,壳层为羧甲基纤维素‑蔗糖八硫酸酯银复合物,核层为聚乳酸‑过碳酸钠复合物;二级外层敷料层由pH响应负载氧气水凝胶涂覆在一级内层敷料层的一侧形成;外部保护层为涂覆有聚乙二醇‑碳酸氢钠复合物的绷带。该敷料,通过多级结构协同发...

一种眼科护理用眼睑撑开设备

本发明提供一种眼科护理用眼睑撑开设备,属于医疗器械技术领域。包括固定架,所述固定架中套设螺纹杆,且所述固定架的两端活动连接有支撑臂,所述螺纹杆的一端延伸至所述固定架与所述支撑臂之间并通过轴承连接有调节座,所述调节座的两端均转动连接有撑杆,所述撑杆远离所述调节座的一端与所述支撑臂之间转动连接,所述支撑臂的末端固定连接有开睑钩。本发明通过设置支撑垫和关节球以及连接组件,让支撑垫和关节球能够通过连接组件与固定架之间形成连接固定,并依靠支撑垫和...

一种用于手术室的插头防拔装置

本实用新型涉及手术室插头防护领域,尤其涉及一种用于手术室的插头防拔装置,包括右开口的U形固定架,U形固定架左侧第一固定板中心位置嵌有可供三相插头的插片通过的插孔,U形固定架两侧的第二固定板的左端部中心位置分别固定设有固定片,固定片上设有与插座上固定孔相对应的通孔。固定片右侧的第二固定板上横向排列设有若干穿孔,前后两侧的穿孔一一对应,一对前后穿孔中穿置有螺栓,螺栓的穿出端设有锁紧螺母。它操作简单,使用方便,适用于多种场所。

一种改良的香薰器皿

本实用新型公开了一种改良的香薰器皿,包括壳体,所述壳体的顶部为器皿口且该壳体的底部设置有电热片,所述壳体的内部空间被隔板分隔成若干个独立的香料腔,所述器皿口上可拆卸设置有能够轴向转动的封口盖,所述封口盖的底面与隔板的顶面贴合且该封口盖上开设有能够与位于其正下方的香料腔连通的出气孔。本实用新型具有使用便捷、能够迅速切换香味的优点。

一种临床检验用多工位离心机

本实用新型公开了一种临床检验用多工位离心机,包括离心机底座以及设于所述离心机底座上的旋转座,所述离心机底座中设置有驱动电机,所述驱动电机的输出端与所述旋转座的底部传动连接,所述旋转座的顶部均滑动装配有若干滑块,若干所述滑块的滑动轨迹均指向所述旋转座的旋转中心,所述滑块上设置有用于放置离心试管的试管座,所述旋转座内设置有调节组件,所述调节组件用于调节各个所述滑块与所述旋转座旋转中心之间的间距。本实用新型通过调节组件驱使所述滑块在所述滑槽中...

机器学习辅助传感阵列的多种脑膜炎数据处理方法和系统

本申请实施例提供了机器学习辅助传感阵列的多种脑膜炎数据处理方法和系统,属于数据处理与传感器阵列技术领域。本发明获取传感元件;所述传感元件通过金属有机框架、共价有机框架和氢键有机框架合成;根据所述传感元件,构建传感阵列;根据所述传感阵列和脑膜炎脑脊液,得到荧光信号;根据所述荧光信号和机器学习算法,得到脑膜炎类型信息。本发明能够实现不同感染类型脑膜炎的数据处理。