企业详情

返回
南方医科大学深圳医院

 

科技成果

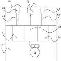
一种疼痛动态评估尺

本实用新型公开了一种疼痛动态评估尺,包括:尺板、滑块、痛感按钮、电磁吸合器、撞击块、磁片、痛感游标、手动表盘、旋转轴、手动表针、压电陶瓷蜂鸣器、控制器和电源。具体工作时,患者可通过回答医生的问询,调整痛感游标完成患者痛感的自我评估,针对患者文化程度差异这一特点,本实用新型还可通过患者按压痛感按钮的方式将患者的疼痛状态反应于本实用新型的痛感评估尺上。本实用新型结构简单,成本低廉,同时兼具有体积小可便携和操作简单适用性广等优点。

SMILE术透镜染色低温分离液、应用及其使用方法

本发明涉及一种SMILE术透镜染色低温分离液、应用及其使用方法。其中,该SMILE术透镜染色低温分离液保持在0~4℃下使用,用于SMILE术染色浸润分离透镜,包括平衡盐溶液和0.005mg/ml~0.5mg/ml荧光素钠,平衡盐溶液的成份包括0.29mg/ml~0.8mg/ml氯化钾、0.19mg/ml~0.5mg/ml氯化钙、0.25mg/ml~0.35mg/ml氯化镁、0.3mg/ml~0.45mg/ml醋酸钠和1.6mg/ml~2...

一种带豁口的吸唾器

本实用新型公开了一种带豁口的吸唾器,包括吸管以及后端连接部,吸管的前端一侧开设有豁口,后端连接部与吸管后端固定连接,吸管中部有一弯折角α。吸管的前端一侧开设有豁口,后端连接部与吸管后端固定连接,吸管中部有一弯折角α;弯折角使得吸管前端深入口腔时不影响操作者的视线,医护人员通过吸管前端的端部一侧开设的豁口调节吸管的吸力,避免吸管前端碰到软组织,防止管口被软组织封闭,有效杜绝了牙周软组织被吸管吸附造成损伤,极大地降低了患者口腔收到二次损伤,...

一种上颌磨牙旋转微创拔牙钳

本实用新型公开了一种上颌磨牙旋转微创拔牙钳,包括通过关节连接的钳柄和钳喙,钳喙包括钳喙夹持段和钳喙力臂段,钳喙力臂段与钳柄之间形成开口朝下的钝角α,钳喙力臂段与钳喙夹持段之间形成开口朝上的钝角β,钳喙夹持段的末端设置有钳喙尖端,在拔除磨牙时,钳喙将整个磨牙牙冠夹持包夹在钳喙内,夹持稳固,防止滑脱,快速拔下磨牙,减少病患痛苦,避免损伤邻牙和软组织。

一种带圆孔的吸唾器

本实用新型公开了一种带圆孔的吸唾器,包括吸管以及后端连接部,吸管前端一侧开设有通孔,后端连接部与吸管后端固定连接,吸管中部有一弯折角α。当带圆孔的吸唾器前端接触到口腔软组织时,通孔的存在能分流部分负压从而减少对软组织的损伤,降低感染可能性,提高手术效率。

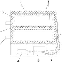
一种新入科手术室护士电外科手术设备培训装置及方法

一种新入科手术室护士电外科手术设备培训装置,包括安装台,所述安装台的上端右部固定安装有手术设备,所述手术设备的左端下部固定安装有接线装置,所述接线装置的内部设置有接线块,所述接线块的左端固定连接有连接线,所述连接线的左端固定连接有操作装置,所述安装台的上端左部固定安装有消毒装置,所述操作装置的左部位于消毒装置的内部。本发明通过设置的消毒装置,使得操作装置装置处于密封的消毒空间内进行储存,并且进入到消毒装置内部时将会进行再次的消毒,从而使...

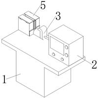
一种新入科手术室护士电外科手术设备培训的VR设备

本发明公开了一种新入科手术室护士电外科手术设备培训的VR设备,包括定隔音板,所述定隔音板的前端转动设有动隔音板且所述动隔音板上固定安装有定位组件,所述定隔音板的上端固定安装有第一隔音罩且所述第一隔音罩的外围设有第二隔音罩,所述第一隔音罩与定隔音板所围成的腔内安装有驱动组件和座椅组件。本发明所述的一种新入科手术室护士电外科手术设备培训的VR设备,设有定隔音板、动隔音板、第一隔音罩、第二隔音罩和驱动组件,可形成一个良好密封环境,可对外界声音...

一种3D打印工件残留树脂清洗装置

本实用新型公开了一种3D打印工件残留树脂清洗装置,包括:清洗机主体、清洗装置、支撑装置和过滤装置,所述清洗机主体呈中空的圆筒形结构,所述清洗机主体的下端设置有若干支撑脚,所述清洗机主体内形成有一清洗空腔,所述清洗空腔的上部设置有所述清洗装置,所述清洗空腔的中部设置有所述支撑装置,所述支撑结构上放置有待清洗工件,所述清洗空腔的下部设置有所述过滤装置。通过对本实用新型的应用,可对3D打印工件的表面残留的树脂进行快速且全面清洗,提高了生产效率...

一种血浆外泌体标志物组合及其应用

本发明公开了一种血浆外泌体标志物组合及其应用,该血浆外泌体标志物组合由差异蛋白和代谢物组成,使用该血浆外泌体标志物组合能够准确的鉴定样品是否可以预测前列腺癌患病风险和去势抵抗性前列腺癌发生风险,特异性强,准确度高,其检测精度要由于传统的PSA检测法,可应用于临床的早期诊断以及临床上的针对性治疗和预防,提高前列腺癌和去势抵抗性前列腺癌患者的治疗效果和生存获益。

一种医用女性集尿内裤

本实用新型公开了一种医用女性集尿内裤,包括内裤主体,内裤主体底裆部对应穿戴者尿道口位置开设有椭圆形通孔,椭圆形通孔外侧端向外凸起连接设有透明弹性罩体,透明弹性罩体底端设有柱状开口,柱状开口处连接设有排尿管,排尿管另一端连接设有集尿袋,排尿管上设有活动卡夹。

睑板腺功能障碍治疗装置

本发明公开了睑板腺功能障碍治疗装置,包括内部中空的手柄和控制系统,控制系统安装在手柄内,手柄上端设有治疗头,治疗头内设有超声波振子和电磁铁,电磁铁位于超声波振子内,治疗头上通过电磁铁磁性连接有由刚性金属导磁材料制成的睑板腺按摩片,治疗头朝向睑板腺按摩片的一侧的外表面设有电热膜,手柄下端设有充电接口,手柄的外表面上设有控制按键、电源按键和指示灯,充电接口、控制按键、电磁铁、电源按键、指示灯和治疗头均与控制系统电连接。本发明结构简单,设计合...

一种用于协助急诊抢救工作的可视化通讯系统

本发明公开了一种用于协助急诊抢救工作的可视化通讯系统,包括:主控模块,所述主控模块用于控制整个系统的正常运行;自适应通讯模块,所述自适应通讯模块与所述主控模块连接,所述自适应通讯模块用于实现整个系统的数据传输;按键和显示模块,所述按键和显示模块与所述主控模块连接,所述按键和显示模块设置在各个科室,各科室之间通过按键和显示模块进行信息的接收和发送以完成可视化通讯;电源模块,所述电源模块与所述自适应通讯模块连接,用于整个系统的供电。本发明采...

一种低温灭菌器械预消毒装置

本实用新型公开一种低温灭菌器械预消毒装置,包括壳体、空压机、储液器、液泵、喷管和三通阀,所述壳体内部设有空腔,所述喷管内部中空形成管腔,所述喷管的侧壁设有若干个与所述管腔相通的喷洒孔;所述喷管设置在所述空腔内;所述空压机与所述三通阀的第一端相连通,所述储液器与所述三通阀的第二端相连通,所述管腔与所述三通阀的第三端相连通,所述液泵设置在所述储液器与所述三通阀之间。本实用新型更便于对器械进行预消毒,使预消毒操作更加方便,能有效提高预消毒效率...

一种手术器械追踪装置

本实用新型公开一种手术器械追踪装置,包括底座,底座上设有识别组件、处理器和触控屏,手术器械上设有可被识别组件识别的唯一识别标志,识别组件的信号输出端与处理器的信号输入端电连接,处理器与触控屏电连接;识别组件用于识别唯一识别标志生成识别信号,并将识别信号发送至处理器中;处理器用于处理识别信号,并匹配与该识别信号相对应的手术器械。本实用新型可方便术后对手术器械进行清点,操作方便、耗时短,能显著提高清点效率,且能避免清点出错的现象。

一种手术器械自动提供系统

本实用新型涉及一种手术器械自动提供系统,该系统包括箱体;箱体内设有多个层架;层架内设有若干独立储藏柜;独立储藏柜中设有托盘、压力检测组件以及提示组件;压力检测组件设置在独立储藏柜底部;托盘设置在压力检测组件上;箱体内设有控制组件;控制组件分别与压力检测组件和提示组件电连接;通过自动分配手术器械,能够减少工作人员在术前准备和清点手术器械时的工作强度,手术器械类型及数量准备更加清楚,清点效率高,保证手术中所需要的手术器械种类的准确,减少对手...

一种锐器盒

本实用新型公开了一种锐器盒,包括盒体,盒体的顶部上设有第一凹槽、第二凹槽、第三凹槽;第一针孔,与第一凹槽连通;第二针孔,与第二凹槽连通;第三针孔,与第三凹槽连通;针头回收腔,设置在盒体内,针头回收腔与第一针孔、第二针孔、第三针孔分别连通;盖子,可活动地设置在盒体上,具有打开和关闭的工作状态;此锐器盒通过设置第一凹槽、第二凹槽、第三凹槽对应规格不同的第一针孔、第二针孔、第三针孔,使锐器盒可以回收多种规格的针头,使用时只需将注射器的头部放入...

一种手术器械灭菌装置

本实用新型涉及一种手术器械灭菌装置,包括箱体,还包括设置在箱体中的夹持组件;夹持组件包括:底座、夹持组、驱动件与卡位器;夹持组、驱动件与卡位器均设置在底座上;驱动件驱动夹持组打开或闭合;卡位器位于夹持组的侧边;通过设置驱动件与夹持组,驱动件控制夹持组的开启或闭合,通过设置卡位器,卡位器具有多组,根据手术器械的大小需要,将对应的卡位器设置在夹持组中部,进而夹持组内手术器械的空间,根据实际需要将卡位器设置在对应的夹持组中,保证各种尺寸的手术...

一种胫骨平台髁间隆突撕脱骨折的钻孔组件及定位器

本实用新型公开了一种胫骨平台髁间隆突撕脱骨折的钻孔组件及定位器。该钻孔组件应用于胫骨平台髁间隆突撕脱骨折定位器上,定位器包括定位套筒,钻孔组件包括:套管和钻孔针,钻孔组件可活动穿过定位套筒,钻孔针包括长轴段和锥形结构,长轴段设于套管内,锥形结构的大端直径与套管卡扣式轴连接,套管背离以及与锥形结构相卡接的两端均设置有可将套管卡设在骨头内的卡凸结构,该钻孔组件可以很方便地进行找孔与穿线的动作,而且准确,使得手术很方便而且可以顺利进行。

一种骨科手术切割锯结构

本实用新型公开了一种骨科手术切割锯结构,包括:固定脚、连接杆、切割轴和切割组件;所述固定脚和所述连接杆相互垂直设置,所述切割轴与所述连接杆相互垂直设置,所述切割轴与所述固定脚并列设置在所述连接杆的同一侧;所述切割组件包括切割锯,所述切割锯设置在所述切割轴的末端,所述切割锯为圆弧形,所述圆弧形的圆心为所述固定脚圆心,所述圆弧形的半径等于所述固定脚的圆心到所述切割轴的圆心所形成的半径。该骨科手术切割锯结构可以很方便地切割出圆弧形的骨头出来。

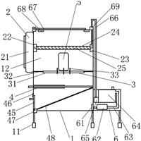
黄疸治疗仪

本发明公开了黄疸治疗仪,包括有防滑垫与睡眠支撑部位,所述防滑垫的顶端贴合有橡胶基座,且所述橡胶基座的顶端右侧设置有配电块,所述橡胶基座的顶端贴合有底板,所述睡眠支撑部位设置于底板的左侧上方,所述底板的边侧上方设置有盆壁,所述盆壁的内侧右端设置头枕座,且底板的内端顶侧夹持连接有塞口环;本发明中睡眠支撑部位中的睡布采用双层式的设计撑开时类似于吊床,使新生儿的姿势与子宫环境中的姿势相似让宝宝更具有安全感,不易哭闹,便于洗澡、长时间蓝光照射,睡...