企业详情

返回
南方医科大学珠江医院

 

科技成果

一种裂隙灯模拟化固视眼镜

本实用新型属于医疗技术领域。本实用新型公开了一种裂隙灯模拟化固视眼镜,包括带有镜腿的眼镜框且该眼镜框不带有眼镜片;在其中一个所述镜腿上靠近所述眼镜框的外侧端通过一阻尼器设有一能够随着该阻尼器的活动端转动调节的伸缩杆,在所述伸缩杆上远离所述阻尼器的一端设有一能够调节角度并以预定的发光频次模拟外部的裂隙灯向所述眼镜框发光照射以实现对病人进行裂隙灯照射固视模拟训练的照射灯结构。本实用新型具有能够预先对病人进行裂隙灯照射固视模拟训练以便于病人在...

便携式折叠护腰护枕靠垫

本实用新型公开了一种便携式折叠护腰护枕靠垫,包括靠垫结构,所述靠垫结构的上下方分别设置有颈枕、坐垫结构且该靠垫结构的上下两端均设置有角度和长度均可调的调节结构,所述靠垫结构的两端通过两调节结构分别与颈枕、坐垫结构连接。本实用新型具有适用范围广、舒适度高的优点。

一种B超引导联合腔内3CG定位手臂式输液港

本发明公开了一种B超引导联合腔内3CG定位手臂式输液港,包括港体、导管以及连接港体和导管的锁扣装置;所述导管为柔性管;所述港体一侧较高,另一侧较低,形成坡状;所述港体较高的侧面设置有硅胶隔膜;所述硅胶隔膜较低的侧面设置有出液接头;所述导管通过锁扣装置连接出液接头;不仅解决了现有输液港的一些主要问题,还提供了更为安全、可靠和用户友好的输液港选择,特别适用于需要长期进行静脉输液的患者,有助于提升患者的治疗体验,减少医疗成本,并提高整体治疗的...

一种便捷式麻醉动脉穿刺置管术托手架

本实用新型公开了一种便捷式麻醉动脉穿刺置管术托手架,包括托板,所述托板的表面固定安装有防护块,且防护块是采用硅胶材质制成,所述防护块的表面皆固定安装有按摩块,且按摩块是采用乌檀材质制成,所述防护块的顶部固定设置有斜面板。本实用新型通过在托板的表面固定安装有防护块,能够利用防护块将病人的手进行放置,然后利用硅胶的柔性可以使患者手部放松,接着利用按摩块可以对患者手部进行按摩,利用乌檀的硬度对患者起到按摩的效果,然后利用斜面板将患者手进行限位...

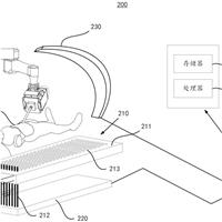
手术床系统、及对应的控制方法和存储介质

本申请公开了一种手术床系统、及对应的控制方法和存储介质,该系统包括:手术床系统的处理器通过图像采集装置获取第一参照对象运动时的第一位姿信息、以及获取第二参照对象运动时的第二位姿信息;根据第一位姿信息和第二位姿信息之间的相对位姿关系,生成框架模型的初始模型参数;根据第一位姿信息,更新初始模型参数,并基于更新的模型参数控制驱动装置,以驱动支撑杆的伸缩运动。本申请提升了手术床控制的智能化程度。

一种基于多模态的智能交互AD筛查系统、装置

本发明公开一种基于多模态的智能交互AD筛查系统、装置,包括:量表测试模块,用于生成AD筛查测试;数据采集模块,用于采集受试者完成AD筛查测试过程的多模态数据;所述多模态数据包括受试者的眼动数据、微表情数据、笔迹数据以及步态数据;多模态分析模块,用于训练多模态信息融合模型;通过训练后的多模态信息融合模型分析所述多模态数据,对照标准MoCA‑B量表对所述多模态数据进行筛查,输出AD筛查结果;训练多模态信息融合模型过程中,当存在AD筛查结果与...

一种脑血管病患者康复游戏参数修正方法及平台

本发明涉及图像处理技术领域,尤其涉及一种脑血管病患者康复游戏参数修正方法及平台。该方法包括以下步骤:通过交互界面获取康复游戏数据,并根据康复游戏数据进行康复游戏交互作业;在康复游戏交互作业的过程中,控制终端设备的摄像头进行用户图像采集,得到用户图像数据;对用户图像数据进行二值化图像定位处理,得到二值化图像定位数据;根据二值化图像定位数据进行变动区域图像提取,得到变动区域图像数据;对康复游戏数据以及变动区域图像数据进行交互评估,从而获得交...

一种适配体和转化生长因子β3修饰的四面体框架核酸及其制备方法和应用

本发明公开了一种适配体和转化生长因子β3修饰的四面体框架核酸及其制备方法和应用,属于生物医药领域。该适配体和转化生长因子β3修饰的四面体框架核酸为通过二硫键结合转化生长因子β3的四面体框架核酸,所述四面体框架核酸的四条DNA单链的序列如SEQ ID NO:1‑4所示,所述四面体框架核酸的四条DNA单链中的其中一条还包含延长的适配体序列,所述延长的适配体序列如SEQ ID NO:5所示。本发明首次创新性的合成了适配体和转化生长因子β3修饰...

芳香族氨基酸脱羧酶的抑制剂在制备治疗肝性脑病的药物中的应用

本申请公开了一种芳香族氨基酸脱羧酶的抑制剂在制备治疗肝性脑病的药物中的应用。本申请以芳香族氨基酸脱羧酶为标靶,通过小鼠实验证实抑制芳香族氨基酸脱羧酶的活性能够逆转部分肝性脑病的表现,使得芳香族氨基酸脱羧酶的抑制剂有应用于制备治疗肝性脑病的药物的前景。

CT机颈肩部硬化束伪影消除系统

本发明公开了CT机颈肩部硬化束伪影消除系统,包括支撑床和图像处理器,支撑床的顶部设有支撑垫,支撑床的顶部设有支撑头枕,支撑床的顶部固定连接有支撑箱,支撑箱的内部转动连接有一号丝杆,支撑箱的内部设有转动机构,一号丝杆与转动机构连接,本发明的有益效果是:通过防护海绵,实现了防护海绵与肩颈部位置进行遮挡,避免强光的亮度对CT图像造成伪影的现象,对伪影进行消除处理,通过加入了转动机构,实现了二号锥齿轮带动一号锥齿轮和一号丝杆进行转动,从而对限位...

可伸缩的多用引流管装置

本实用新型公开了一种可伸缩的多用引流管装置,包括引流管,所述引流管包括与人体配合的置入段、能够伸缩的螺旋段、Y形管段,所述Y形管段的一端依次经螺旋段、置入段与人体腔道连通且该Y形管段的另外两端分别设置有用于连接外部的负压管路与冲洗管路的接口。本实用新型具有方便收纳、能够有效地避免牵拉、引流阻塞和感染的优点。

一种针灸针腕踝针寻针器

本实用新型属于医疗设备技术领域,具体的说是一种针灸针腕踝针寻针器,包括寻针盒体;所述寻针盒体侧面开设有磁铁口;所述磁铁口内部固定连接有磁铁架;通过寻针盒体内部的负压风机来对掉落在缝隙中针头吸取,且利用寻针盒体底部的磁条来辅助负压风机,磁条设有四组,当寻针盒移动时,底部的四组磁条可全面覆盖住地面,由于针灸针采用的是430和403不锈钢材质,磁条对不锈钢材质的吸附力较小,但磁条可作为辅助用吸附其他材质的针头,而后通过负压风机对其进行收集,也...

一种带影像通道的椎间撑开器

本实用新型公开了一种带影像通道的椎间撑开器,包括撑开器主体,所述撑开器主体包括齿杆,所述齿杆的一端设置有固定臂且该齿杆的一端设置有可沿其长度方向移动的活动臂,并且,上述齿杆上设置有用于固定活动臂的位置的定位机构,以及,所述活动臂上设置有能够固定内镜的影像通道。本实用新型具有扩大视野、降低手术难度、提高手术成功率的优点。

一种用于脊柱内镜通道辅助造腔的骨刀结构

本实用新型属于医疗技术领域。本实用新型公开了一种用于脊柱内镜通道辅助造腔的骨刀结构,包括卡槽筒体;在所述卡槽筒体的上端设有一用于将该卡槽筒体稳固限定在患者腰椎棘突指定位置上的限位锯齿,在所述卡槽筒体的内部一侧纵向设有一用于供一骨刀可拆卸伸入并根据需求进行不同进深凿穿患者脊柱椎板以形成造腔通道的夹层组件。本实用新型具有在凿穿脊柱椎板的过程中骨刀不易在脊柱棘突矢状面上产生滑动偏移影响造腔效率、不易出现骨刀向下滑移导致凿击过深而损伤硬膜囊的优...

一种更换探针头的电离子治疗仪手柄

本实用新型公开了一种更换探针头的电离子治疗仪手柄,具体涉及电离子设备技术领域,包括本体,所述本体包括手柄以及安装于手柄顶端的手柄长杆,所述手柄长杆包括可插入手柄长杆内的治疗探头和安装于手柄长杆外壁的超声波探头,所述治疗探头的底部设置有插块,所述手柄长杆内设置有与插块相配合的插槽,所述插槽上设置有滑槽和固定孔,且滑槽与固定孔相连通;通过设置手柄长杆,由手柄长杆上的治疗探头和超声波探头配合使用,可实现将治疗仪手柄深入阴道中进行治疗,并探测具...

一种脑外科头架辅助下的侧卧位托手装置

本实用新型公开了一种脑外科头架辅助下的侧卧位托手装置,包括固定座,下托座,转动连接件、上托座及约束件;固定座固定于手术床上;下托座设于固定座上;转动连接件与固定座转动连接,且可在第一及第二位置之间切换,当切换至第一位置时,转动连接件的上端位于下托座的左侧,当切换至第二位置时,转动连接件的上端位于下托座的正上方;上托座设于转动连接件的上端,且上托座可在转动连接件切换至第二位置时,与下托座之间形成一适于夹持手臂的夹固间隙,约束件用于约束病人...

一种基于深度摄像头的CT扫描机用自动调整身体姿势的床

本实用新型公开了一种基于深度摄像头的CT扫描机用自动调整身体姿势的床,包括CT扫描仪,支撑座,深度摄像头,床体,调节组件,头部约束枕,底座,调节履带,挡板,所述CT扫描仪设在所述支撑座上,所述深度摄像头设在所述CT扫描仪上,所述所述支撑座侧面固定设有底座,所述底座上设有调节组件,所述床体设在所述调节组件上,所述床体上设有所述头部约束枕,所述床体上表面设有调节履带,所述床体边缘开设有挡板槽,所述挡板设在所述挡板槽内,本实用新型通过深度摄像...

一种可测量刷擦压力的感觉统合训练刷

本实用新型涉及感觉统合训练刷技术领域,且公开了一种可测量刷擦压力的感觉统合训练刷,包括训练刷主体,训练刷主体的底壁面开设有放置槽,放置槽内部滑动连接有应力活动板,应力活动板的底端固定安装有刷毛,放置槽的顶壁面中部位置开设有安装槽,安装槽内部顶侧位置固定安装有控制器,安装槽内部底侧位置固定安装有压力传感器,应力活动板与压力传感器之间设置有测量机构,测量机构包括压力弹簧,训练刷主体的前壁面从左到右依次固定安装有压力显示屏和LED变色灯。本实...

基于3D-MRCP图像的胆道三维重建方法及相关装置

本发明公开了一种基于3D‑MRCP图像的胆道三维重建方法及相关装置,其中所述方法包括:基于预设图像采集方式对目标位置进行图像采集处理;基于3D级联U‑Net网络中第一阶段3D U‑Net网络对3D‑MRCP图像进行初步分割处理;基于初步分割3D‑MRCP图像进行感兴趣图像区域识别处理,获得感兴趣图像区域;基于3D级联U‑Net网络中第二阶段3D U‑Net网络对感兴趣图像区域进行胆道分割处理,获得胆道分割结果;对胆道分割结果进行三维重建...

一种便携式计量引流装置

本实用新型属于医疗技术领域,本实用新型公开了一种便携式计量引流装置,包括带有挂勾的架体,在所述架体内可拆卸挂设有带有刻度的引流袋;在所述架体上设有一用于监测所述引流袋内的液体引流量阀值的引流液监测结构,还在所述架体上设有一与所述引流液监测结构电连接并由该引流液监测结构控制其发出警报信息提醒医护人员及时控制引流量以实现准确计量引流治疗的报警结构。本实用新型具有携带方便、能够根据引流量状况发出警报提醒医护人员及时控制引流量以实现准确计量引流...