企业详情

返回
南方医科大学深圳医院

 

科技成果

人体腰椎假体(个性化定制)

1.本外观设计产品的名称:人体腰椎假体(个性化定制)。 2.本外观设计产品的用途:用于作为人体腰椎假体,在腰椎切除手术中用于替代原有的人体腰椎。 3.本外观设计产品的设计要点:在于形状。 4.最能表明设计要点的图片或照片:立体图。

手术器械消杀及使用的保护盒

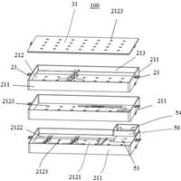
本实用新型适医疗器具技术领域,提供一种手术器械消杀及使用的保护盒,包括:盒体,包括多层层体,每层层体由多个侧板和一个底板构成,并且多个侧板和一个底板围合成具有开口的容置腔体;底板包括相互连接的支撑部和避让部;支撑部为一平面,支撑手术器械的手持部,避让部为向下倾斜的斜面,避让手术器械的操作部;并且在支撑部还设置有多个固定手持部的固定结构;并且多层层体在纵向上垂直排列;盖体,至少包括一上盖,盖设于多层层体中最上层的层体的开口处。借此,本实用...

一种内镜标本取样快速固定装置及应用方法

本发明涉及内镜标本取样快速固定装置及应用方法,包括固定架、活动架和滤纸卷;固定架上设置有第一固定臂、放卷单元和安装臂;第一固定臂上设置有第一固定件;活动架包括操作杆,操作杆的一端设置有纵向的驱动杆,驱动杆上设置有齿条和第二固定臂,第二固定臂上设置有第二固定件;第一固定臂和第二固定臂,其一上设置有第一裁剪部,另一上设置有第二裁剪部,第一裁剪部和第二裁剪部构成裁剪滤纸带的剪切单元;第一固定件和第二固定件构成固定单元,剪切单元位于固定单元与放...

一种液体存储管

本实用新型公开了一种液体存储管,包括:管体;盖体,所述盖体盖合封闭所述管体,所述盖体设有进出液孔;与所述盖体可拆卸连接的保护盖,所述保护盖封堵所述进出液孔。由于盖体的进出液孔,在使用时注入或抽取液体无需打开盖体,通过注射器穿过进出液孔为注入或抽取液体,可有效地避免挥发、污染、泄漏等问题,更方便、安全。

一种输液管排气装置

本实用新型公开了一种输液管排气装置,涉及医疗设备技术领域,包括第一夹体以及开设于第一夹体一侧外表面的弹簧槽,所述弹簧槽的一侧内表面固定连接有第一弹簧,所述第一弹簧的一端固定连接有滑板,所述滑板的一侧外表面固定连接有第一辊架,所述第一辊架的内表面转动连接有第一辅助辊,所述第一夹体的内表面转动连接有第二夹体。该输液管排气装置,与现有的普通输液管排气装置相比,该输液管排气装置使用时,可将第一夹体和第二夹体夹在输液管上,滑板可在弹簧槽内部滑动,...

一种输血监测装置

本实用新型公开了一种输血监测装置,包括卡座和限位组件,卡座的底部设有安装板,且安装板顶部错位开设有三组滑槽,用于控制安装板是否与卡座分离的限位组件安装于滑槽内部,限位组件包括按钮、推板、第一卡扣和复位弹簧,按钮的后端固定安装有推板,且推板的顶部固定安装有第一卡扣,推板的中部后方固定安装有复位弹簧,且推板通过复位弹簧与滑槽内部弹性连接,安装板的底部固定安装有蜂鸣器,且蜂鸣器的顶部电性连接有处理器。该输血监测装置,不仅可以快速进行拆卸分离,...

一种有序摆放型诊疗用品专用柜

本实用新型公开了一种有序摆放型诊疗用品专用柜,属于器械柜技术领域,包括柜体和存放盒,柜体的内部由上至下开设有若干抽屉槽,存放盒滑动连接在抽屉槽内部,抽屉槽的内侧顶端安装有紫外线杀菌灯,柜体的底端四个拐角处安装有万向轮,存放盒的正面开设有移动口,移动口内滑动连接有拿取盒,拿取盒的一端固定连接有内密封板,拿取盒的另一端固定连接有外密封板。本实用新型通过设置有存放盒,存放盒内设置有拿取盒,拿取盒的两端分布固定连接有内密封板和外密封板,便于在拿...

长续航的分区控温的高分子材料术后医用眼罩

本实用新型适用于医用眼罩技术领域,提供了一种长续航的分区控温的高分子材料术后医用眼罩,在术后康复周期内实现冰敷与热敷,这里以术后48小时内的冰敷说明。其包括当温度降低到预设温度时高分子材料的水由液态转化为固态的冷源件、基体、控温件以及隔热层;基体的内部形成包裹冷源件的腔体;冷源件朝向人体眼部区域的一侧划分为多个分区;对应每个分区设置单层控温件或者叠加设置有多层控温件;控温件可拆卸连接设置;隔热层,设置于基体远离人体眼部区域的一侧。借此,...

一种新型计量容器

本实用新型公开了一种新型计量容器,涉及计量容器技术领域,包括计量管。所述计量管的底部表面设置有转动轴,且转动轴的上端表面转动安装有转动杆一,所述转动杆一的表面贯穿安装有搅拌杆,且转动杆一的上端表面开设有菱形卡槽,所述菱形卡槽的内壁表面设置有插块,且插块的上端设置有转动杆二,并且转动杆二与菱形卡槽之间通过插块插动连接,计量管的下端安装有固定底座,且固定底座的表面中部开设有插槽,该新型计量容器,与现有的普通可调节的计量容器相比,通过在计量管...

眼周术后医用眼罩

本实用新型适用于医用眼罩技术领域,提供了一种眼周术后医用眼罩,包括:眼罩本体,其远离人体眼周区域的一侧设置有隔热层;冷源件,设置于所述眼罩本体朝向人体眼周区域的一侧;所述冷源件对应于各个人体眼周区域划分多个分区;每个所述分区由多个立体冷源体构成;多个所述立体冷源体朝向人体眼周区域的一侧所形成的曲面与相对应的人体眼周区域的轮廓形状相适配;多个控温件,分别与各个所述分区可拆卸连接,并且对应每个所述分区设置单层所述控温件或者叠加设置有多层所述...

一种一次性超弹虹膜拉钩

本实用新型提供的一种一次性超弹虹膜拉钩,涉及医疗器械技术领域,包括:推进器,所述推进器的输出端固定连通注射头,所述注射头的内部设置虹膜拉钩环,所述虹膜拉钩环的外表壁活动设置多个虹膜弯钩,所述推进器的内表壁活动插设推杆,所述推杆的输出端固定安装推头,虹膜拉钩环由于具备超弹特性,可以自行扩张,所以在患者角膜位置只要开一个小孔就可以将虹膜拉钩环植入到眼球,这样可以减少开孔数量,从而减少对患者的多次伤害,增加角膜愈合效率,同时操作方便,只需要将...

一种乳腺外科术后托架

本实用新型属于医疗设备技术领域,具体为一种乳腺外科术后托架,包括腰部固定带,所述腰部固定带外壁中部设有固定架,所述固定架上活动设有拼接插座,所述拼接插座内腔活动插接有伸缩调节柱,所述伸缩调节柱顶部固定连接有横架,所述横架与伸缩调节柱呈T型结构,所述横架内腔滑动设有横向移动座,所述横向移动座上表面活动安装有乳托,所述乳托上表面设有充气垫,所述充气垫上表面活动粘贴有无菌垫;本新型乳托在使用过程中可进行多方位的调节,可在使用过程中适合不同胸型...

一种改良的大鼠牙龈分离器

本实用新型属于拔牙设备领域,具体公开了一种改良的大鼠牙龈分离器,包括握杆;所述握杆两端设置有刀头结构,所述刀头结构包括刀把;所述握杆端部连接有刀把,所述刀把端部与刀杆连接,所述刀杆靠近刀把一端设置有止点提示区,刀杆另一端连接有刀刃,且握杆、刀把、刀杆和到刀刃为一体制成;本实用新型在使用时通过止点提示区的设置来提示分离深度已趋近牙根底部,继续分离至牙根底部后,旋转此牙龈分离器,使刀刃产生楔力,从而将目标牙分离,在此过程中,刀杆用以提供此牙...

一种提醒用餐时服药的智能筷子

本实用新型公开了一种提醒用餐时服药的智能筷子,包括筷柄和筷身,所述筷柄内部的顶部设置有LED灯,所述LED灯的左侧设置有复位按钮,所述LED灯的下方设置有安装底座,所述安装底座的内部设置有电池,所述LED灯底部的两侧均开设有安装槽,所述安装槽的内部设置有活动板,所述活动板远离LED灯的一侧设置有拉杆,所述拉杆的下方设置有固定弹簧,所述筷柄内部的底部设置有报警器。本实用新型将温感芯片插入到芯片嵌入槽中,患者在使用筷子时,筷子前端温度>40...

一种内瘘穿刺用恒温治疗垫

本实用新型涉及内瘘穿刺用恒温治疗垫,包括支撑垫片,支撑垫片的上表面设置有柔性垫层;支撑垫片的两侧分别转动设置有第一透明板和第二透明板,第一透明板的一端和第二透明板的一端磁吸连接;支撑垫片上设置有恒温发热丝和控制组件,第一透明板的下端和第二透明板的下端均设置有金属导热件;使用时,将患者的手臂置于柔性垫层上,转动第一透明板和第二透明板,并使得第一透明板和第二透明板的端部进行磁吸连接,形成一个包围患者手臂的套筒结构,再通过控制组件控制恒温发热...

一种防脱管的腹腔引流装置

本实用新型公开了一种防脱管的腹腔引流装置,涉及医疗器械技术领域,包括柔性板,所述柔性板表面的中部插接有引流管,所述引流管的一端通过轴承转动连接有衔接头,所述衔接头的一端螺纹连接有连接头,所述柔性板的两侧均固定连接有连接块,所述连接块的内部设置有约束带,所述柔性板外表面的两侧均嵌设有观察板,所述观察板的边缘处设置有遮挡布,所述衔接头的背面嵌设于柔性板的内壁,所述连接头的一侧插接有导管,该一种防脱管的腹腔引流装置,通过衔接头、引流管和连接头...

胃镜染色剂混合溶液配制设备

本实用新型涉及胃镜染色混合领域,尤其涉及一种胃镜染色剂混合溶液配制设备,该配制瓶可解决目前内镜染色溶液的配置,是工作人员手动添加,再手动摇匀,不能实现药液的连续定量供给和搅匀,费时费力,不利于提高工作效率的问题。包括底座,所述底座上方设有锥形的混合容器,所述混合容器左右两侧分别与竖向的支杆可转动连接,所述混合容器上方设有若干与混合容器可拆卸连接的其可以控制排液量的储液桶,每个储液桶上分别套设有固定环,相邻的固定环之间设有连接块,最外侧的...

一种无创呼吸机面罩用减压贴

本实用新型涉及医用器械的技术领域,具体涉及一种无创呼吸机面罩用减压贴,包括贴层主体,贴层主体的表面固定连接有底部凸起层和第一支撑层,第一支撑层的表面固定连接有第一接触层和第二接触层,第一支撑层位于底部凸起层的上方位置,贴层主体的背面固定连接有连接内层,支撑层的内部固定连接有夹层,贴层主体的内部固定连接有第二支撑层。通过底部凸起层达到对患者面部下巴位置实现贴合支撑的效果,提供支撑的同时有效的降低患者面部对应位置的受压,通过第一支撑层达到有...

一种口腔器械转运箱

本实用新型涉及口腔器械转运箱,包括上端开口的箱体和与箱体配合的上盖,还包括分隔盒,分隔盒上设置有可开启的盖体;箱体的内壁的中部设置有对分隔盒支撑定位的台阶;分隔盒内设置有多个隔间,隔间内设置有第一缓冲防撞件,盖体的上表面与箱体的上端开口边缘存在间距,且盖体的上表面设置有多个放置牙科手机的放置槽体,放置槽体内设置有第二缓冲防撞件;箱体的内壁上设置有排液孔和封盖排液孔的可拆除的塞体,排液孔位于台阶的下方;分隔盒的下表面设置有连通多个隔间的排...

内镜用新型套扎圈

本实用新型公开了一种内镜用新型套扎圈,包括手柄、推管、外套管、内钩、卡桩及套带,手柄远端与推管近端固定连接并且内部相通;外套管紧紧包绕在推管上且在一定推拉力下能沿着推管移动;内钩安装在手柄和推管内部,其近端与手柄上的一内钩控制环固定连接,其远端与推管内壁紧密贴合且能够被推出或者拉入推管内;卡桩内设有平行排列的卡齿,卡齿方向斜向近端;套带穿过卡桩内部,套带的近端是能钩在内钩上及用于牵拉的线圈结构,其远端为套扎圈,套带的中间为位于卡桩内部的...