企业详情

返回
南方医科大学深圳医院

 

科技成果

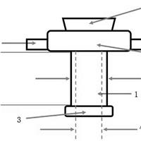
一种血氧脱离报警器

本实用新型涉及一种血氧脱离报警器,包括血氧仪本体与脱离检测组件;脱离检测组件包括组接块、以及设置在组接块中的电源与电检测件;组接块上设有供患者放置手掌的平面;组接块朝向血氧仪本体的一端设有凹槽,血氧仪本体插设在凹槽中;血氧仪本体上设有绝缘块,组接块朝向血氧仪本体的一端设有与绝缘块对应设置的插槽,当绝缘块脱离插槽时,电源与电检测件电连接。本申请的血氧仪本体与组接块组装于一起时,绝缘块插入插槽中,使得电源与电检测件断电,当血氧仪本体与组接块...

一种营养液输注装置

本实用新型公开了一种营养液输注装置,涉及医疗器械技术领域,其技术方案要点是:包括套网、盛装桶和盛装盖,所述套网套在盛装桶外部,所述盛装桶与盛装盖可拆卸连接,所述套网顶部两侧对称设有衔接扣,所述衔接扣顶部连接有背带;所述盛装盖内侧底部设有内螺纹,所述盛装盖底部设有硅胶密封圈;所述盛装桶口部设有外螺纹,所述盛装桶口部环绕外螺纹底部设有硅胶垫圈,所述盛装桶底部设有连通内外的输送软管,所述输送软管靠近盛装桶底部处设有流量阀,所述输送软管上设有蠕...

一种中医灸疗单元排烟系统

本实用新型公开一种中医灸疗单元排烟系统,包括密闭艾灸空间、排气组件和进气组件;密闭艾灸空间可一个或多个,每个密闭艾灸空间有至少一个用于排气的排气组件和至少一个用于进气的进气组件;排气组件包括可多档调节的换气扇和可折弯的排气管道;且进气组件能够匹配排气量进气,形成由进气组件朝向排气组件的气流。本实用新型系统基于特定的量效关系而设计,量是指排气组件的排气量,它可根据密闭艾灸空间的艾灸烟雾产生量的大小进行正向动态分档调节,效指使密闭艾灸空间内...

一种防压疮型吸氧管

本实用新型涉及吸氧管技术领域,尤其为一种防压疮型吸氧管,包括连接块,所述连接块下部外表面固定穿插连接有防滑块,所述连接块左端中部与右端中部对称穿插连接有分支管结构,且两个分支管结构前部外表面共同活动穿插连接有收紧块,所述分支管结构前端共同活动穿插连接有连接头,所述连接块后端左部外表面与后端右部外表面均固定穿插连接有鼻息管,所述连接块后端左部与后端右部均对称固定连接有夹紧机构。本实用新型所述的一种防压疮型吸氧管,通过在分支管结构中设置了套...

一种多功能的托架

本实用新型涉及医疗设备技术领域,具体为一种多功能的托架,包括底盘和支杆,所述底盘的上端焊接有支杆;所述支杆的外壁等距开设有多组连接槽,所述支杆的外部套接有连接套,所述连接套的右端连接有固定架,所述固定架的内部设置有垃圾桶;所述支杆的外壁等距开设有第一螺纹槽。本实用新型,通过在支杆的外壁等距开设有连接槽和第一螺纹槽,在支杆的外部套接有活动块和连接套,然后根据使用者的身高等调节使用的高度,使医护人员在拿取或者放置医疗用具的时候更加的舒适方便...

一种粪便检测试剂盒

本实用新型涉及粪便检测技术领域,尤其为一种粪便检测试剂盒,包括试管,所述试管外表面前部开有内外穿通的固定槽,所述固定槽内壁面固定连接有透明玻璃,所述试管外表面上部刻有一号外螺纹槽,所述试管外表面上部通过一号外螺纹槽螺纹连接有连接组件,所述连接组件上内壁面套接有套接组件,所述套接组件下端螺纹连接有收集组件,所述连接组件上端中部固定连接有固定块,所述固定块上端固定连接有旋转头。本实用新型所述的一种粪便检测试剂盒,通过设置连接组件,在试管的外...

降解EBNA1的PROTAC化合物及其制备方法和应用

本发明属于医药化学技术领域,具体涉及降解EBNA1的PROTAC化合物及其制备方法和应用。该PROTAC化合物能够有效降解癌细胞中的EBNA1蛋白,并具有抑制EBV阳性肿瘤细胞增殖、侵染的能力,对治疗EBV阳性肿瘤具有独特靶向性。且由于EBNA1是EB病毒蛋白,因此不会对正常人体蛋白产生伤害,这决定了降解EBNA1药物具有非常好的特异性以及应用价值。

一种治疗结肠炎的复方栓剂及其制备方法

本发明提供了一种治疗结肠炎的复方栓剂及其制备方法。该复方栓剂的活性成分由质量比为(3‑7):(1‑3)的黄藤素和地榆皂苷I组成,辅料包含环糊精、脂溶性基质和PEG800。本发明栓剂中的两种活性具有协同治疗作用,且活性成分能缓慢释放,对结肠炎有很好的治疗效果。

一种加压包扎带

一种加压包扎带,包括X型的固定带(1),所述固定带(1)中部连接有垫层(2),所述固定带(1)和所述垫层(2)之间,设置有冰/水袋(3)。所述固定带(1)和所述垫层(2)以包夹或包裹的结构固定所述冰/水袋(3)。所述垫层(2)为柱状或半柱状。所述垫层(2)为脱脂纱布。所述固定带(1)的上方两根带固定连接为一体的环状带。所述固定带(1)为弹力绷带。所述固定带(1)的下方两根带中,其中一根设置有公扣(4),另一根设置有多个母扣(5)。本实用...

一种多功能约束带

本实用新型涉及约束带技术领域,尤其为一种多功能约束带,包括橡胶带,所述橡胶带上下两端均设置有背胶磁条,所述橡胶带外表面中部套接有一号约束棉块,所述橡胶带左端套接有二号约束棉块,所述一号约束棉块和二号约束棉块下端均固定连接有磁性块,两个所述磁性块下端中部均开有条形槽;所述一号约束棉块包括一号棉体,所述一号棉体右端贯穿开有连接槽,所述一号棉体右端上部固定连接有橡胶板,所述橡胶板下端粘附连接有双面胶带,所述一号棉体右端上部固定连接有魔术贴勾面...

miR-760-3p在制备防治2型糖尿病药物中的应用

本发明公开了miR‑760‑3p在制备防治2型糖尿病药物中的应用,属于生物医药技术领域。本发明发现miR‑760‑3p通过增强胰岛素靶器官(肝脏、骨骼肌和脂肪)胰岛素信号转导,改善胰岛素抵抗,改善空腹和餐后血糖,对2型糖尿病防治具有药用价值。

一种新型造口袋

本实用新型公开了一种新型造口袋,涉及造口袋技术领域,包括袋体以及设置于袋体一侧外表面的两个引流机构,所述引流机构包括设置于袋体一侧外表面的座口,所述座口的内圆面固定连接有两个O型密封圈,所述座口的外圆面固定连接有固定座,所述固定座的一侧外表面固定连接有橡胶连接带,所述橡胶连接带的一端固定连接有盖体,所述盖体的外圆面开设有两个U型密封槽。该新型造口袋,与现有的普通造口袋相比,该新型造口袋上的两个座口上的盖体可打开,橡胶连接带起连接作用,防...

一种旋转式超声聚焦装置

本实用新型公开了一种旋转式超声聚焦装置,包括底座,所述底座的上端通过弹簧固定连接有伸缩弹盒,所述伸缩弹盒的上端固定连接有躺板,所述躺板的上端固定连接有软垫,所述躺板的下端固定连接有绑缚带,所述底座的上端固定连接有固定柱,所述固定柱的内部螺纹连接有旋转杆,所述旋转杆的上端固定连接有转轴架。该旋转式超声聚焦装置,通过伸缩弹盒、躺板、手架板、放脚板、头枕、软垫、绑缚带的组合设置解决了工作人员在使用的过程中因床板僵硬,对身体产生不适感的问题,该...

一种穿刺体位倚靠装置

本实用新型公开了一种穿刺体位倚靠装置,具体属于胸腔穿刺技术领域,包括主支撑板、“L”型连接板以及滑动固定机构;“L”型连接板的数量为两个,“L”型连接板滑动设置在主支撑板的两端;所述滑动固定机构包括滑动块、连接绳以及固定套环,所述主支撑板中部设有滑动槽,所述滑动块滑动安装在滑动槽上,滑动块中部设有供穿刺针通过的通孔,所述连接绳的一端和滑动块相固定,另一端和固定套环相固定,穿刺针筒与固定套环中空内部相适配。该穿刺体位倚靠装置使用后,可与患...

一种弹丸注射连接器

本实用新型涉及注射连接器技术领域,且公开了一种弹丸注射连接器,包括管体,所述管体的一端设置有用于逆流的瓣膜块,所述瓣膜块的表面固定安装有连接管,所述连接管的一端设置有三通管,所述三通管的一端通过贯通连接有软管,所述软管的一端设置有针头,所述三通管的另一端通过连接环贯通连接有注射管。该弹丸注射连接器,通过瓣膜块、三通管、软管、针头的设置,医护人员可以通过拉动第二连接杆从而带动第二橡胶塞进行移动从而时管体内部形成负压,使其可以通过针头对生理...

一种气管暂时性封堵装置

一种气管暂时性封堵装置,包括中空的管体(1)、设置在所述管体(1)上方的体外端环形底座(2)、设置在所述管体(1)下方的体内段凸起部(3),以及设置在所述体外端环形底座(2)侧面的绑带固定部(4);还包括圆锥台形的盖子(5),所述盖子(5)与所述体外端环形底座(2)配合连接,封堵管体。所述绑带固定部(4)为环形的耳状结构。还包括连接所述盖子(5)与所述体外端环形底座(2)的连接绳(6)。本实用新型的有益效果在于:1、可以使用绑带将本装置...

一种脑静脉取栓支架

本实用新型公开了一种脑静脉取栓支架,包括支架主体,支架主体的直径与脑静脉血管的直径相适配,近端段包括第一连接部以及连接在第一连接部远端的第一网篮,第一连接部上设有第一血栓入口,第一连接部的筋条向外径方向凸出;中部段由多个取栓环套依次连接而成,每个取栓环套均包括位于近端的第二连接部以及连接在第二连接部远端的第二网篮,第二连接部上设有第二血栓入口;远端段包括第三连接部以及连接在第三连接部远端的挡篮,第三连接部上设有第三血栓入口;本申请可用于...

腕部导航手术固定装置

1.本外观设计产品的名称:腕部导航手术固定装置。 2.本外观设计产品的用途:用于腕部导航手术的固定。 3.本外观设计产品的设计要点:在于形状。 4.最能表明设计要点的图片或照片:立体图。

一种一次性肿瘤化疗用护理袋

本实用新型涉及医疗用品技术领域,公开了一种一次性肿瘤化疗用护理袋,包括固定架,所述固定架的左端上部固定连接有卡架,所述固定架的上架壁中部穿插固定连接有固定管,所述固定管的上端中部穿插固定连接有接污机构,所述固定管的外表面下部活动连接有连接机构,所述固定架的下架壁中部固定连接有限位框,所述限位框内放置有护理袋本体,所述护理袋本体的上袋壁中部穿插固定连接有连接管,且连接管的外表面上部与连接机构固定连接。本实用新型所述的一种一次性肿瘤化疗用护...

一种防止试管晃动脱落的冰浴杯

本实用新型公开了一种防止试管晃动脱落的冰浴杯,涉及冰浴杯技术领域,包括转板,所述转板的表面上方开设有插口,所述插口的表面两侧均开设有收束腔,所述收束腔的内表面两侧均固定安装有导向杆,所述导向杆的表面滑动设置有滑块,所述收束腔的内表面两侧套设于导向杆表面均固定安装有推力弹簧,所述推力弹簧的一端与滑块固定连接,所述滑块的对向一端中部固定设置有夹持环,且夹持环设置为半弧形,所述插口的内部位于两侧夹持环之间设置有实验试管,且转板的中部贯穿固定设...